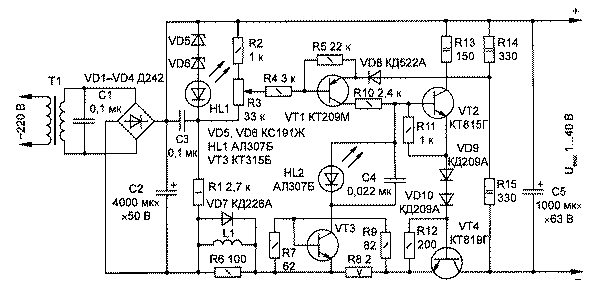
Описываемый блок питания собран из доступных элементов. Он почти не требует налаживания, работает в широком интервале подводимого переменного напряжения, снабжен защитой от перегрузки по току.
Предлагаемый блок питания позволяет получать выходное стабилизированное напряжение от 1 В почти до значения выпрямительного напряжения с вторичной обмотки трансформатора (см. схему). На транзисторе VT1 собран узел сравнения: с движка переменного резистора R3 на базу подается часть образцового напряжения (задается источником образцового напряжения VD5VD6HL1R1), а на эмиттер - выходное напряжение с делителя R14R15. Сигнал рассогласования поступает на усилитель тока, выполненный на транзисторе VT2, который управляет регулирующим транзистором VT4.
 
При замыкании на выходе блока питания или чрезмерном токе нагрузки увеличивается падение напряжения на резисторе R8. Транзистор VT3 открывается и шунтирует базовую цепь транзистора VT2, ограничивая тем самым ток нагрузки. Светодиод HL2 сигнализирует о включении защиты от перегрузки по току.
В случае замыкания включение режима ограничения тока происходит не мгновенно. Дроссель L1 препятствует быстрому нарастанию тока через VT4, а диод VD7 уменьшает бросок напряжения при случайном отключении нагрузки от блока питания.
Для регулирования тока срабатывания защиты в разрыв цепи между резисторами R7 и R9 необходимо включить переменный резистор сопротивлением 250 Ом, а его движок подключить к базе транзистора VT3. Значение тока можно регулировать в пределах от 400 мА до 1.9 А.
В источнике питания применим любой трансформатор с напряжением на вторичной обмотке от 9 до 40 В. Однако при малом значении напряжения сопротивление резисторов R1, R2, R9, R13-R14 следует уменьшить примерно в два раза и подобрать стабилитроны VD5, VD6 так, чтобы напряжение на резисторе R1 было примерно равно половине напряжения на конденсаторе C2.
Дроссель L1 содержит 120 витков провода ПЭЛ 0.6 мм, намотанных на оправке диаметром 8 мм. Транзистор КТ209М (VT1) заменим на КТ502 с любым буквенным индексов, КТ208(Ж-М), КТ209(Ж-М), КТ3107(А,Б). Вместо транзистора КТ815Г (VT2) можно применить любой серии КТ817 или другой аналогичной структуры с допустимым напряжением коллектор-эмиттер не менее напряжения питания. Транзистор VT4 - КТ803А, КТ808А, КТ809А, серий КТ812, КТ819, КТ828, КТ829 или любой мощный с допустимым током коллектора не менее 5 А и допустимым напряжением коллектор-эмиттер больше напряжения питания. Транзисторы VT2 и VT4 необходимо разместить на теплоотводах. Диоды VD1-VD4 - любые выпрямительные с допустимым прямым током больше 5 А и обратным напряжением не менее напряжения на вторичной обмотке трансформатора. Светодиоды можно применить любого типа.
| Узел ограничения тока лучше видоизменить. Для этого следует исключить резистор R7, а резистор R8 поставить переменный. Его сопротивление выбирают таким, чтобы при минимальном токе ограничения падение напряжения на нем составляло около 0.6 В. Рабочий ток резистора должен быть не менее максимального тока ограничения Imax, поэтому его мощность P следует определить по формуле: P=I2max*R8. Например, для интервала тока ограничения 0.2...2 А сопротивление переменного резистора должно быть 3 Ом, а мощность -12 В. |