В магазинах, киосках подземных переходов, на радиорынках можно купить так называемые адаптеры, оформленные в виде сетевой вилки. Большие пульсации выходного напряжения и его зависимость от тока нагрузки затрудняют питание от них какой-либо радиоэлектронной аппаратуры. Как стабилизировать выходное напряжение таких адаптеров и рассказывается в данной статье.
Для фиксирования "круглых" значений выходного напряжения проще всего использовать микросхемы КР142ЕН5 и КР142ЕН8 с соответствующими буквенными индексами [1], устанавливая их на теплоотводе в корпус адаптера и дополняя выходным конденсатором емкостью не менее 10 мкФ. Если же необходимо "нестандартное" напряжение, следует применить микросхему КР142ЕН12А [2].
|     | 
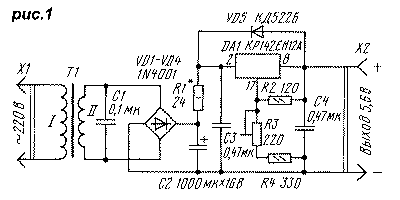
На рис.1 приведена схема зарядно-питающего устройства для портативного радиоприемника, в котором установлены четыре аккумулятора ЦНК-0,45. Конденсатор C1 устраняет высокочастотные помехи, возникающие в момент закрывания диодов выпрямительного моста. Выходное напряжение 5.6В устанавливают подстроечным резистором R3, а максимальный ток зарядки (примерно 150 мА) - подборкой резистора R1 при подключенной разряженной аккумуляторной батарее. Блок удобен тем, что зарядка аккумуляторов происходит быстро (4...6 ч), и перезарядить их невозможно [3,4].
 
Устройство собрано на основе адаптера RW-900 [5]. Чертеж печатной платы приведен на рис.2, а внешний вид блока - на рис.3. Использованы резисторы МЛТ: они установлены на плате вертикально, R3 - СП3-19а. Диоды VD1-VD4 и конденсатор C2 - от адаптера, остальные - RV-6. Конденсатор C4 можно установить также и любой оксидный, но его емкость должна быть не менее 10 мкA. Диод VD5 - практически любой выпрямительный или импульсный.
Микросхема DA1 установлена на ребристый теплоотвод размерами 10x18x38 мм от промышленного устройства. Для хорошего охлаждения в нижней и верхней стенках корпуса адаптера (ориентация при включении его в настенную розетку) просверлены по шесть отверстий диаметром 6 мм.
Если ограничение выходного тока не требуется, резистор R1 и конденсатор C3 можно исключить. В таком варианте максимальный выходной ток составлял 0.5А при напряжении пульсаций около 1 мВ. Подобрав сопротивления резисторов R3 и R4, можно можно собрать стабилизатор на любое выходное напряжение в пределах, допустимых трансформатором адаптера.
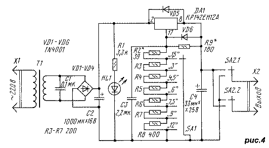
Используя универсальный адаптер, можно изготовить стабилизированный блок питания с переключаемым выходным напряжением. Схема доработанного адаптера "FIRST ITEM NO:57" приведена на рис.4. Вторичная обмотка трансформатора Т1 использована полностью, ее отводы заизолированы. Диоды VD5, VD6 - защитные [2].
 
Диоды VD1-VD4, конденсатор C2, светодиод HL1 и переключатели SA1 и SA2 - от адаптера. Резисторы R3-R8 не обязательно должны иметь указанные сопротивления, они могут отличаться в любую сторону в 1.5 раза. Важно, чтобы сопротивления R3-R7 были равны между собой с точностью 1...2%, а сопротивление R8 было вдвое большим, поскольку ими определяется погрешность установки выходных напряжений.
Все элементы, кроме трансформатора Т1, установлены на печатной плате, чертеж которой приведен на рис.5, а внешний вид устройства - на рис.6.
Для сверления крепежных отверстий и отверстий для установки переключателей и светодиода удобно применить печатную плату от используемого адаптера как трафарет. Чтобы выпаять переключатель из платы и при этом не повредить ее, необходимо, прогревая одновременно несколько соседних контактов паяльником, изгибать плату. Переходя постепенно к другим контактам, можно выпаять переключатель целиком.
 
Микросхема DA1 установлена на медную пластину размерами 52x38x1 мм, выполняющую роль теплоотвода. Пластина имеет отбортовку для крепления на плате, а по ее периметру просверлены отверстия диаметром 4 мм для обеспечения вентиляции. Для тех же целей в верхней и нижней стенках корпуса просверлено по восемь отверстий диаметром 6 мм.
Налаживание устройства заключается в установке выходных напряжений без нагрузки подборкой резисторов R2 и R9. Резистор R9 можно сразу поставить указанного на схеме сопротивления, а параллельно ему и вместо R2 впаять переменные резисторы сопротивлением 10 кОм и 56 Ом соответственно. Резистором, подключенным параллельно R9, устанавливают выходное напряжение 12 В, резистором R2 - 1.5 В. Поскольку эти установки взаимосвязаны, их надо повторить несколько раз. После этого устанавливают постоянные резисторы с подобранными сопротивлениями, причем резистор параллельно R9 подпаивают со стороны печатных проводников.
Стабилизированный адаптер обеспечивал выходной ток до 200 мА. При напряжении 12 В ток ограничен появлением пульсаций, при меньших - температурой микросхемы DA1. Увеличением поверхности теплоотвода можно существенно повысить выходной ток при малых выходных напряжениях.
 
Литература
1. Щербина А., Благий С. Микросхемные стабилизаторы серий 142, К142, КР142. - Радио, 1990, #8, с. 89, 90; #9, с. 73
2. Нефедов А., Головина В. Микросхемы КР142ЕН12. - Радио, 1993, #8, с. 41
3. Нечаев И. Ускоренная зарядка аккумуляторов. - Радио, 1995, #9, с. 52, 53
4. Алексеев С. Зарядные устройства для Ni-Cd аккумуляторов и батарей. - Радио, 1997, #1, с. 44-46; #2, с. 44-46
5. Бирюков С. Сетевые адаптеры. - Радио, 1998, #6, с. 66, 67