Диодная сборка КД638АС

    Сборка мощных кремниевых диодов КД638АС изготовлена по эпитаксиальнно-планарной технологии. Сборка составлена из двух диодов, имеющих общий вывод катодов. Прибор предназначен для применения в импульсных источниках питания и других узлах аппаратуры широкого применения.

 KD638AC package view     
 график зависимости постоянного обратного тока от постоянного обратного напряжения

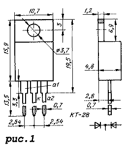
    Диодная сборка оформлена в пластмассовом корпусе КТ-28 с жесткими пластинчатыми выводами (рис.1), масса прибора - не более 2.5 г. Зарубежный аналог - BYV16-200T.

Основные технические характеристики при Tокр.ср.=25°C (для одного диода)
Постоянный обратный ток диода при обратном напряжении 200В, не более 5 мкА
Постоянное прямое напряжение диода при прямом токе 8А, не более 1.25 В
Время обратного восстановления диода при прямом токе 1А, обратном напряжении 30В, скорости уменьшения прямого тока 50А/мкс и обратном токе, равном 0.25 от его максимального значения, не более 35 нс
Тепловое сопротивление, переход-корпус для сборки в целом, не более 1.3 °C/Вт


Предельно допустимые значения
Наибольшее постоянное обратное напряжение диода 200 В
Наибольший средний прямой ток диода при одновременной работе второго диода в том же режиме 8 А
Наиболяшая температура перехода 150 °C
Границы рабочего интервала температуры окружающей среды -60...+100 °C
Допустимое значение статического потенциала* 500 В
*IV степень жесткости по ОСТ 11073.062

    Не разрешается эксплуатация диодов при предельных значениях двух и более параметров. При монтаже сборки на плату допускается не более чем двухразовое изгибание выводов на расстоянии не менее 5 мм от края корпуса под угол 90 град. с радиусом закругления не менее 1.5 мм (изгибать выводы в плоскости корпуса не допускается). При этом необходимо принять меры, исключающие передачу усилия на корпус.

 вольт-амперные характеристики при различных значениях температуры корпуса  зависимость емкости диода от постоянного обратного напряжения  температурная зависимость пробивного напряжения

    Расстояние от корпуса до места лужения и пайки выводов не должно быть меньше 5 мм. Допустимое число перепаек выводов сборки при проведении монтажных и регулировочных операций равно трем.

    С целью уменьшения теплового сопротивления корпус-теплоотвод рекомендуется применять теплопроводящую пасту, например, КПТ-8 (ГОСТ 19783). Запрещается припаивать теплоотводящую пластину сборки к теплоотводу. В случае необходимости изолировать сборку от теплоотвода требуется учитывать повышение теплового сопротивления переход-теплоотвод, вызванное изолирующей прокладкой (или пастой).

    Графические зависимости параметров диодной сборки КД638АС показаны на рис.2-5. На рис.2 изображены зависимости постоянного обратного тока от постоянного обратного напряжения, а на рис.3 - вольт-амперные характеристики при различных значениях температуры корпуса. Зависимость емкости диода от постоянного обратного напряжения показана на рис.4, а температурная зависимость пробивного напряжения - на рис.5.