Микросхема TDA8362 в 3УСЦТ и других телевизорах Микросхема TDA8362 в 3УСЦТ и других телевизорах

    Во многих семьях до сих пор эксплуатируются телевизоры устаревших марок - УЛЦТ, УПИМЦТ и даже 3УСЦТ. Их владельцы, имея опыт радиолюбительского конструирования, хотели бы наделить принадлежащие им аппараты рядом возможностей, присущих новым современным моделям, улучшить качество принимаемого изображения и некоторые параметры. В данной статье рассказывается, как можно усовершенствовать старые телевизоры, используя микросхему TDA8362.

    Массовое производство цветных телевизоров в нашей стране развернулось в 1973 г. с выпуском унифицированной лампово-полупроводниковой модели УЛПЦТ и в дальнейшем - УЛПЦТ(И), на смену которым пришла серия УПИМЦТ и в дальнейшем - 2УСЦТ и 3УСЦТ. Их годовой выпуск в лучшие годы превышал два миллиона штук. И хотя в 1991г. появились аппараты четвертого поколения, основную массу производства до последних лет составляли телевизоры 3УСЦТ. Неудивительно, что после распада СССР у жителей России осталось более 40 млн. цветных телевизоров преимущественно первого-третьего поколения. Все они, с точки зрения современного пользователя, считаются устаревшими и морально, и физически.

    Если вопрос о моральном старении аппаратов ясен, то о физическом их старении можно судить, если вспомнить, что возраст сохранившихся у населения телевизоров УЛПЦТ достигает 20...25 лет (их производство прекращено в 1978г.). Телевизоров же УПИМЦТ (возраст 15...20 лет) насчитывается 5-6 млн. Наконец, парк 3УСЦТ составляет ныне 20-25 млн. экземпляров с возрастом от 5 до 20 лет. По существовавшим ранее нормам срок службы телевизора был равен 15 годам. С этой точки зрения все аппараты УЛПЦТ, УПИМЦТ и часть 3УСЦТ уже отслужили свое и должны вроде бы уступить место новым.

    Однако и в журнале "Радио" и в другой литературе до сих пор появляются статьи с предложениями по модернизации старых телевизоров. И это хорошо. О продлении их жизни можно и нужно думать. Это нужно и потому, что финансовое положение многих семей не позволяет им заменить имеющийся телевизор новым. К тому же не менее 10-15 млн. аппаратов 3УСЦТ не отработали положенного срока и еще могут послужить своим владельцам. Все это позволяет считать, что проблема модернизации телевизоров с целью продления ресурса, повышения надежности и введения новых функций при условии неболшьших затрат (не более 20% от стоимости нового аппарата) - весьма актуальна и остается такой еще не один год.

    Одним из путей решения этой проблемы можно назвать введение в устаревшие телевизоры современной элементной базы. Но прежде чем перейти к конкретным предложениям, обратимся немного к истории.

    Интегральные микросхемы в отечественных телевизорах впервые были применены в 1976г. в одной зи моделей УЛПЦТ(И), в которой был использован модуль цветности БЦИ на микросхемах серии К224. Более широкое применение микросхемы нашли два года спустя в телевизорах УПИМЦТ, когда электронная промышленность наладила массовое производство серии К174. Первые ее приборы имели низкую степень интеграции и нуждались в большом числе внешних радиокомпонентов. Так, десять десять микросхем в блоке обработки сигналов (БОС) телевизора УПИМЦТ сопровождались 440 различными деталями. По современным меркам, это слишком много для радиоканала и канала цветности.

    В публикуемой здесь таблице указаны сведения о числе деталей в блоках радиоканала, синхронизации, цветности и выходных видеоусилителях телевизоров разных поколений. Из нее следует, что положение немного улучшилось с появлением телевизоров 2УСЦТ и 3УСЦТ, в которых были применены более совершенные микросхемы серии К174.

Поколение телевизоров Число микросхем Число внешних элементов Число точек настройки
Всего В том числе
транзисторов резисторов подстроечных резисторов постоянных конденсаторов колебательных контуров
УПИМЦТ
10
440
35
195
17
155
22
39
2УСЦТ, 3УСЦТ
6-7
300-330
16-21
150-155
13-18
95-125
7-8
21-26
4УСЦТ
6
280-320
8-9
100-130
10-12
105-120
10-12
20-24
5-6 поколения
с TDA8305/4504
с TDA8362

5-6
3-6

340-350
160-170

24-25
3-14

155-160
70-75

6-7
4-5

125-130
60-70

12
1

18-19
5-6
3УСЦТ с МРКЦ
7
180
7
85
7
78
1
9

    Однако число навесных деталей оставалось по-прежнему большим, что снижало эксплуатационную надежность этих наиболее массовых телевизоров. Надежность снижало также большое число органов регулировки для настройки при производстве и после ремонта и наличие двух десятков пар межблочных соединителей с сотней контактов. Не случайно в телевизорах пятого-шестого поколений четко проявилась тенденция к использованию микросхем высокой степени интеграции, позволяющих при расширении перечня функций сохранить, а то и уменьшить как их число, так и состав внешнего обрамления, уменьшить число элементов (точек) регулировки. От многочисленных соединителей теперь избавляются, отказываяст от кассетно-модульной конструкции и возвращаясь к моноблочному шасси - основе первых промышленных и любительских телевизоров. Там, где от соединителей отказаться нельзя, применяют их новые, более надежные модели.

    Что касается микросхем, то в телевизорах четвертого-пятого поколений тракты радиоканала и цветности по-прежнему содержат пять-шесть корпусов и требуют такого же числа навесных деталей, что и модели третьего поколения. На этом фоне выделяются в лучшую сторону многофункциональные микросхемы фирмы Philips, позволяющие в телевизорах шестого поколения решать схемотехнические задачи более экономно и реализовать радиотракт и тракт цветности на трех корпусах при сокращении внешнего обрамления вдвое. К ним относятся БИС TDA8362, TDA8375, TDA8396, из которых наиболее широко используют первую. Ее применяют не только ведущие зарубежные фирмы (например, телевизор Panasonic-TX-21S и др.), но и в СНГ ("Горизонт-CTV-655", "Электрон-ТК-570/571", "TVT-2594/2894"). В некоторых моделях используют не три, а шесть микросхем, что обьясняется применением интегральных видеоусилителей, рассеивающих меньшую мощность и уменьшающих число транзисторов с 14 до 3.

    Безусловно, микросхема TDA8362 может быть использована и в телевизорах устаревших моделей при их модернизации (замене блоков радиоканала, цветности и синхронизации более совершенными).

    Подробное описание структуры и рабочих параметров микросхемы TDA8362 дано в [1] и [4]. Она обеспечивает обработку сигналов черно-белого и цветного телевидения как по промежуточной частоте (ПЧ), так и поданных в форме цветоразностных и цветовых сигналов, кодированных по системам SECAM, PAL, NTSC. При этом сигналы ПЧ могут иметь, как обычно, применяемую негативную модуляцию, так и используемую во французском стандарте L позитивную. Видеосигналы могут быть представлены в форматах VHS и S-VHS. Кроме того, она обрабатывает частотно-модулированные сигналы звука по стандартам M (4.5 МГц), B, G, H (5.5 МГц), I (5.996 МГц), D, K, L (6.5 МГц) и аудиосигналы ЗЧ, а также сигналы строчной и кадровой синхронизации (последняя на частотах 50 и 60 Гц) при числе строк в кадре в пределах 488...722.

    Реализация всех этих функций в одной микросхеме достигнута с использованием обычных биполярных транзисторов для обработки аналоговых сигналов любых частот и транзисторов структуры МОП для решения задач цифровыми методами.

    Существует несколько модификаций микросхемы, различающихся перечнем реализуемых функций и цоколевкой. В полном обьеме все указанные функции обеспечиваются в TDA8362A, но модификации TDA8362 и TDA8362N3 значительно дешевле, хотя обладают несущественными отличиями.

    Анализ возможностей микросхемы TDA8362 показывает, что их применение в полном обьеме в наших условиях и не требуется. Многие сочтут излишеством возможность обработки сигналов NTSC, поскольку эфирные программы, кодированные по системе NTSC-M-3.58 недоступны нашему зрителю (за исключением живущих на Чукотке и юге Сахалина). Обработка сигналов системы NTSC-4.43 может понадобиться лишь при просмотре записей на видеокассетах и видеодисках, произведенных в США, Японии и Корее. Безусловно, не требуется и прием сигналов в стандартах H, I и сигналов с положительной модуляцией стандарта SECAM-L. Однако работа по указанным стандартам (H, I, SECAM-L, NTSC-4.43) уже предусмотрена в микросхеме TDA8362 и отказаться от них нельзя, можно только их не использовать.

    Вероятно, из перечисленных соображений в [2] рассмотрена типовая схема включения модификации TDA8362A для обработки лишь сигналов систем SECAM, PAL и стандартов B, G, D, K. В согласии с ними и предлагается радиолюбителям модуль радиоканала, цветности и синхронизации (МРКЦ) на микросхеме TDA8362, адаптированный для использования в телевизоре 3УСЦТ любой модификации. Будут также даны рекомендации для желающих по введению в модуль возможности приема сигналов системы NTSC-4.43 и использованию модуля в телевизорах других типов.

структурная схема модуля МРКЦ

    Модуль МРКЦ заменяет в телевизорах 3УСЦТ модули радиоканала (А1) и цветности (А2) с субмодулями СМРК (А1.3), УСР (А1.4), СМЦ (2.1). кассетно-модульная конструкция шасси телевизоров 3УСЦТ упрощает работу по замене модулей, сводя ее к снятию двух плат и установке на их место новой. Модуль питается от имеющихся в телевизоре источников напряжений 12 и 220В. Потребляемый ток по цепи 12В равен 160мА (вместо более 500мА у заменяемых модулей), что благотворно сказывается на работе выпрямителя в модуле питания телевизора и снижает потребляемую мощность.

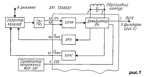
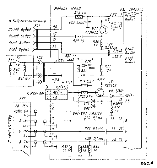
    Рассмотрим принципиальную схему модуля, начиная с его радиотракта. Он включает в себя селекторы каналов, предварительный усилитель с фильтром на ПАВ, УПЧИ, демодулятор ПЧ, устройства АПЧГ и АРУ. Структурная схема, показывающая взаимосвязь этих блоков, изображена на рис.1. На рис.2 представлена принципиальная схема тракта. В зависимости от типа устройства выбора программ (УВП) на схеме показаны варианты подключения блоков УСУ-1-15 (СВП-4/5/6) и синтезатора МСН-501 (нарисовано утолщенными линиями).

принципиальная схема модуля МРКЦ

    Чувствительность микросхемы TDA8362 (DA1 на рис.2) на входе (выводы 45 и 46) равна 100 мкВ, а по существующим нормам чувствительность телевизора в поддиапазонах I, II должна быть не хуже 40 мкВ на антенном входе. Следовательно, коэффициент передачи (усиления) Kу в цепи от антенного входа до входа микросхемы должен быть не менее 8 дБ. Цепь содержит селектор каналов СК-М-24 (Kу=15 дБ) и фильтр на ПАВ ZQ1 (Kу < -25 дБ). Это означает, что при прямом подключении селектора к фильтру входная чувствительность телевизора будет ниже нормы не менее чем на 18 дБ (примерно 320 мкВ), что недопустимо. Для ее сохранения включен предварительный усилитель на транзисторе VT1 c Kу > 20 дБ, позволяющий с небольшим запасом компенсировать затухание в фильтре ZQ1.

    Отметим попутно, что Kу современного всеволнового селектора UV-917 фирмы Philips равен не менее 38 дБ при очень низком уровне шумов, что позволяет напрямую соединить его с фильтром ПАВ и обеспечить при этом повышенную вдвое чувствительность телевизора. Такой селектор использован в телевизоре "Горизонт - CTV-655".

    Полосовой фильтр ZQ1 должен удовлетворять следующим требованиям: работать на несущей ПЧ изображения 38 МГц, иметь широкий горизонтальный участок АЧХ ("полку") в полосе 31.5...32.5 МГц и симметричный выход. Этим требованиям отвечают фильтры на ПАВ КФПА-1007, КФПА-2992, КФПА-1040А. Широко распространенные фильтры КФПА-1008, К04ФЕ001 имеют узкую "полку" и не обеспечат приема по стандартам B, G. Фильтр ФПЗП9-451, используемый в телевизорах 3УСЦТ, имеет несимметричный выход, что требует введения между ним и микросхемой симметрирующего каскада на двух транзисторах.

    После усиления в УПЧИ (см. рис.1) сигналы ПЧ в демодуляторе преобразуются в полный цветовой телевизионный видеосигнал (ПЦТВ). Демодулятор содержит узел инверсии белого пятна (ограничения выбросов ПЦТВ, вызываемых помехами) на уровне средней яркости, что улучшает качество изображения, предотвращая появление помех на экране, а также резкое изменение амплитуды ПЦТВ и входящих в него синхроимпульсов.

    Колебательный контур L3C18 (см. рис.2) служит общим образцовым контуром для демодуляторов ПЧ и устройства АПЧГ, что уменьшает число элементов настройки в модуле. Напряжение АПЧГ (UАПЧГ) на контрольной точке X1N при захвате сигнала может изменяться в пределах 0.5...6.3 В и при точной настройке контура на частоту 38 МГц и селектора на несущую изображения равно 3.5 В.

    При использовании УВП типа УСУ, СВП напряжение UАПЧГ поступает на селекторы по цепи R12R13R18C10R7C11, где оно, складываясь с напряжением предварительной настройки UПН, приходящем с УВП через резистор R8, формирует напряжение настройки селекторов UН. В случае применения синтезатора напряжений МСН-501 сложение напряжений UАПЧГ с UПН и формсирование UН происходит в синтезаторе. Напряжение UАПЧГ подано на него по цепи R12R13R105C23, а полученное значение UН проходит на сеоекторы с контакта 6 разьема X2 (A13) по цепи R8C11R7C10.

    Вернемся к образцовому контуру L3C18. Для каждого телевизора характерна такая особенность: в процессе предварительной настройки на какую-нибудь программу при невыключенном устройстве АПЧГ оказывается, что полоса захвата несущей изображения при подходе к ней со стороны низких частот оказывается шире такой же полосы при настройке со стороны более высоких частот. Это явление возникает не от плохой регулировки АПЧГ. Оно обьясняется тем, что несущая изображения при правильной настройке селекторов расположена на склоне АЧХ полосового фильтра ПЧ (безразлично, будет это фильтр на ПАВ в телевизорах 3УСЦТ или фильтр сосредоточенной селекции в УПИМЦТ). Наклон АЧХ приводит к асимметричности сигнала, подаваемого на демодулятор устройства АПЧГ, особенно заметной при слабом входном сигнале, когда гладкий на входе селектора каналов уровень шумов становится заметно асимметричным на входе системы АПЧГ. В результате возникает сдвиг напряжения UАПЧГ от правильного значения, что вызывает расстройку приемника и указанную асимметричность полосы захвата. При использовании микросхемы TD8362 приняты меры к ликвидации такого деекта включением цепи C19R19.

    Напряжение UАРУ подано на селекторы каналов с вывода 47 микросхемы через цепь C13R11C12R10R9. Его начальный уровень устанавливают подстроечным резистором R15.

    С вывода 4 микросхемы на контакт 2 соединителя X10 (A13) поступает сигнал опознавания синхронизации (СОС), используемый в синтезаторе напряжений для управления системой автоматической настройки на программы. Напряжение сигнала UСОС равно нулю, если на входе микросхемы нет импульсов синхронизации. Напряжение UСОС равно 6 В, если на вход приходит сигнал системы NTSC-3.58, или * В, если принимается "цветной" или "черно-белый" сигнал систем SECAM, PAL, NTSC-4.43.

структурная схема работы TDA8362

    С вывода 7 микросхемы ПЦТВ поступает на набор внешних фильтров, где он разделяется на видеосигнал и ЧМ сигнал звука. Полосовые фильтры ZQ2, ZQ3 выделяют полосы частот, в которых размещены ЧМ сигналы звукового сопровождения (5.5 +/- 0.05 МГц в стандартах B, G и 6.5 +/- 0.05 МГц в стандартах D, K). Через вывод 5 микросхемы они, как показано на рис.3, проходят на демодулятор, а затем на коммутатор аудиовходов. Демодулятор ЧМ звука имеет систему фазовой автоподстройки частоты (ФАПЧ), обеспечивающую автоматическую настройку на любой стандарт звукового сопровождения.

    Режекторные фильтры ZQ4, ZQ5 (см. рис.2), очищая ПЦТВ от полос, занимаемых ЧМ сигналами звука, превращают его в видеосигнал, который через вывод 13 микросхемы поступает на коммутатор видеовходов (см. рис.3). На рис.3 показан также коммутатор R, G, B, его работу рассмотрим дальше.

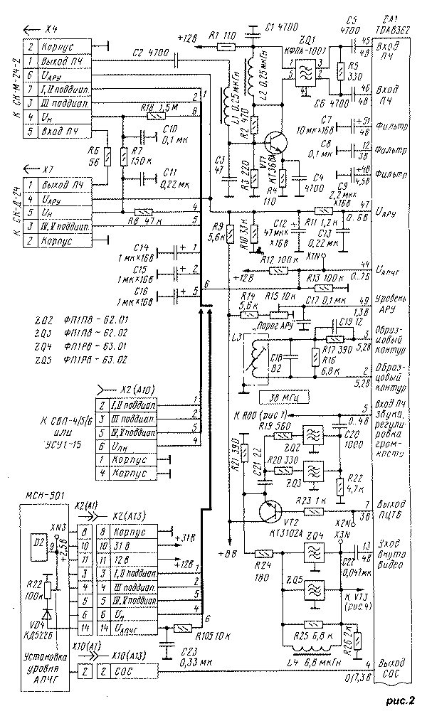
    На коммутаторы аудио- и видеовходов приходят также сигналы с внешних источников (видеомагнитофона, проигрывателя видеодисков, игровой видеоприставки). Управление коммутаторами (функция AV/TV) обеспечивается подачей соответсвующего напряжения на вывод 16 микросхемы: меньше 0.5 В для включения эфирной программы (TV); 3.5...5 В для включения внешней программы формата S-VHS (AV); 7.5...8 В для работы от внешнего источника формата VHS (AV). Если напряжение на выводе 16 отсутствует, микросхема работает в режиме TV.

схема подключения внешних источников к МРКЦ

    Напомним, что недавно появившиеся видеомагнитофоны формата S-VHS (например, Philips-VR969) обеспечивают более высокое качество изображения (400-430 линий против 230-270 линий у видеомагнитофонов формата VHS и 320...360 линий у эфирных программ). Достигается это за счет размещения цветовой компоненты не в обычной полосе 3...4.7 МГц ПЦТВ, а в полосе 5.4...7 МГц. При воспроизведении такие видеомагнитофоны подключены по трем цепям: аудиосигнал - на вывод 6 микросхемы, сигнал яркости S-VHS-Y - на вывод 15, сигнал цветности S-VHS-C - на вывод 16.

    Если имеется только один внешний источник видеосигналов формата VHS, то он подключен к МРКЦ так, как показано на рис.4. При использовании синтезатора МСН сигнал AV/TV приходит от него через разьем X7 (A13). Если же применены блоки УСУ, СВП, то получать сигнал AV/TV придется вручную переключателем SA1 на два положения, устанавливаемым в удобном месте корпуса телевизора. В обоих случаях в режиме TV формируется напряжение не более 0.4 В (или оно отсутсвует), а в режиме AV - не менее 10 В. Последнее передается на вывод 16 микросхемы через ключ на транзисторе VT4.

    Тип входных и выходных соеденителей XS1, XS2 выбирают в зависимости от типа их ответных частей в используемом источнике сигналов.

    Если имеется несколько источников видеосигналов, то их подключают к МРКЦ через согласующее устройство. Подробная информация по его построению дана в [3].

Литература

1. Лукин Н., Корякин-Черняк С., Янковский С. Узлы и модули современных телевизоров. Серия "Ремонт", вып. 3 - Киев-Москва: Наука и техника & Солон, 1995.

2. Хохолов Б. Видеопроцессор TDA8362A в cовременных телевизорах. - Радио, 1997 #6, с.6-8; #7, с.16, 17, 23.

3. Войцеховский Д., Пескин А. Телевизор-Монитор. - Радио, 1992, #4, c.20-25; 1993, #1, с.46; 1994, #3, с.43; 1995, #5, с.45; #6, с.44