Сенсорный регулятор мощности на микросхеме К145АП2


Юрий Каранда, г.Изюм Харьковской обл.

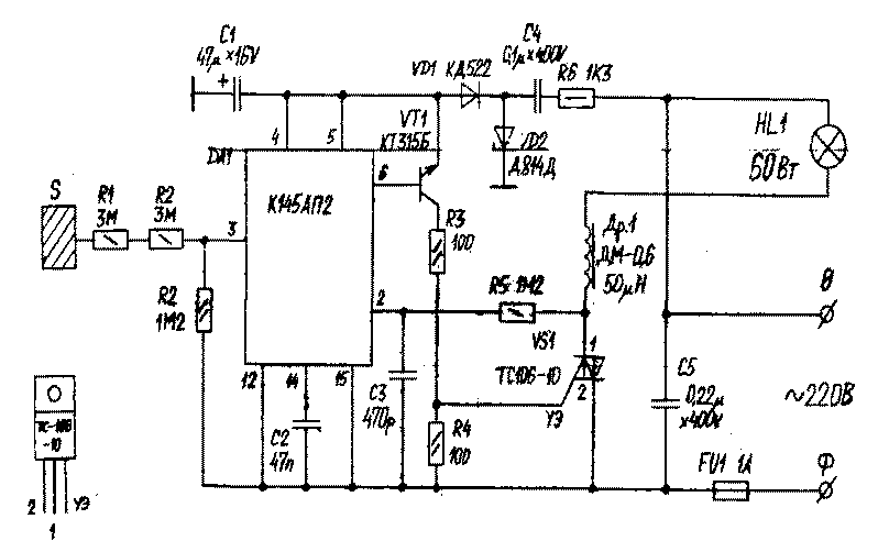
Устойчивость и надежность работы «Сенсорного регулятора мощности на микросхеме К145АП2» («РХ» №3/99, с.35) можно повысить, немного изменив и упростив схему. Для повышения безопасности Юрий рекомендует резистор R1 (по нумерации исходной схемы) заменить на 2 включенных последовательно по 3 МОм. Работоспособность не ухудшается, если в исходной схеме конденсатор С1 и резистор R3 закоротить, а защитный стабилитрон VD1 «выбросить» - внутри ИМС есть соответствующая встроенная защита. Перенеся стабилитрон VD2 в общую точку VD3/C5, можно добиться правильной работы выпрямителя, питающего ИМС, а вдобавок появляется возможность вместо высоковольтного КД209Б в качестве VD3 применить копеечный низковольтный КД521 или КД522. В качестве дросселя Др.1 Юрий рекомендует применять стандартный ДМ 0,6 на 50 мкГн, а симистора - ТС106-10, обращая внимание, что цоколевка последнего в справочном листе журнала «Радио» была указана неверно.

bel-x4-1.gif