ДВУХТОНАЛЬНАЯ ЭЛЕКТРОННАЯ СИРЕНА


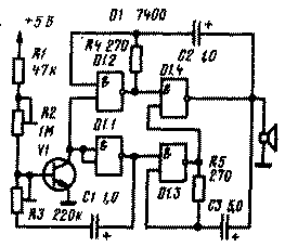
На рис. 1 приведена принципиальная схема электронной сирены, собранной на одном транзисторе и микросхеме. По существу, сирена состоит иэ трех генераторов с различными временными характеристиками. Транзистор VI, элемент D1.1, конденсатор C1 и резисторы R1 - RЗ образуют генератор с тактовой частотой около 1 Гц. Желаемая частота повторения сигналов может быть подобрана подстроечными резисторами R2 и R3.

cif-297-1.gif
Puc.1

Элемент D1.3, резистор R4, конденсатор С2 и элемент D1.4 составляют второй генератор с частотой генерации около 1000 Гц. И, наконец, элемент D1.3 вместе с резистором R5, конденсатором СЗ и элементом D1.4 образуют третий генератор, но уже более низкой частоты, около 200 Гц. Оконечной нагрузкой сирены является громкоговоритель В1, подключенный к выходу элемента D 1.4.

В схеме можно применить микросхему 155ЛА3 и любой маломощный кремниевый п-р-п транзистор, например КТ315Б.


Elektrotehnicar (СФРЮ). 1976, N 7-8