УЛЬТРАЗВУКОВОЙ ПРЕОБРАЗОВАТЕЛЬ МУП-1


Н. БОРОДУЛИН, В. МОРОЗОВ, Е. КОПТЕВ, г.Москва

Для эхолокации и дистанционного управления на ультразвуковых частотах необходимы эффективные преобразователи-излучатели и приемники ультразвука. На рис.1 показаны внешний вид и размеры одного из таких преобразователей - МУП-1, который выпускается в настоящее время серийно.

Технические характеристики преобразователя:

Частота   максимума излучения fми (при напряжении возбуждения 3 В)	38±5 кГц
Модуль комплексного входного сопротивления |Zp|
( при напряжении возбуждения 3 В)					не более 1,8 кОм
Частота максимальной чувствительности в режиме приема fмп 
(при сопротивлении  нагрузки Rн=3,9 кОм)				40±5 кГц 
Чувствительность   (при Rн=3,9 кОм)				3,5±0,5 мВ/бар
Ширина    полосы пропускания (по уровню 0.7)			1,1±0,1 кГц
Максимальное  входное напряжение сигнала в режиме
передачи на частоте fмп						5 В
Масса преобразователя						10 г
Интервал   рабочей температуры					-10+40 °С
Атмосферное давление, при котором преобразователь
сохраняет свои параметры						730 ..800 мм рт. ст
spr-uz-1.gif
Puc.1

Основу преобразователя составляет биморфный пьезокерамический диск, прикрепленный по внешней окружности к эластичной опорею В центре диска приклеен конусообразный резонатор из алюминиевой фольги, повышающий эффективность преобразования энергии «Заземляемый» металлический корпус защищает преобразователь от электрических помех.

На рис. 2 изображены зависимости от частоты модуля входного сопротивления |Zp| и чувствительности uхx преобразователя при сопротивлении нагрузки Rн->оо. Модуль входного сопротивления имеет два экстремальных значения: на частоте fми - минимум входного импеданса, на частоте fa (антирезонансная частота) - максимум входного импеданса. Чувствительность имеет один максимум на частоте, близкой к частоте антирезонанса fа.

spr-uz-2.gif
Puc.2

Промежуток между частотами fми и fв составляет в среднем около 2 кГц. При уменьшении сопротивления нагрузки Rн частота, при которой чувствительность преобразователя максимальна, понижается, стремясь в пределе к fми при Rн ->0.

Вследствие нелинейности свойств пьезокерамики резонансная частота fми несколько уменьшается при увеличении входного напряжения Одновременно увеличивается и входное сопротивление. На рис.3 приведены амплитудные характеристики преобразователя по резонансной частоте fми и резонансному значению модуля входного сопротивления |Zp|

spr-uz-3.gif
Puc.3

Если поступающее на преобразователь напряжение превысит на резонансной частоте 5 В, то в нем могут произойти необратимые изменения.

Диаграмма направленности преобразователя - одноленестковая, с шириной около 30° (по уровню 0,7 от максимума)

Когда один из преобразователей является излучателем, а другой - приемником, следует подбирать эту пару таким образом, чтобы fми излучателе и fмп приемника были близки чежду собой. Индивидуальные значения этих частот указывают в паспортах преобразователей.

При достаточно тщательном подборе пары излучатель-приемник и высоком сопротивлении нагрузки приемника (например, 100 кОм и выше) можно значительно увеличить чувствительность приемного тракта, устранив шунтирующее влияние емкости преобразователя Свх. Для этого параллельно преобразователю включают катушкy, индуктивность LK которой рассчитывают по формуле

Формула

где Со=0,8 Свх. Емкость Свх измеряют на низкой частоте, например, 1000 Гц. Обычно она составляет 1140 ± 40 пФ Значение индуктивности LK в зависимости от конкретных значений fа и Со лежит в пределах 15-20 мГн.

В эхолокаторе, когда один и тот же преобразователь работает поочередно в режимах излучения и, приема, целесообразно применять прмемно-усилительный тракт с низкоомным входом (не более 1 кОм). При этом резонансные частоты fмн и fмп будут близки между собой.

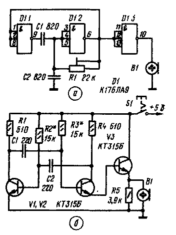
Принципиальные схемы приемника и передатчика устройства дистанционного управления бытовой аппаратурой (приемником, магнитофоном, телевизором, осветительными приборами) с использованием преобразователя МУП-1 изображены на рис. 4 и рис. 5 Передатчик можно выполнить на цифровой интегральной микросхеме (рис. 4,а) или на транзисторах (рис 4,б).

spr-uz-5.gif
Рис.4

У первого варианта передатчика задающий генератор - элементы DI.I и D1.2, а на элементе D1.3 выполнен буферный каскад. В транзисторном варианте передатчика генератор собран по схеме мультивибратора (транзисторы VI, V2), а выходной каскад - на транзисторе V3. Необходимую рабочую частоту передатчика устанавливают подстроечным резистором RI (рис 4, а), или подбором резисторов R2 и R3 (рис 4, б) Для того, чтобы иметь возможность подстраивать генератор во время эксплуатации,один из этих резисторов целесообразно заменить двумя, включенными последовательно постоянным сопротивлением 3 5 кОм и переменным сопротивлением 22 кОм Настройка передатчика заключается в установке частоты генератора, равной частоте fми, которая указана в паспорте преобразователя

При отсутствии частотомера настройку можно произвести по максимальной отдаче преобразователя. Для этого перед преобразователем-излучателем на расстоянии 15...20 см устанавливают преобразователь-приемник, который будет использован в системе дистанционного управления, подключают к нему вольтметр переменного тока и настраивают передатчик, добиваясь максимального сигнала на выходе приемного п реобразователя

Схема приемника изображена на рис 5. Он состоит из усилителя на микросхеме A1, детектора на диодах V1, V2, одновибратора и триггера на микросхеме D1, а также транзисторного ключа (V5) с исполнительным реле K1 в цепи нагрузки. Элементы R7, С5 служат для задержки включения одновибратора в целях предотвращения ложных срабатываний исполнительного устройства из-за импульсных помех в сети или нечеткого замыкания контактов кнопки включения передатчика.

spr-uz-6.gif
Рис.5

Ультразвуковой сигнал, воспринятый преобразователем В1 приемного устройства, преобразуется в электрические колебания, которые усиливаются микросхемой A1. Коэффициент усиления на частоте 40 кГц - составляет примерно 5000. Продетектированный сигнал, пройдя цепь задержки C5R7, запускает одновибратор (элемент D1.I). Время задержки срабатывания одновибратора равно 1 с. Сигнал с одновибратора переключает триггер D1.2, в результате чего открывается транзисторный ключ V5 и срабатывает реле K1.

Принципиальная схема исполнительного устройства приведена на рис. 6. При замыкании контактов K1.1 в приемнике (рис. 5) тринисторы V2, V3 открываются и подключают Нагрузку Rн в сеть. Допустимая мощность нагрузки определяется прямым током тринисторов.

spr-uz-7.gif
Puc.6

Передатчики системы дистанционного управления питают от батареи гальванических элементов, а приемник - от стабилизированного выпрямителя, дающего на выходе напряжение 20 В. Питание микросхемы D1 дополнительно стабилизировано параметрическим стабилизатором, собранным на элементах V3 и R6.

В лабораторных условиях при испытаниях блока дистанционного управления взаимоориентации преобразователей не требовалось. Однако в комнате с большим звукопоглощением (много мягкой мебели, ковров, штор и т п.) ультразвуковой сигнал заметно ослабляется, что может потребовать ориентации излучателя и приемника. Ультразвуковой преобразователь может быть использован и в многоканальных системах дистанционного управления. В этом случае команды следует передавать в дискретном виде, используя кодоимпульсные, временные или фазоимпульсные системы модуляции.


РАДИО N 10, 1980 г, с.44-45.