Применение PIN-диодов в качестве элементов затухания и переключения


Макс Пернер, DM2AUO

В статье Макса Пернера, DM2AUO, рассмотрены варианты применения PIN-диодов в качестве элементов затухания и переключения, что стало возможным благодаря их высокому сопротивлению в закрытом состоянии и весьма низкому - в открытом. Так, распространенные PIN-диоды ВА182, ВА282, ВА479, ВА482, ВА679 (SMD) имеют в открытом состоянии сопротивление 0,3...0,5 Ом и мощность рассеивания 1...2.5 Вт. Простейшее применение PIN-диодов может быть в качестве переключателей в последовательной и параллельной схемах (рис.27, сверху и снизу соответственно).

urt-x6-1.gif

В последовательной схеме диод пропускает сигнал от источника к нагрузке в открытом состоянии при подаче соответствующего напряжения смещения, а в параллельной - в открытом состоянии диод шунтирует источник сигнала, замыкая на общий провод конденсаторы Ск. На рис.28 приведена комбинированная схема переключателя на D1, аналогичного рис.27, и элемента затухания на D2, D3. При подаче смещения в точку А затухание между источником сигнала и нагрузкой минимально. Если в точку В подать >0...+12 В, ток потечет через R1, D2, D3, R2 и в зависимости от его величины будет изменяться сопротивление D2, при этом часть входного ВЧ сигнала замыкается на землю через С4.

urt-x6-2.gif

Простой переключатель двух ВЧ сигналов показан на рис.29. При переключении этой схемой фильтров, смесителей и т.д. следует учитывать, что в данный момент из двух источников может быть включен только один, а другой должен быть заземлен.

urt-x6-3.gif

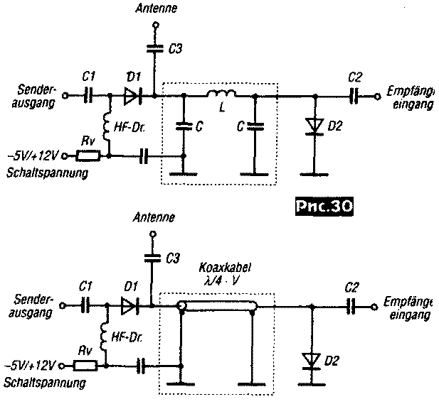
Сопротивление R1 определяется типом PIN-диода. PIN-диоды могут быть использованы как антенные переключатели прием/передача (рис.30).

urt-x6-4.gif

Обычно между входом приемника и выходом передатчика включается четвертьволновая полосковая линия или аналогичной длины коаксиальный кабель (рис.30, снизу), а на KB - П-образный LC аналог четвертьволновой линии (рис.30, сверху). Значения L и С этой цепочки рассчитываются по формулам:

urt-x6-5.gif

где Zo - в омах, f - в МГц, L - в мкГн, С - в пФ. При рабочей частоте 28 МГц, сопротивлении 50 Ом получаем L=0,28 мкГн и оба конденсатора по 113,7 пФ. Мощность потерь рассчитывается по формуле:

urt-x6-6.gif

При выходной мощности 20 Вт, сопротивлении диода D1 в прямом включении 0,5 Ом мощность потерь будет 0,2 Вт. Если КСВ (S) на выходе заметно больше 1, мощность потерь с учетом КСВ (S) можно определить по формуле:

urt-x6-7.gif

Для приведенного примера при KCB=S=3 можно ожидать мощности потерь 0,45 Вт. Таким образом становится возможным применять в QRP трансиверах широко распространенные PIN-диоды. Применение коммутаторов на PIN-диодах значительно уменьшает время на переключение с приема на передачу, что особенно важно при работе цифровыми видами связи. В режиме приема для устранения интермодуляционных искажений на D2 важно хорошо запереть PIN-диоды, подав отрицательное смещение для схем на рис.30


«Funkamateur», №10/99, с. 1148, 1149.