Корректирующий антенный усилитель


И. Нечаев, г. Курск
В настоящее время во многих городах и областях возникла проблема высококачественного приема телевизионных станций, которые отличаются одна от другой не только частотными каналами, что естественно, но и существенно разными мощностями передатчиков (на порядок и более).

При этом система АРУ телевизора далеко не всегда может, особенно в отдаленных местностях, справиться с таким большим различием сигналов.

Для того чтобы решить возникшую проблему, наш постоянный автор И. А Нечаев разработал частотно-избирательный антенный усилитель, который устраняет указанный недостаток.

Широкое развитие коммерческого телевизионного вещания поставило в ряде регионов страны сложную задачу обеспечения высококачественного приема сигналов таких станций. Это обусловлено тем, что в большинстве случаев мощность их передатчиков не превышает 100 Вт, да и высота установки антенн невелика, что в совокупности приводит к тому, что зона уверенного приема не превышает 30 км.

Частичное решение этой проблемы может быть достигнуто установкой вблизи приемной антенны широкополосного усилителя [1], что повышает чувствительность всего приемного тракта. Однако не всегда это может привести к положительным результатам. Дело в том, что одновременно со слабым сигналом усиливаются и значительно более мощные сигналы государственных телеканалов, а их передатчики имеют мощность, как правило, около 1 кВт (и более), т.е. на порядок больше. Именно поэтому установка усилителя может привести к перегрузке входных каскадов телевизора или появлению помех по зеркальному каналу, что делает также невозможным высококачественный прием слабого сигнала.

Выходом из указанной ситуации может быть применение специального частотно-избирательного усилителя, который бы усиливал слабый сигнал больше, чем мощные, и тем самым выравнивал их уровни, т.е. необходим корректирующий усилитель. Вариант принципиальной схемы такого усилителя изображен на рис.1. Он содержит входной каскад на транзисторе VT1, канальный фильтр L2—L6C5—С15, выходной усилитель на транзисторах VT2, VT3 и гибридный ответвитель-сумматор на трансформаторе Т1 и резисторе R10.

ТВ антенный усилитель
Рис. 1.

Сигналы с антенны поступают на входной каскад, где усиливаются на 7...9 дБ. После него на выход они попадают двумя путями: через канальный фильтр с выходным усилителем, где слабый сигнал усиливается на 10... 15 дБ, и через цепь R6C17T1, где все сигналы ослабляются на 4...5 дБ. В результате слабый сигнал, на который настроен фильтр, усиливается на 20...22дБ, а мощные — всего на 3..4 дБ, т.е. происходит выравнивание их уровней.

Усилитель разработан для применения в Курской области, где телевизионное вещание ведется на четвертом (РТР), восьмом («Останкино») и десятом (коммерческое телевидение) каналах. АЧХ такого усилителя показана на рис. 2. Перестроить усилитель и тем самым адаптировать его для работы в других районах, т.е. настроить для усиления слабых сигналов на других каналах, очень просто, изменив номиналы некоторых элементов. В первую очередь это относится к канальному фильтру.

ТВ антенный усилитель
Рис. 2.

Диоды VD1, VD2 усилителя защищают входной каскад от возможных мощных электрических разрядов, например во время грозы. Катушка L1 подавляет сигналы на частотах менее 40 МГц. Цепь C4R5 выравнивает усиление в интервале рабочих частот. Канальный фильтр должен обеспечивать хорошее подавление сигналов соседних каналов приема, поэтому он выбран пяти контурным. Расчетная полоса пропускания — 8 МГц, но может быть 8...10 МГц. Номиналы элементов фильтра для всех каналов диапазона MB указаны в таблице. Следовательно, можно адаптировать усилитель к конкретным условиям приема, т.е. установить в нем фильтр, настроенный на самый слабый принимаемый сигнал. Нагрузочные сопротивления всех фильтров — 75 Ом.

Необходимость использования гибридного ответвителя-сумматора [2] обусловлена тем, что с выхода выходного усилителя на его вход через цепь C17R6 и канальный фильтр существует обратная связь, которая может привести к самовозбуждению. Вариант сумматора на трансформаторе Т1 и резисторе R10 позволяет реализовать развязку между входами не менее 25...30 дБ и потери лишь в несколько дицибел, что, например, нельзя получить на резистивном сумматоре, и тем самым обеспечить устойчивость усилителя. Именно поэтому к изготовлению трансформатора Т1 следует отнестись очень серьезно.

Питать усилитель нужно стабилизированным напряжением 9.. 12 В. Потребляемый усилителем ток — около 30 мА. Если питать его по выходному кабелю, то следует включить дроссель L7.

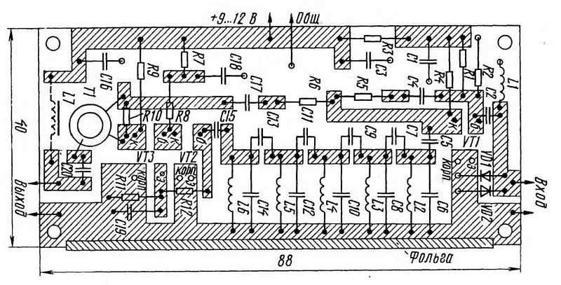
Все детали усилителя размещены на печатной плате из двустороннего фольгированного стеклотекстолита толщиной 1,5 мм, рисунок проводников которой изображен на рис. 3. Печатные проводники сделаны на одной стороне, а вторая оставлена металлизированной и использована как общий провод, к которому через отверстия в плате припаяны выводы некоторых деталей. Кроме того, через край платы эта сторона соединена припаянной фольгой с общим проводом усилителя на другой стороне.

ТВ антенный усилитель
Рис. 3.

В устройстве, кроме указанных на схеме, можно применить малошумящий транзистор КТ399А (VT1 — VT3) и серии КТ316 (VT2, VT3), диоды КД522Б, КД521А. Резисторы — МЯТ, конденсаторы емкостью от 2 до 20 пФ— КД, КТ, а емкостью более 20 пФ —КМ, КЛС.

Катушки L1 — L6, трансформатор Т1 и конденсаторы емкостью менее 1,5 пФ изготовлены самостоятельно.

ТВ антенный усилитель
Номиналы контуров

Катушка L1 намотана на оправке диаметром 6 мм и содержит 3...4 витка провода ПЭВ-2 0,6. Катушки канального фильтра L2 — L6 — бескаркасные, их наматывают на оправке диаметром 3,5 мм проводом ПЭВ-2 0,4, число витков в зависимости от требуемой индуктивности определяют по графику на рис. 4.

ТВ антенный усилитель
Рис.4.

Конденсаторы емкостью до 2 пф изготавливают самостоятельно. При этом одной его обкладкой служит отрезок провода (несколько миллиметров) ПЭВ-2 0,6, а второй — намотанный на отрезок виток к витку слой провода ПЭВ-2 0,25. Емкость одного витка такого конденсатора равна примерно 0,19 пФ.

Трансформатор Т1 наматывают на кольце из феррита проницаемостью 600...1500 диаметром 7...10 мм. Сначала проводят плотную свивку двух проводов ПЭВ-2 0,25 так, чтобы на 1 см длины было 5 свивок, затем свитой провод наматывают на кольцо (5...6 витков) так, чтобы витки равномерно располагались на кольце. После этого выводы соединяют в соответствии со схемой, причем они должны быть минимальной длины.

Дроссель L7 — ДМ-0,1 индуктивностью 40... 120 мкГн. Он может быть изготовлен самостоятельно на кольце из феррита проницаемостью 600...2000 диаметром 5...7 мм. Его наматывают проводом ПЭВ-2 диаметром 0,1...0,2 мм, число витков — 10-15.

Налаживание усилителя сводится в основном к настройке канального фильтра. Так как катушки фильтра бескаркасные, то настройку лучше проводить увеличением расстояния между витками, для чего индуктивность катушек фильтра следует брать немного больше указанной в таблице. Если при настройке катушки окажутся сильно растянутыми, то нужно уменьшить на один число их витков. Конденсатором С19 корректируют АЧХ усилителя так, чтобы выровнять усиление вне полосы пропускания фильтра. На заключительном этапе может понадобиться подбор резистора R3 по наилучшему качеству приема.

Настройку лучше всего проводить, используя панорамный измеритель АЧХ. При этом следует помнить, что выводы катушек и конденсаторов фильтра должны быть минимальной длины, а сами катушки должны лежать на плате. Следует учитывать также паразитную емкость монтажа, особенно на частотах 6— 12-го каналов, где конденсаторы связи (С8, С9) особенно малы. Поэтому на 10 — 12- м каналах их возможно придется выполнить в виде половины витка провода ПЭВ-2 0,25 на отрезке провода ПЭВ-2 0,6.

Критерием правильности настройки фильтра может служить его АЧХ. Полоса пропускания фильтра должна быть 8...10 МГц при неравномерности не более 1 дБ. Если полоса пропускания получается уже и имеет колоколообразную форму, то немного увеличивают емкость конденсаторов связи (С7 — СЮ), если же фильтр получается шире и имеет большую неравномерность АЧХ, то их емкости следует уменьшить.

При получении удовлетворительной АЧХ нижние части витков катушек приклеивают к плате эпоксидным клеем. После его отверждения проводят окончательную регулировку.

Разместить усилитель можно в корпусе подходящего размера, лучше металлическом, и при возможности в защищенном от влаги помещении.

Если планируется использовать усилитель на открытом воздухе, то он должен быть надежно защищен от влаги [1]. Кроме того, если есть возможность, его следует проверить предварительно в интервале температур и сделать полосу пропускания фильтра не менее 10 МГц (на каналах 6 — 12).

В заключение следует указать, что из-за неидеапьности АЧХ канального фильтра усилитель не даст положительных результатов, если слабый и мощный сигналы передаются в смежных каналах (на практике так бывает редко). Иными словами, между несущими изображения этих сигналов должно быть не менее 16 МГц.

ЛИТЕРАТУРА

1. Нечаев И. Телевизионный антенный усилитель. — Радио, 1992, № 6, с. 38.
2. Ред Э. Справочное пособие по высокочастотной схемотехнике. — М.: Мир, 1990.

Paдиo № 12, 1994 г.


[ На главную ] [ В раздел ]