АНТЕННА ДИАПАЗОНА 136 кГц


Игорь ГРИГОРОВ (RK3ZK)

Низкая активность радиолюбителей на диапазоне 136 кГц объясняется отсутствием соответствующей аппаратуры и антенн. Именно антенны на этом диапазоне определяют эффективность работы радиостанции, так как здесь реально использовать только сильно укороченные излучатели, имеющие очень низкий КПД.

В качестве экспериментальной передающей антенны диапазона 136 кГц была опробована проволочная антенна длиной 41 м с емкостной нагрузкой на конце и удлиняющей катушкой в основании (рис. 1). Верхний конец антенны был закреплен на дереве на высоте около 12м над землей (рис. 2). Емкостная нагрузка - пять радиально расходящихся проводников длиной 5 м. Они изготовлены из коаксиального кабеля диаметром 12 мм. Свисающие концы кабеля надо заизолировать смолой.

ant-rbo-1.gif
Puc.1

Противовесом в этих экспериментах служила металлическая изгородь вокруг домашнего огорода.

Провод, идущий к вертикальной части антенны и проходящий через оконную раму, - коаксиальный кабель диаметром 12 мм со снятой внешней оплеткой.

ant-rbo-2.gif
Puc.2

Емкость антенны, измеренная относительно изгороди - противовеса, оказалась 260 пф, т. е. для настройки антенны в резонанс требуется удлиняющая катушка с индуктивностью около 5,26 мГн.

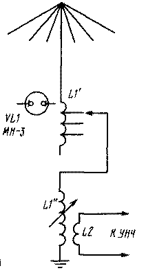
Она была составлена из двух частей - катушек L1' и L1". Катушка L1' намотана на стеклянной трехлитровой банке и содержит 120 витков провода ПЭВ-2 1,0. Длина намотки - 16 см. Отводы сделаны через каждые 10 витков. Индуктивность катушки - 1,4 мГн. Для ее фиксации на банке использовался паркетный лак. Катушка L1" намотана на пластмассовом ведре диаметром 25 см. На длине 29 см размещено 180 витков провода ПЭВ-2 1,0. Индуктивность этой катушки - 4,8 мГн. Она подстраивается короткозамкнутым витком из полоски медной фольги шириной 5 см, подвешенной на капроновой нити (рис. 3).

ant-rbo-3.gif
Puc.3

Для согласования усилителя с антенной используется катушка связи L2, размещенная в нижней части катушки L1'. Выбор параметров L2 достаточно критичен. Максимум антенного тока был получен при количестве витков катушки связи L2, равном 40. Для измерения антенного тока был использован самодельный малогабаритный ВЧ вольтметр, включенный параллельно проводнику, который идет от катушки L1" к заземлению (рис. 4). Он был включен по длине провода 20 см. Активное сопротивление двух включенных последовательно катушек, измеренное на постоянном токе, оказалось равным 4,5 Ом.

ant-rbo-4.gif
Puc.4

Настройка передающей антенны в резонанс получается довольно критичной. Если резонанс антенны лежит ниже 136 кГц, то, уменьшая индуктивность катушки L1', подстраивают антенну в резонанс с помощью плавного изменения индуктивности L1". Если резонанс лежит выше, то, наоборот, увеличивают индуктивность L1'. Изменение индуктивности L1' следует производить при отключенном передатчике и обязательно конец от L1" необходимо припаивать к L1'. Для индикации настройки антенны полезно использовать неоновую лампу VL1, прикрепив ее скотчем около средних витков с внутренней стороны банки, на которой намотана катушка L1'. Передатчиком в этих экспериментах служил генератор низкой частоты, включенный через УМЗЧ, отдававший на частоте 136 кГц мощность 15 Вт на нагрузке 4 Ом.

Для приема в диапазоне 136 кГц использован перестроенный радиоприемник "Ишим-003" с установленным в тракте ПЧ ЭМФ с полосой пропускания 500 Гц. Оказалось, что использовать передающую антенну на прием невозможно, так как вход приемника имел входное сопротивление 75 Ом и антенна расстраивалась. Пришлось применить для приема отдельную настраиваемую магнитную рамочную антенну. Она выполнена на деревянной крестовине размерами 140x140 см и содержит 140 м замкнутого на концах коаксиального кабеля диаметром 6 мм.

В резонанс антенна настраивается с помощью строенного конденсатора переменной емкости от старого лампового приемника. Катушка связи - 10 м такого же кабеля. Бухты скреплены между собой изолентой.

Антенна располагалась на окне, что позволяло выбирать направление приема - от юго-восточного до западного. Она четко настраивалась в резонанс, а при ее вращении явственно ощущалась направленность при приеме грозовых разрядов и импульсных сигналов неизвестного происхождения.

Так как близживущие радиолюбители не имели аппаратуры и антенн на диапазон 136 кГц, была предпринята попытка принять собственные сигналы. Приемник "Ишим-003" был вывезен на дачу, где сигналы были уверенно приняты на расстоянии 20 км. В следующей точке контроля, на расстоянии 35 км от передающей антенны, удалось обнаружить лишь весьма слабый сигнал.

Поскольку антенна имеет хорошую добротность и на концах проводников как самой антенны, так и ее противовесов возникает высокое ВЧ напряжение, то конструкция антенны и системы противовесов должна полностью исключать возможность случайного прикосновения к ней.


Радио 11/2000, с.65.