ЭКОНОМИЧНЫЙ ПРЕОБРАЗОВАТЕЛЬ ДЛЯ ПИТАНИЯ ЛЮМИНЕСЦЕНТНОЙ ЛАМПЫ ОТ АККУМУЛЯТОРНОЙ БАТАРЕИ


Л. ЗУЕВ, г. Дзержинск Нижегородской обл.

Описываемое устройство предназначено для питания люминесцентных ламп при освещении гаража, садового домика или других небольших помещений. Оно выполнено на доступных элементах и без труда может быть повторено радиолюбителями средней квалификации. К достоинствам устройства, в частности, относится его способность работать при пониженном до 5 В напряжении питания.

Исследования последних лет показали, что при питании люминесцентных ламп током высокой (> 20 кГц) частоты существенно повышается их световая отдача (см. статью С. Д. Рудыка, В. Е. Турчанинова, С. Н. Флоренцева "Высокочастотный преобразователь напряжения с высоким коэффициентом мощности по входу для питания люминесцентной лампы". - Электротехника, 1996, № 4, с. 31 - 33). Так у компактных ламп мощностью до 50 Вт она достигает 26...35 %. Происходит это в основном за счет снижения приэлектродных потерь мощности. При импульсном питании ламп токами высокой частоты они уменьшаются в два-три раза.

Разработанный автором преобразователь рассчитан на питание люминесцентных ламп ЛБУ-30 мощностью 30 Вт и имеет следующие технические характеристики: номинальное напряжение питания - 13,2 В; номинальный входной ток - 2,6 А; частота преобразования - 20...25 кГц; КПД устройства - 85 %.

Структурная схема преобразователя показана на рис. 1. Он выполнен на базе инвертора напряжения, нагруженного на последовательный колебательный контур, образованный катушкой индуктивности L1 и конденсатором С1, параллельно которому включена люминесцентная лампа EL1.

bel-2o1-1.gif

Инвертор преобразует постоянное напряжение аккумуляторной батареи 13,2 В в переменное, в виде импульсов прямоугольной формы амплитудой 150В, поступающее на последовательный колебательный контур L1C1. Резонансная частота контура равна частоте питающего напряжения, а ток, протекающий через нагрузку, подключенную к конденсатору контура, не зависит от ее сопротивления. При этом в момент подачи питающего напряжения сопротивление лампы EL1 велико, к конденсатору С1 приложено высокое напряжение, а через катушку индуктивности L1 протекает ток, превышающий номинальное значение. Этот ток течет и через нити накала EL1, разогревая их, что обеспечивает надежное включение лампы. При загорании лампы ее сопротивление падает и шунтирует конденсатор С1. В результате напряжение на нем падает до значения, поддерживающего горение лампы, а ток через катушку индуктивности L1 снижается до номинальной величины.

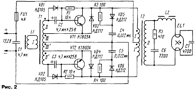
Принципиальная электрическая схема преобразователя показана на рис. 2. Колебательный контур образован элементами 12, С7. Инвертор выполнен по схеме двухтактного автогенератора с положительной обратной связью по току (ПОСТ) на элементах Т1, Т2, L1, VT1, VT2, VD1-VD6, С2-С5, R1-R4. Такое построение инвертора позволяет минимизировать энергию, затрачиваемую на управление ключевыми транзисторами VT1, VT2, и снизить влияние напряжения источника питания на стабильность работы преобразователя. В этом случае легко обеспечиваются и оптимальные частоты преобразования.

bel-2o1-2.gif

Кроме указанных выше элементов, преобразователь содержит плавкий предохранитель FU1, конденсатор С1, защищающий источник питания от импульсных токов, и цепочку C6R5, подавляющую высокочастотные колебания напряжения на обмотках трансформатора Т2.

Работает преобразователь следующим образом. В момент подачи питающего напряжения транзисторы VT1, VT2 закрыты и напряжение на их коллекторах равно напряжению питания. Через резисторы R1, R2 протекает ток, заряжающий конденсаторы С2, СЗ в направлении, противоположном их полярности, указанной на схеме. Через некоторое время напряжение на базе одного из транзисторов (например, VT1) достигнет порога его открывания и через коллекторную цепь потечет ток, который пройдет также через источник питания, обмотку I трансформатора Т2 и обмотку III трансформатора Т1. В результате появится ток и в обмотке II трансформатора Т1, который, в свою очередь, потечет через конденсатор С2 и переход база - эмиттер транзистора VT1. При этом VT1 входит в режим насыщения, а конденсатор С2 перезаряжается в соответствии с указанной на схеме полярностью. Его перезарядка ограничивается диодом VD1. Таким образом происходит запуск преобразователя. Транзистор VT1 будет находиться в состоянии насыщения до тех пор, пока не прекратится базовый ток, что может произойти в результате снижения тока через первичную обмотку трансформатора Т2 или при коротком замыкании обмоток трансформатора Т1.

Запускается преобразователь на резонансной частоте контура L2C7, и транзисторы VT1, VT2 будут переключаться в момент перехода через нуль тока дросселя L2. После зажигания лампы EL1 и шунтирования ею конденсатора С7 передача энергии дросселя L2 лампе и конденсатору С7 затягивается и частота преобразования снижается. Ее стабилизация при этом происходит на уровне, определяемом временем перемагничивания дросселя L1, который, насыщаясь, замыкает накоротко обмотку трансформатора Т1, что приводит к закрыванию одного транзистора и открыванию другого. Частота настройки колебательного контура выбрана равной 46 кГц, а рабочая частота преобразователя - 20.. .25 кГц. При таком отношении частот обеспечивается максимальная эффективность работы.

Цепочки C4VD5R3 и C5VD6R4 служат для снижения амплитуды коммутационного импульса на коллекторах транзисторов VT1, VT2 при их закрывании.

Преобразователь смонтирован на печатной плате из фольгированного стеклотекстолита размерами 200x50 мм. Он может быть встроен в светильник или помещен в отдельный кожух. При монтаже дроссель L1 и трансформатор Т1 желательно разместить возможно дальше от трансформатора Т2 и дросселя L2, а ок-сидные конденсаторы С2, СЗ не располагать в непосредственной близости от транзисторов VT1, VT2 и резистора R5.

В преобразователе применены резисторы МЛТ, конденсаторы К73-17 (С1, С4, С5) на напряжение 63 В, К50-35 (С2, СЗ) на напряжение 25 В и К15-5 (С6, С7) на напряжение 1,6 кВ. Транзисторы КТ803А можно заменить на КТ908 с любыми буквенными индексами. Их желательно выбрать с одинаковым коэффициентом передачи тока базы. Каждый транзистор установлен на теплоотводе площадью 50 см2.

Примененные в устройстве диоды КД105 могут иметь любой буквенный индекс. Подойдут и другие низкочастотные диоды с допустимым прямым током не менее 0,5 А. Диоды КД212 (VD3 - VD6) также могут быть с любым буквенным индексом. Их допустимо заменить другими кремниевыми, способными работать на частотах до 50 кГц и допускающими прямой ток не менее 2 А и обратное напряжение не менее 50В.

Дроссели и трансформаторы намотаны на кольцевых магнитопроводах из феррита М2000НМ-1. Обмотки дросселей L1, L2 размещены на магнитопроводах К7х4х2 и К40х25х11 и содержат 5 витков провода ПЭВ-2 0,63 и 140 витков провода ПЭВ-2 0,41 соответственно. Обмотки трансформаторов Т1, Т2 намотаны на магнитопроводах К20х12х6 и К40х25х11 соответственно. Обмотки I, III и III' трансформатора Т1 содержат по 3 витка провода ПЭВ-2 0,63, а II и II' - по 12 витков провода ПЭВ-2 0,41. Каждая из обмоток I и I' трансформатора Т2 состоит из 11 витков провода ПЭВ-2 0,8, а обмотка II - из 140 витков провода ПЭВ-2 0,41.

Обмотки I и I' трансформатора Т2 намотаны одновременно в два провода поверх обмотки II. Между обмотками следует проложить лакоткань. Обмотки трансформатора Т1 необходимо расположить в соответствии со схемой, показанной на рис. 3. Обмотка I должна размещаться симметрично относительно остальных обмоток с целью обеспечения симметрии полупериодов выходного напряжения и исключения одностороннего насыщения магнитопровода трансформатора, приводящего к увеличению потерь энергии. Дроссель L2 должен иметь немагнитный зазор. Для этого в его сердечнике перед намоткой нужно сделать пропил шириной 0,8мм.

bel-2o1-3.gif
Puc.3

На время налаживания преобразователя вместо лампы EL1 и конденсатора С7 последовательно с дросселем L2 включают резистор сопротивлением 1 кОм и мощностью 5... 10 Вт. Вначале проверяют надежность запуска преобразователя. Для этого на него подают питающее напряжение 5 В и, если он не начинает генерировать прямоугольные импульсы частотой 20...25 кГц, уменьшают сопротивление резисторов R1, R2, но не более чем в три раза.

Далее контролируют частоту генерации преобразователя. Для этого на него подают номинальное напряжение питания 13,2 Вис помощью осциллографа или частотомера определяют частоту переменного напряжения на обмотках трансформатора Т2. Если она выходит за пределы 20...25 кГц, изменяют число витков дросселя L1. Для увеличения частоты его уменьшают, а для снижения увеличивают. После этого восстанавливают выходные цепи преобразователя и последовательно с дросселем L2 включают резистор сопротивлением 10 Ом и мощностью 0,5...1,0 Вт. Затем на преобразователь подают номинальное напряжение питания, и после загорания лампы EL1 с помощью осциллографа контролируют форму напряжения на вновь установленном резисторе: она должна быть близкой к синусоидальной. Ток через дроссель L2 должен составлять около 0,22 А. При подаче питания на преобразователь лампа должна загораться не позднее 1...2с.

Помимо лампы ЛБУ-30 совместно с описанным преобразователем могут работать и другие, рассчитанные на те же напряжение и ток, например, ЛБ-40.


Радио 2/2001, с.35