ЗВУКОВОЙ ВЧ ПРОБНИК


Игорь ВАХРЕЕВ (RW4HFN)

Индикаторы и пробники, состоящие из ВЧ выпрямителя и микроамперметра, на протяжении десятилетий применяются радиолюбителями при настройке передатчиков и антенн. Предлагаемые в этой заметке дистанционные устройства контроля ВЧ напряжения позволяют следить за изменениями их показаний "на слух", не отрываясь для этого от наблюдения за другими приборами. Им не требуется отдельный источник питания, так как они его получают непосредственно от ВЧ поля настраиваемой антенны.

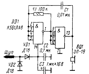
Простейший вариант звукового ВЧ пробника (рис. 1) представляет собой генератор на КМОП инверторах, выполненный на микросхеме DD1.

izm-rbo-1.gif4
Puc.1

Питается генератор постоянным током, поступающим от выпрямителя ВЧ напряжения на диодах VD1, VD2. Щуп, на который одета изоляционная трубка, образует с полотном антенны очень малую емкость, в десятые доли пикофарады. Однако выпрямление наведенного ВЧ напряжения обеспечивает ток в нескольких десятков микроампер, что вполне достаточно для работы звукового генератора. Частота звука при изменении напряжения питания в интервале 1,5...5В изменяется в десятки раз, убедительно индицируя изменения ВЧ напряжения, его максимумы и минимумы.

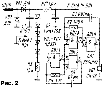
Так как не у всех людей абсолютный музыкальный слух, было разработано еще одно устройство (рис. 2), маркирующее звук индикатора в точках с одинаковым напряжением. Оно содержит два генератора, выполненных на элементах микросхемы DD1 Генератор на элементах DD1 1 и DD1 2 с частотой в несколько герц, модулирует работу генератора на элементах DD1.3 и DD1 4 с частотой несколько сотен герц.

izm-rbo-2.gif

Работа первого генератора разрешается, начиная с некоторого входного напряжения. Это напряжение тем меньше, чем меньше ток, потребляемый микросхемой в режиме генерации. Поэтому целесообразно предварительно подобрать микросхему с током потребления менее 100 мкА при Uпит = 3 В. У экземпляра, использованного автором, этот ток был 60 мкА. Подбирая резистор R1 (в пределах 1,5. 10 кОм) и число диодов VD3-VD7 (3-6 шт.), можно в широких пределах менять параметры генераторов и режимы их взаимодействия. У авторского экземпляра пробника при изменении Uпит от 1,5 до 2 В частота второго (звукового) генератора плавно меняется от 100 Гц до 1,5 кГц. Далее начинает работать модулирующий генератор, и тон звукового генератора изменяется из-за модуляции, продолжая повышаться от 1,5 до 2 кГц при росте напряжения питания до 15 В. При напряжении 15 В генерация срывается у обоих генераторов.

Диоды VD1.VD2 можно заменить другими германиевыми высокочастотными, например, Д20, Д311, ГД507, ГД508. Диоды VD3-VD7 - любые малогабаритные кремниевые.

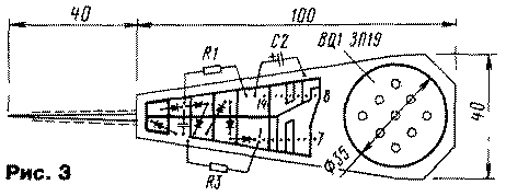
Конструкция пробника показана на рис. 3. Он собран на печатной плате из двухстороннего фольгированного стеклотекстолита толщиной 1,5...2 мм. Дорожки прорезаны ножом или резаком. Детали размещены со стороны проводников. Сверху прибор закрыт кожухом-экраном высотой 10 мм из луженой жести толщиной 0,8 мм. В месте установки излучателя, в стеклотекстолите, просверлено несколько отверстий диаметром 4 мм.


Радио 11/2000, с.66.