ПАРАЗИТНЫЕ СВЯЗИ И НАВОДКИ В РАДИОЛЮБИТЕЛЬСКИХ КОНСТРУКЦИЯХ


В. ПОЛЯКОВ, г. Москва

Среди радиолюбителей бытует поговорка - "делаешь усилитель, получается генератор...". А уж о таких проблемах, как фон переменного тока, непонятное рычание, подсвистывание, шипение и т. д., и говорить не приходится - с ними сталкивался, наверное, каждый. Одним словом, изготовленный аппарат зачастую работает не совсем так, как хотелось бы, а часто и совсем не так. Но схема-то верная! И собрано все именно по ней и, казалось бы, без ошибок. В чем же дело?

Чудес не бывает, и если аппарат работает не так, как положено аппарату, выполненному по этой схеме, значит, и схема отличается от начерченной. В реальной конструкции любого аппарата присутствуют связи, не показанные на принципиальной схеме и не учитываемые ею. Эти связи называются паразитными, возникают они из-за неправильного монтажа, неправильного выбора конструкции и даже неподходящего сечения или неправильной прокладки соединительных проводников.

Паразитные связи в реальной конструкции можно выявить, изобразить на принципиальной схеме. И тогда станет ясно, какие именно нежелательные эффекты они вызывают и как их устранить. Паразитные связи подчиняются общим законам электро- и радиотехники, и ничего таинственного или мистического в них нет - все вполне объяснимо. Но нужны некоторый опыт и, разумеется, знания.

Что нужно знать в первую очередь? Закон Ома, иметь понятия об электромагнитной индукции, о реактивных сопротивлениях и немного о теории цепей и четырехполюсников. Этого уже в подавляющем большинстве случаев достаточно.

Так же, как все сопротивления делятся на активные, емкостные и индуктивные, так и паразитные связи можно разделить на кондуктивные (через активное сопротивление), емкостные (через емкостное сопротивление) и индуктивные (через общую или взаимную индуктивность проводников). Существует, правда, и четвертый вид паразитной связи - через излучение и прием электромагнитных волн, но радиолюбительские конструкции обычно невелики по размерам, а частоты, на которых они работают, соответствуют гораздо более длинным волнам. В этих условиях излучение неэффективно, и этот вид связи встречается крайне редко.

Рассмотрим перечисленные связи, иллюстрируя их примерами.

Кондуктивная связь. Она возникает при плохой изоляции или наличии общего сопротивления в двух цепях, что соответствует параллельной и последовательной связям. Предположим, каскад на полевом транзисторе VT1 (рис. 1 ,а) вы смонтировали так, как показано на рис. 1,б, - на планке с монтажными лепестками (легко сообразить, что это могут быть и дорожки печатной платы). Из-за грязной планки, осевшей на нее пыли, влаги между контактами 1 и 2 может появиться некоторое "паразитное" сопротивление Rп.

paraz-sv-1.gif

Схема получится совсем другой - как на рис. 1 ,в. В цепи затвора обычно стоит высокоомный резистор R1, например, сопротивлением 1 МОм. Тогда сопротивление изоляции Rп в 4 МОм приведет к появлению на затворе напряжения, равного 1/5 напряжения питания, что наверняка выведет транзистор из нормального режима. Напряжение на стоке упадет до нуля, и транзистор не то, что усиливать, пропускать сигнал не будет!

Особенно опасно понижение сопротивления между выходом и входом неинвертирующего усилителя с большим усилением (рис. 2). При некотором значении сопротивления Rn положительная обратная связь превратит усилитель либо в генератор, либо в триггер Шмитта, формирующий из входного сигнала прямоугольные импульсы.

paraz-sv-2.gif

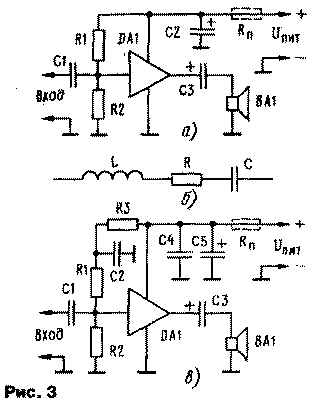
Иногда даже небольшое сопротивление в цепи питания приводит к нежелательным последствиям. Этим сопротивлением может быть сопротивление

самого провода, плюс внутреннее сопротивление источника питания. На рис. 3,а показана схема усилителя ЗЧ с однополярным питанием. Потребляемый им ток

paraz-sv-3.gif

не остается постоянным, он может колебаться в такт со звуковой частотой, а если выходной каскад двухтактный - с удвоенной звуковой частотой. На сопротивлении Rn в цепи питания выделится напряжение этих колебаний, которое может иметь не такую уж и малую амплитуду.

Например, при токе потребления усилителя 1 А и сопротивлении Rn всего 0,2 Ом колебания напряжения составят 0,2 В. Делитель R1R2, устанавливающий режим усилителя, обычно делит напряжение питания пополам. Тогда 0,1 В паразитных колебаний окажется на входе усилителя, что может превысить входное напряжение, поступающее через конденсатор С1!

К чему это приведет? Либо к самовозбуждению, либо к большим искажениям. Для уменьшения описанного эффекта устанавливают блокировочный конденсатор С2. Как видно из примера, его емкостное сопротивление для переменного тока должно быть весьма малым, следовательно, емкость - большой. При недостаточной емкости самовозбуждение, проявлявшееся без конденсатора свистом или воем, превращается в "капанье" - редкие щелчки. Устранить "капанье" можно не только увеличением емкости С2, но и повышением нижней частоты в полосе пропускания самого усилителя.

Полное сопротивление оксидных конденсаторов с повышением частоты вовсе не стремится к нулю, как следовало бы ожидать в соответствии с формулой для емкостного сопротивления: Хс=1/wС. Имеется еще некоторое активное сопротивление, обусловленное сопротивлением выводов и электролита, индуктивное сопротивление выводов и фольги, свернутой внутри конденсатора в цилиндрический рулон. Эквивалентная схема конденсатора с учетом этих факторов приобретает вид, показанный на рис. 3,б. Такая цепь только на низших частотах уменьшает полное сопротивление с повышением частоты. Она имеет минимум полного сопротивления на некоторой частоте, а на более высоких частотах ее сопротивление снова растет.

В подобных случаях оксидный конденсатор шунтируют керамическим, значительно меньшей емкости. Он устраняет рост сопротивления с повышением частоты. Разумеется, оба конденсатора надо устанавливать возможно ближе к выводам питания усилителя.

Другая эффективная мера устранения описанной паразитной связи - установка развязывающей цепочки R3C2 (рис. 3,в). Для переменного тока она представляет делитель, ослабляющий паразитную связь во столько раз, во сколько емкостное сопротивление конденсатора С2 меньше активного сопротивления резистора R3.

В сильноточных цепях питания имеет значение даже раскладка печатных проводников на плате. На рис. 4,а показана неправильная раскладка дорожки от источника питания к оксидному конденсатору С5. Сопротивление дорожки здесь складывается с полным сопротивлением оксидного конденсатора, увеличивая его. Правильная раскладка приведена на рис. 4,б.

paraz-sv-4.gif

Емкостная связь. Перейдем теперь к емкостным наводкам. Они особенно опасны в цепях с высоким полным сопротивлением - в ламповых каскадах и в каскадах на полевых транзисторах. Посмотрим на упрощенную схему усилительного каскада (рис. 5). Паразитная емкость Сп, состоящая из междуэлектродной емкости транзистора и емкости монтажа, совместно с входной емкостью Свх образуют делитель, через который часть выходного сигнала попадает снова на вход. Поскольку транзистор инвертирует сигнал, получившаяся обратная связь (ОС) отрицательная, она приводит к снижению усиления и ограничению полосы пропускания по высоким частотам.

paraz-sv-5.gif

Гораздо хуже обстоит дело в двухкас-кадном усилителе (рис. 6), который не инвертирует сигнал. Теперь ОС положительная и приводит к возрастанию усиления. Но поскольку и без ОС усиление двух каскадов может достигать нескольких тысяч, то даже при Сп = 0,001Свх на высоких частотах ОС оказывается больше критической. Усилитель превращается в генератор.

paraz-sv-6.gif

Меры борьбы с такими паразитными связями - рациональный монтаж, обеспечивающий малую паразитную емкость Сп, и экранирование. На печатной плате в ряде случаев достаточно проложить "земляную" дорожку между входом и выходом.

Малейшая емкостная связь между контурами резонансного усилителя РЧ, как правило, приводит к самовозбуждению. Дело в том, что резонансное сопротивление контуров велико и в Q раз (Q - добротность) превосходит емкостное и индуктивное сопротивления конденсатора и катушки контура (равные на резонансной частоте), достигая сотен-тысяч килоом. В этих условиях Сп=C/Q приводит уже к критической связи контуров (рис. 7), при которой сигнал передается из контура в контур с ослаблением всего в два раза. Если же между контурами включен усилитель с коэффициентом усиления К, то паразитную емкость надо уменьшить еще как минимум в К раз. Вот почему колебательные контуры почти всегда экранируют.

paraz-sv-7.gif
Puc.7

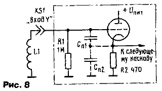
Иногда наличие паразитных емкостей . вызывает удивительные явления. Был случай, когда к колебательному контуру транзисторного автогенератора подключили вход лампового осциллографа СИ-1. Генератор исправно выдавал синусоидальные колебания, а осциллограф их показывал. Отключили питание автогенератора - генерация продолжалась! Выпаяли транзистор - генерация продолжалась! Отключили контурный конденсатор - генерировала одна катушка, только частота повысилась!

Причина оказалась в паразитных емкостях. На входе Y осциллографа (на рис. 8 приведена упрощенная схема входной части) был установлен катодный повторитель, имеющий заметные паразитные емкости между сеткой и катодом Сп1 и катодом и общим проводом Сп2. Вместе с катушкой и лампой они образовали "классический" генератор, "выполненный" по схеме емкостной трехтонки. Стоило переключить входной делитель (на схеме для простоты не показан) из положения 1:1 в любое другое - генерация пропадала.

paraz-sv-8.gif

Индуктивная связь. Она легче всего получается между катушками, имеющими значительные магнитные поля рассеяния. Любителям магнитной записи хорошо известно, что стоит расположить магнитную головку вблизи сетевого трансформатора питания - и в громкоговорителе появляется фон переменного тока.

На промышленной частоте 50 Гц экраны из толстой стали и даже пермаллоя ослабляют поле рассеяния в единицы, максимум в десятки раз. Помогают также короткозамкнутые витки из медной ленты вокруг всего трансформатора - в них поле рассеяния наводит токи, ослабляющие по закону электромагнитной индукции исходное поле.

На том же принципе основано действие алюминиевых экранов высокочастотных катушек. Магнитная (индуктивная) связь между контурами не менее опасна, чем электрическая (емкостная), и к ней также относится все вышесказанное о связанных контурах.

Особенно сильное поле рассеяния у магнитных антенн, и его нельзя устранить сплошным экранированием, поскольку нарушится сам принцип работы антенны. Магнитную антенну можно уберечь лишь от электрических, емкостных наводок, используя незамкнутые экраны. Поле магнитной антенны начинает заметно убывать на расстояниях порядка длины антенны. Если в этой зоне окажется другая неэкранированная катушка, паразитная связь обеспечена.

Довольно малые поля рассеяния получаются у тороидальных катушек, но при условии, что их витки равномерно распределены по окружности кольца. Все магнитное поле тороида оказывается внутри обмотки, и внешнего экранирования в ряде случаев не требуется.

Магнитные поля создают не только катушки, но и отдельные проводники с током. На рис. 9 показан проводник 1 с током i. Вокруг проводника образуется магнитное поле, силовые линии которого (штриховые линии) имеют вид колец, "надетых" на проводник. Если параллельно проходит другой проводник (2), то магнитное поле наведет в нем переменное напряжение, тем большее, чем длиннее проводник. По этой причине входные и выходные проводники усилителя нельзя располагать в одном жгуте (впрочем, там будет и емкостная связь тоже). Для ослабления связи два проводника рекомендуют располагать под прямым углом.

paraz-sv-9.gif

Когда в поле проводника попадает катушка, то наведенная в ней ЭДС максимальна при расположении оси катушки параллельно магнитным силовым линиям (катушка L1 на рис. 9) и минимальна в случае расположения оси катушки перпендикулярно силовым линиям (катушка 12).

Правильно ориентируя две катушки относительно друг друга, можно добиться минимальной связи между ними. Ось одной катушки должна быть перпендикулярна магнитным силовым линиям другой. То же относится и к трансформаторам: ориентируя "силовик", можно добиться ослабления поля, воздействующего на воспроизводящую головку магнитофона.

В небольшой статье трудно дать рекомендации "на все случаи жизни", но совершенно нельзя не затронуть "земельную" проблему - способ соединения деталей и частей устройства с общим проводом. И здесь нет ничего хитрого - все решается с помощью закона Ома и эквивалентных схем.

Пусть две части устройства, А и В на рис. 10, надо соединить с общим проводом. Если мы поступим, как показано на рис. 10,а, то сопротивление общего проводника Rn обеспечит паразитную связь между устройствами. Правильное соединение показано на рис. 10,б. "Заземляющие" проводники рекомендуется делать как можно короче, чтобы минимизировать индуктивную связь между ними.

paraz-sv-10.gif
Puc.10

Есть два подхода к "земельной" проблеме. Один, автор называет его немецким, поскольку он изучен на трофейной военной аппаратуре времен вермахта, состоит в использовании литого шасси с отсеками, в которых размещались и лампы, и катушки, и все прочие детали. Стенки отсеков служили экранами, придавая одновременно чрезвычайную жесткость всей конструкции. Соединения с' "землей", или общим проводом, которым и служило шасси, делались с помощью винтов и лепестков непосредственно у "заземляемой" детали, поскольку сопротивление литого шасси из хорошо проводящего алюминиево-магниевого сплава было пренебрежимо мало.

Второй подход часто используют в "ширпотребовской" аппаратуре. Там все "заземляющие" провода подводят к одной точке - ее-то и соединяют с корпусом, часто около входа. При таком подходе обязательно приходится учитывать и сопротивление, и индуктивность общих проводов. Этот подход нельзя применять в высокочастотной аппаратуре, где индуктивность проводников может создать сильные паразитные связи.

Применительно к печатным платам немецкий подход состоит в том, чтобы всю неиспользуемую площадь платы делать общим проводом - тогда и его активное сопротивление и индуктивность минимальны. К тому же дорожки общего провода между "горячими" точками экранируют их друг от друга.

В любительских условиях быстрый и достаточно надежный способ монтажа таков: фольгу не травят, отверстия в ней не сверлят, детали "заземленными" выводами, укороченными до минимума, припаивают к фольге (рис. 11). Монтируют детали навесным способом, опорами служат блокировочные конденсаторы (можно использовать резисторы с удаленным проводящим слоем либо мегаомных номиналов).

paraz-sv-11.gif
Puc.11

Разновидностью такого способа является монтаж на "точках" (на рис. 11 справа) - круглых островках фольги, вырезанных среди обширной площади общего провода, предложенный московскими радиолюбителями С. Жутяевым и В. Прокофьевым.


Радио 2/2001, с.53-55.