МАЛОШУМЯЩИЙ АНТЕННЫЙ УСИЛИТЕЛЬ ДИАПАЗОНА 430 МГц


Игорь НЕЧАЕВ (UA3WIA)

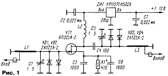
Схема усилителя показана на рис. 1. Он собран на малошумящем арсенид-галлиевом полевом транзисторе VT1. Резонансные контуры L1C1 и L3C5 на входе и выходе усилителя обеспечивают согласование полевого транзистора и частотную селекцию. Полоса пропускания усилителя - около 10 МГц, а коэффициент усиления - 10...14дБ. Оба параметра зависят от точек подключения входного и выходного кабелей. Диоды VD1 ...VD4 защищают транзистор от пробоя мощным сигналом передатчика или разрядами статического электричества.

pr2-rbo-1.gif

Напряжение питания полевого транзистора (+5 В) стабилизировано интегральным стабилизатором напряжения на микросхеме DA1.

Усилитель собран на печатной плате из двухстороннего фольгированного стеклотекстолита толщиной 1,5 мм, эскиз которой показан на рис. 2. Вторая сторона оставлена металлизированной и соединена по контуру фольгой с общим проводом первой стороны. Катушки индуктивности выполнены в виде печатных проводников.

В устройстве желательно применить бескорпусные постоянные конденсаторы - К10-17в, КМ-Зв, КМ-4в, КМ-5в, в крайнем случае можно применить обычные малогабаритные керамические, укоротив их выводы до минимальной длины. Подстроечные конденсаторы - КТ4-25, резисторы - МЛТ, Р1-4, Р1-12. Дроссель L2 содержит 10 витков и намотан проводом ПЭВ-2 0,2 на оправке диаметром 3 мм. После монтажа стоковый вывод транзистора следует залить небольшим количеством эпоксидной смолы с наполнителем из порошка карбонильного железа. Это значительно повысит устойчивость усилителя.

Налаживание начинают с установки тока стока полевого транзистора, соответствующему минимуму коэффициента шума для этого типа транзистора (5 мА). Точку подключения входного кабеля подбирают по максимуму чувствительности, а выходного - по максимуму коэффициента передачи. Входной контур настраивают на среднюю частоту диапазона конденсатором С1, а выходной - конденсатором С5.

Если усилитель планируется разместить вблизи антенны, то тогда в его состав должны входить два реле, обязательно коаксиальные высокочастотные. Если усилитель будет устанавливаться в приемную часть радиостанции уже после коммутатора прием/передача, то диоды VD3, VD4 можно исключить.


Радио 11/2000, с.63.