KB ТРАНСИВЕР НТ981М (Часть 2)


Алексей БЕЛЯНСКИЙ (US2II)

Принципиальная схема узла А1 приведена на рис. 2.

rst-2o1-1.gif

В режиме приема сигнал РЧ с вывода 7 (ANT), соединенного с антенным гнездом, через КСВ-метр поступает на ФНЧ, а затем через антенный коммутатор и аттенюатор на вывод 9 (DPF) узла.

Измеритель КСВ выполнен по традиционной схеме на элементах 1Т1, 1VD7, 1VD10, 1С14, 1С13, 1R12, 1R13, 1R15 и представляет собой рефлектометр с токовым трансформатором. Со вторичной обмотки трансформатора снимается пропорциональное току в линии противофазное напряжение, которое прикладывается к диодам 1VD7 и 1VD10. На эти же диоды через резисторы 1R12 и 1R15 с емкостного делителя 1С141С13 синфазно подается часть ВЧ напряжения, действующего в линии. Если нагрузка согласована с линией, напряжение и ток в линии совпадают по фазе. В этом случае к одному из диодов приложена сумма напряжений емкостного делителя и обмотки, а к другому - их разность. Подстройкой конденсатора 1С14 можно эту разность свести к нулю, т. е. сбалансировать измеритель КСВ. При рассогласовании линии с нагрузкой баланс нарушится и разность напряжений не будет равна нулю. Продетектиро-ванное постоянное напряжение контролируется измерительным прибором (S-метром), который подключается к выводу 6 (SWR) узла.

На элементах 1С5, 1С7, 1С9, 1L3, 1L5 выполнен фильтр нижних частот пятого порядка. Частота среза фильтра - 30 МГц.

Антенный коммутатор на pin-диодах 1VD3, 1VD4, 1VD8 и 1VD9 работает так.

В режиме приема вывод 1 узла соединен с общим проводом (определено работой системы коммутации RX/TX трансивера). На выводе 2 узла - постоянное напряжение питания +12 В, которое через открытый транзисторный ключ 1VT1, элементы 1L1 и 1VD5, 1L6 прикладывается к диодам 1VD4 и 1VD8. Диоды открываются протекающим через них током, соединяя вывод 9 узла с выводом 7. При этом диоды 1VD3 и 1VD9 закрыты положительным напряжением, приложенным к их катодам.

В режиме передачи на вывод 1 узла подается напряжение +12 В (ТХ), на вывод 2 - 0 и ток, протекающий по цепи 1L7, 1VD9, 1R14, открывает диод VD9. Ток, протекающий по цепи 1L71VD31L21R4, открывает диод 1VD3. В предыдущей фразе нет опечатки. Дело в том, что в усилителе мощности есть цепь, соединяющая его вход и выход по постоянному току. Через открытый диод 1VD9 вывод 11 (PA IN) узла А1 соединяется с выводом 9 (DPF), т. е. вход усилителя мощности подключается к диапазонным полосовым фильтрам, а выход УМ через вывод 4 (PA OUT) и диод 1VD3 - к антенной цепи (вывод 7 - ANT). Диоды 1VD8 и 1VD4 закрыты напряжением, падающим на резисторах 1R14 и 1R4. При этом аноды диодов имеют нулевой или отрицательный потенциал. Чтобы надежно закрыть диоды 1VD8, 1VD4, необходимо, чтобы напряжение, приложенное к ним, всегда превышало амплитудное значение напряжения коммутируемого сигнала. Для выполнения этого условия применен выпрямитель с удвоением напряжения на элементах 1VD1, 1VD2, 1С1 и 1С2. Выпрямленное напряжение выходного ВЧ сигнала отрицательной полярности, приложенное к анодам диодов 1VD8 и 1VD4, надежно закрывает их при любом уровне выходной мощности.

Коммутатор рассчитан на работу при коммутируемой мощности до 10 Вт. При большей мощности возможен пробой диода 1VD1.

Аттенюатор приемного тракта состоит из двух П-образных звеньев с затуханием 12 дБ (1R16, 1R18, 1R19) и 24 дБ (1R8, 1R9, 1R10). Звенья аттенюатора могут быть включены в тракт или исключены из него переключателями 1SB1 и 1SB2. Комбинируя состояние этих переключателей, можно выбрать затухание 0, 12, 24 и 36 дБ.

Необходимо заметить, что при повседневной работе с трансивером пользоваться аттенюатором практически не приходится. Даже на низкочастотных диапазонах при выключенном аттенюаторе трансивер не блокируется входными сигналами.

Элементы 1VT2, 1R5, 1R7, 1VD6, 1С8, 1L4 служат для управления внешним усилителем мощности. В режиме передачи на вывод 3 узла подается постоянное напряжение (+12 В ТХ), транзистор открывается и соединяет с общим проводом выход трансивера по постоянному току. В режиме приема вывод 3 узла соединен с общим проводом и транзистор закрыт. Если во входной цепи внешнего усилителя мощности установить управляющее реле, можно переводить усилитель в режим передачи без использования дополнительных проводов управления. Аналогично организовано управление и УКВ трансвертерами. О том, как это сделано, будет рассказано позже.

Узел А2 - блок диапазонных полосовых фильтров. Его принципиальная схема показана на рис. 3.

rst-2o1-2.gif
Блок содержит семь трехконтурных фильтров (диапазоны 7, 10, 14, 18, 21, 24 и 28 МГц) и два двухконтурных (диапазоны 1,8 и 3,5 МГц), так как трехконтурные на низких частотах имеют недопустимо большое затухание. Правильно настроенные фильтры имеют затухание в полосе прозрачности не более 1,7 дБ и неравномерность в пределах любительских диапазонов не более 0,1 дБ [3]. Фильтры переключаются с помощью реле, управление которыми осуществляет микросхема 2DD1. На выводы 3 - 6 узла А2 из синтезатора (А7, А8) поступает управляющий четырехразрядный двоичный код выбранного диапазона (табл. 1).
Таблица 1
rst-2o1-3.gif

Так как у данного типа микросхем максимальный допустимый ток нагрузки равен 80 мА, оказалось возможным подключить обмотки реле непосредственно к выходам микросхемы.

Узел A3, принципиальная схема которого изображена на рис. 4, содержит усилитель РЧ, кольцевой балансный смеситель высокого уровня и первый каскад УПЧ. Все каскады, входящие в этот узел, реверсивные, т. е. используются как на прием, так и на передачу. На схеме также показан фильтр основной селекции 3ZQ1, принадлежащий узлу A3, однако последний монтируется отдельно, рядом с платой узла. При таком монтаже улучшается развязка между входом и выходом фильтра.

rst-2o1-4.gif
Puc.4

Усилитель РЧ и 1-й УПЧ собраны на мощных полевых транзисторах 3VT2 и 3VT1 соответственно. Оба каскада выполнены по одной схеме с той лишь разницей, что нагрузка в УВЧ - автотрансформатор ЗТ1 со средней точкой, а в УПЧ нагрузка - резонансный контур ЗТ2, ЗС13 -ЗС15.

В режиме приема вывод 2 узла соединен с общим проводом. На вывод 1 постоянно подано напряжение питания +12 В. Ток, протекающий по цепи 3VT3, ЗРЮ, открывает диод 3VD4 и через обмотку трансформатора ЗТ1, который служит стоковой нагрузкой для 3VT2, питание поступает на этот транзистор. Затвор транзистора по переменному току через конденсаторы ЗС8 и ЗС9 соединяется с общим проводом, т. е. транзистор оказывается включенным по схеме с общим затвором.

В режиме передачи напряжение +12 В (ТХ) поступит на вывод 2. Ток, протекающий по цепи 3R6, 3VD1, 3VT2, 3L2, 3R3B, откроет диод 3VD1. В этом случае через конденсатор ЗС6 соединяется с общим проводом сток транзистора. Сигнал от смесителя через трансформатор ЗТ1 и конденсаторы ЗС8, ЗС16 поступает на затвор транзистора 3VT2, который теперь включен как истоковый повторитель.

Принцип, аналогичный описанному, заложен и в управлении каскадом на 3VT1.

Усиление УРЧ при приеме составляет 8...10 дБ, при передаче - 6 дБ (по напряжению). Усиление каскада УПЧ по напряжению составляет 12...15 дБ при приеме и 6 дБ при передаче.

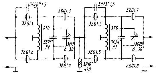
Смеситель выполнен по традиционной схеме на элементах ЗТЗ, 3VD5-3VD12, ЗТ4. По классификации -это кольцевой смеситель для сигналов высокого уровня мощности [4]. Его особенностью является способ подачи сигнала с гетеродина. Сигнал формируется триггером 3DD1.1, включенным как делитель на два (соответственно сигнал с синтезатора должен иметь удвоенную частоту). Противофазные сигналы с его прямого и инверсного выходов подаются на средние точки балансных трансформаторов смесителя. Резисторы 3R14 и 3R15 ограничивают максимальный ток через диоды. Так как использован триггер быстродействующей серии КМОП 74НС(74НСТ), амплитуда выходного сигнала составляет практически полное напряжение питания, что позволило включить в каждое плечо кольца по два диода последовательно. На рис. 5 показана схема фильтра основной селекции трансивера - 3ZQ1.

rst-2o1-5.gif
Puc.5
Фильтр выполнен по дифференциально-мостовой схеме на восьми резонаторах 3ZQ1.1 -3ZQ1.8.

Характеристики фильтра

Центральная частота, МГц ......... 5
Полоса пропускания, кГц .........2,7
Коэффициент прямоугольности (по уровням -6 и-60дБ).......... 1,7
Неравномерность АЧХ в полосе пропускания, дБ, не более ........... 2,5
Подавление за полосой прозрачности, дБ, не менее ........90
Характеристика фильтра симметрична, чего нельзя сказать о фильтрах лестничного типа, выполненных на тех же восьми резонаторах и ставших столь популярными в последние годы.

ЛИТЕРАТУРА

3. Дроздов В. Узлы современного KB трансивера. - Радио, 1985, Ms 9, с. IT-19.
4. Ред Э. Справочное пособие по высокочастотной схемотехнике. - М.: Мир, 1990.


Радио 2/2001, с.66-68