SSB В ТРАНСИВЕРЕ"ЛАВИНА"


Илья МОГИЛЕВСКИЙ (RA3PCS)

В начале 80-х годов на Украине на одном из предприятий ДОСААФ было налажено производство любительских радиостанций под названием "Лавина". Она предназначалась для эксплуатации в полевых условиях при проведении тренировок и соревнований по радиомногоборью. Эта радиостанция представляет собой CW трансивер с одним преобразованием частоты с диапазонами 160 и 80 метров. "Лавина" имеет относительно небольшие габариты и массу, и ее можно использовать как первый аппарат начинающего радиолюбителя. Для этого в нее надо ввести телефонный режим работы. Предлагаемый несложный вариант доработки радиостанции при минимуме материальных затрат позволит выйти в эфир на одной боковой полосе (SSB).

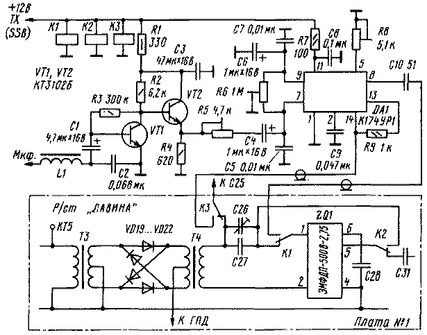
Доработка сводится к введению в передающий тракт трансивера формирователя DSB сигнала, замене фильтра основной селекции и установке необходимых элементов коммутации. Схема узла показана на рисунке. Там же, выделенный штрихпунктиром, показан участок схемы радиостанции "Лавина" (первый смеситель и ФОС), в который вносятся изменения. Обозначения и нумерация элементов соответствуют обозначениям на принципиальной схеме радиостанции "Лавина" [1], а состояние на ней контактов реле - режиму приема.

rst2o1-1.gif

На транзисторах VT1 и VT2 выполнен микрофонный усилитель. Схема балансного модулятора, микросхема QA1, заимствована из [2]. От первоисточника она отличается тем, что здесь использован собственный опорный генератор (500 кГц) радиостанции. Это позволило избавиться от помех и повысить качество формируемого двухполосного (DSB) сигнала.

Однополосный сигнал выделяется фильтром ZQ1 типа ЭМФДП-500В-2.75, установленным вместо штатного фильтра с симметричной полосой пропускания.

Так как частота опорного генератора трансивера равна 500 кГц, его дополнительной корректировки не потребовалось.

При переходе на передачу и подаче напряжения питания на формирователь контакты реле К1 подключат вход ЭМФ к выходу балансного модулятора. Контакты реле К2 подключат выход ЭМФ к смесителю, а через контакты реле КЗ на модулятор поступит напряжение частоты опорного генератора.

Блок формирователя собран на печатной плате размерами 80x50 мм из двустороннего фольгированного стеклотекстолита. Фольга со стороны установки радиоэлементов сохранена, и вокруг отверстий под выводы деталей сделана зенковка сверлом диаметром 4 мм.

Все постоянные резисторы в схеме типа МЛТ подстроечные -СП4-1а. Постоянные конденсаторы типов КМ, КЛС, К10-17в, оксидные - К50-35. Дроссель L1 - ДПМ-0,1 100 мкГн. Реле применены типа РЭС-49 (паспорт РС4.569.425).

Плата устанавливается в трансивере как можно ближе к ЭМФ. Реле распаивают навесным способом непосредственно на выводах фильтра. Сигналы DSB и опорного генератора подводят короткими отрезками коаксиального кабеля.

При налаживании узла модулятор балансируют подстроечным резистором R6. Необходимый уровень SSB сигнала на выходе узла устанавливают резистором R8, а уровень НЧ сигнала с микрофонного усилителя - резистором R5. Для включения режима SSB вводят тумблер, который устанавливают вместо лампочки "Заряд" на передней панели радиостанции.

ЛИТЕРАТУРА

1. Радиостанция для многоборцев "Лавина". Паспорт.
2. Картавцев А., Енин Ю. Двойной балансный модулятор. - Радио, 1988, № 9, с. 13.


Радио 2/2001