ШИФРАТОР И ДЕШИФРАТОР СИСТЕМЫ ТЕЛЕУПРАВЛЕНИЯ


С. КУЛЕШОВ, г. Курган

При конструировании систем телеуправления большое значение придают параметрам передатчика и приемника. С целью их улучшения автор разработал устройство, положив в основу метод, описанный в статье Ю. Ольхового "Времяимпульсное кодирование в телеуправлении" (см. "Радио", 1991, № 5, с. 24 - 28). При доработке удалось сократить число используемых элементов и, таким образом, уменьшить размеры и массу кодирующего и декодирующего узлов при сохранении возможности одновременной передачи до шести независимых команд.

Устройство телеуправления состоит из двух узлов - кодирующего и декодирующего. Кодирующий формирует импульсный сигнал, несущий информацию о состоянии кнопок управления. Этот сигнал подают на передатчик. Декодирующий узел разделяет сигнал на каналы так, что при нажатии командной кнопки на соответствующем выходе декодирующего узла появляется высокий логический уровень.

Сигнал, формируемый кодирующим узлом, представляет собой последовательность пакетов прямоугольных импульсов низкого логического уровня с различной длительностью. Пакет состоит из шести импульсов (по числу команд управления). При подаче команды формируется длинный импульс, а при ее отсутствии - короткий. Каждый пакет оканчивается временным интервалом низкого уровня, превышающим период повторения информационных импульсов. Этот интервал необходим для формирования сигнала, переводящего декодирующий узел в исходное состояние перед обработкой очередного пакета импульсов.

ru-rbo-1.gif

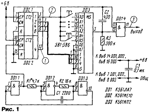
Принципиальные схемы кодирующего и декодирующего узлов приведены соответственно на рис. 1 и 2, а форма импульсов в отдельных точках узлов показана на рис. 3.

ru-rbo-2.gif
Тактовый генератор кодирующего узла собран на элементах DD1.1 - DD1.3. Формируемые им тактовые импульсы делятся по частоте счетчиком DD2.2 на восемь и подаются на счетный вход счетчика DD2.1 (диаграмма 1 на рис. 3). С выходов этого счетчика трехразрядный код поступает на адресные входы мультиплексора DD3. Каждое состояние этих входов сохраняется в течение четырех импульсов на счетном входе счетчика DD2.1.
ru-rbo-3.gif

При разомкнутых контактах кнопок SB1 - SB6 (когда команды управления отсутствуют) импульсы с вывода 3 счетчика DD2.1 укорачиваются дифференцирующей цепью C2R3. При нажатии на кнопки SB1 - SB6 замкнувшиеся контакты нажатой кнопки и внутренние цепи мультиплексора шунтируют конденсатор С2 и импульсы на выходе счетчика DD2.1 сохраняют свою длительность. Для формирования паузы в информационном пакете входы Х6, Х7 мультиплексора DD3 соединены с общим проводом. Сформированный сигнал низкого уровня (диаграмма 3 на рис. 3) с выхода элемента DD1.4 подается на передатчик. Изображенный на этой диаграмме сигнал соответствует команде управления, при которой кнопки SB1, SB3 и SB4 нажаты, а остальные - отпущены. На рисунке видно, что сигналы разных команд разнесены в выходном сигнале во времени и не влияют друг на друга, что позволяет передавать команды также независимо.

Сигнал, принятый и продетектиро-ванный приемником, поступает ча декодирующий узел и после инвертирования элементом DD1.1 подается на объединенные входы D-триггеров микросхем DD4 - DD6, а также на элемент DD1.2. При необходимости (для получения нужной фазы входного сигнала) ко входу устройства можно подключить еще один инвертор, выполненный на свободном элементе микросхемы DD2. С выхода элемента DD1.2 импульсы поступают на дифференцирующую цепь C1R1, которая их укорачивает, так что начало укороченных импульсов совпадает с началом информационных импульсов. После этого они подаются на одновибратор, собранный на элементах DD1.3, DD1.4, резисторе R2 и конденсаторе С2. Длительность этих укороченных импульсов короче "длинных", но длиннее "коротких" информационных импульсов (см. диаграмму 4 на рис. 3) В конце каждого такого импульса (при изменении сигнала с нулевого на единичный уровень) счетчик DD3 переходит в новое состояние (см. диаграммы б - 8 на рис. 3) и на очередном его выходе устанавливается высокий логический уровень. Сигнал с этого выхода подается на соответствующий триггер, который переключается в состояние, определяемое его информационным входом. При "коротком" импульсе (в отсутствие команды управления) на этом входе будет низкий логический уровень, а при "длинном" (когда имеется команда управления) - высокий.

Такой алгоритм работы устройства достигается за счет того, что триггер синхронизируется в момент, отстоящий от начала информационного импульса на время, равное примерно среднему арифметическому длительности "короткого" и "длинного" информационного импульсов. То или иное состояние каждого триггера памяти будет сохраняться до тех пор, пока короткий импульс не сменится на длинный, или наоборот. Одновибратор на элементах DD2.1, DD2.2, R3, СЗ формирует импульс, который после дифференцирования цепью C4R4 устанавливает счетчик DD3 в исходное состояние. Это происходит при наступлении паузы между информационными импульсами (см. диаграмму 4 на рис. 3).

Устройство времяимпульсного телеуправления питается от источника напряжением 6 В, потребляя ток 1,5 мА.

Для улучшения массогабаритных параметров устройства вместо микросхем серии К561 можно применить соответствующие микросхемы серии 564.

Для проверки описанного устройства вход декодирующего узла соединяют с выходом кодирующего и включают питание. Налаживание состоит в установке временных параметров узлов. Вначале в кодирующем узле подбирают резистор R1 так, чтобы частота генератора была близка к 12,5 кГц. После этого к выходу декодирующего узла подключают осциллограф и, нажимая на кнопки SB1 - SB6, убеждаются в правильности формирования информационных импупьсов и запоминают длительность "короткого" и "длинного" импульсов. Затем подключают осциллограф к выходу элемента DD1.4 декодирующего узла (см. рис. 2) и подбором номиналов резистора R2 и конденсатора С2 устанавливают длительность импульса примерно равной среднему арифметическому длительности "короткого" и "длинного" импульсов.Да-лее, подключив осциллограф к выходу элемента DD2.2 декодирующего узла, подбором номиналов элементов R3 и СЗ добиваются, чтобы высокий логический уровень появлялся на нем примерно в середине паузы между информационными импульсами. При этом следует иметь в виду, что высокий логический уровень на выходе DD2.2 не должен появляться после каждого информационного импульса. Нажимая на кнопки кодирующего узла, проверяют, появляется ли при этом высокий логический уровень на соответствующих выходах декодирующего узла.

В устройстве не предусмотрены какие-либо специальные меры, направленные на повышение помехозащищенности. Однако описанный декодирующий узел сам по себе защищен от импульсных помех, воздействующих на информационные импульсы, поскольку в большинстве случаев они короче последних. В результате узел либо вообще не реагирует на помеху, либо выключается на время (не превышающее 0,01 с) до начала очередного пакета импульсов.

Необходимо помнить, что нагрузочная способность примененных в устройстве микросхем невелика, поэтому для приведения в действие исполнительных механизмов к выходу декодирующего узла следует подключить усилители мощности.


Радио 11/2000, с.46-47.