ПРОЦЕССОР ПРОСТРАНСТВЕННОГО ЗВУЧАНИЯ TDA3810


Материал подготовил С. БИРЮКОВ г. Москва

Микросхема TDA3810 предназначена для работы в каналах 34 радио- и телевизионных приемников, а также в другой звуковоспроизводящей аппаратуре. Она обеспечивает три режима - "Стерео", "Расширенное стерео" и "Псевдостерео". В первом оба канала процессора имеют единичный коэффициент передачи, т. е. работают повторителями напряжения. Во втором - в каждый канал добавляется в противофазе сигнал из соседнего канала, что субъективно расширяет стереоба-зу. Третий режим предназначен для преобразования монофонического сигнала в псевдостереофонический.

Микросхема оформлена в 18-выводном пластмассовом корпусе SOT102 (рис.1).

spr-2o1-1.gif

Упрощенная функциональная схема процессора [1] изображена на рис. 2. Каждый канал содержит входной буферный усилитель с коэффициентом передачи 1 (DA1 - для левого канала, верхнего по схеме), три усилителя (DA2-DA4), выходы которых коммутирует электронный переключатель (S1.1), и выходной буферный усилитель (DA5). Рабочую точку усилителей задает делитель напряжения R7R8, а делитель сигнала R3R4 определяет коэффициент передачи ОУ DA3 в режиме "Расширенное стерео".

Сигналы на переключение выходов усилителей DA2-DA4 формирует устройство управления. Оно содержит входной логический узел и узел управления индикаторами.

В состав микросхемы входит также устройство, позволяющее включать процессор мягко, без щелчка в акустических приборах. Оно действует, если между выводом 9 и общим проводом подключен конденсатор большой емкости.

Цоколевка микросхемы: выв. 1 - выход резистивного делителя напряжения, точка подключения фильтрующего конденсатора; выв. 2 - вход левого канала (UN); выв. 3 - выход входного буферного усилителя левого канала (LAMP); выв. 4 - вход сигнала ОС для режима "Расширенное стерео" по левому каналу (LSPAT); выв. 5 - вход усилителя-формирователя псевдостереоэффекта левого канала (LPSD); выв. 6 - выход левого канала (LOUT); выв. 7 - вывод для подключения светодиода, индицирующего включение "Расширенного стерео"; выв. 8 - вывод для подключения светодиода, индицирующего включение режима "Псевдостерео"; выв. 9 - вывод для подключения конденсатора устройства "мягкого" включения (SSC); выв. 10 - общий и минусовой вывод питания; выв. 11 и 12 - входы управления выбором режима работы (CNTR1 и CNTR2 соответственно); выв.13 - выход правого канала (ROUT); выв.14 - вход усилителя-формирователя псевдостереоэффекта правого канала (RPSD); выв. 15 - вход сигнала ОС для режима "Расширенное стерео" по правому

spr-2o1-2.gif

каналу (RSPAT); выв. 16 - выход входного буферного усилителя правого канала (RAMP); выв. 17 - вход правого канала (RIN); выв. 18 - плюсовой вывод питания. На рис. 3 показана типовая схема включения микросхемы [2]. Здесь конденсаторы С6, С7, СЮ и С13 - разделительные, С11 - фильтровый по напряжению питания 6 В; конденсатор С12 входит в систему "мягкого" включения. Роль остальных элементов пояснена далее при рассмотрении конкретных режимов работы процессора.

spr-2o1-3.gif

Основные технические характеристики*

Напряжение питания, В .......4,5...16,5

Потребляемый ток, мА, не более .......................12

типовое значение ........... 6

Напряжение на выходе резистивного делителя (выв. 1), В . .5,3...6,7

Входное напряжение при коэффициенте нелинейных искажений не более 0,2 %, В, не менее ...................... 2

Нелинейные искажения в частотной полосе 40... 16000 Гц при выходном напряжении 1 Вэфф, %, не более .......... 0,1

Типовое значение выходного напряжения шумов (невзвешенное), мкВ ..................10

Типовое значение коэффициента подавления пульсаций напряжения питания, дБ ...... .50

Входное сопротивление (выв. 2 и 17), кОм, не менее ....... 50

типовое значение ............75

Коэффициент передачи, дБ,

в режиме "Стерео" ............... О

Коэффициент передачи, дБ, в режиме "Расширенное стерео" для сигнала своего канала ......... .1,4...3,4

типовое значение........ 2,4

другого канала, в процентах от коэффициента передачи сигнала своего канала............. -50

Коэффициент разделения каналов в режиме "Стерео", дБ, не менее ...............60

типовое значение ............ 70

Входной вытекающий ток низкого уровня по входам управления (выв. 11 и 12), мкА, не более .................. 100

типовое значение ............ 35

Входное сопротивление входов управления (выв. 11 и 12), кОм, не менее ...............70

типовое значение ...........120

Ток выходов индикации (выв. 7 и 8) при нагрузке светоди-одом, мА ....................10...15

типовое значение ............ 12

Напряжение на выходах индикации (выв. 7 и 8) при отсутствии нагрузки, В, не более ....... 6

Тепловое сопротивление кристалл-окружающая среда, "С/Вт .................... 80

* При температуре окружающей среды 25 "С, напряжении питания 12 В, сопротивлении нагрузки не менее 4,7 кОм и емкости нагрузки не более 150 пф.

Предельные эксплуатационные значения

Наибольшее напряжение питания, В ........................ 18

Рабочий интервал температуры окружающей среды, °С ..........................0...+70

Интервал температуры хранения, °С ..................-25...+150

Режим работы процессора выбирают подачей на входы управления CNTR1 и CNTR2 (выводы 11 и 12) сигналов высокого и низкого уровней в определенных сочетаниях в соответствии с таблицей. Эти сигналы можно подавать как со стандартных выходов микросхем ТТЛ, так и с выходов с открытым коллектором, для чего в состав процессора TDA3810 введены необходимые нагрузочные резисторы. Возможна подача сигналов управления и с выходов микросхем КМОП, если их питать напряжением 2...5,5 В. Управлять процессором можно и с помощью механического переключателя, замыкая на общий провод выводы 11 и 12 микросхемы.

На рис. 4 показана структурная схема процессора TDA3810, работающего в режиме "Стерео". Коэффициент передачи обоих каналов в этом случае равен 1.

spr-2o1-4.gif
spr-2o1-5.gif

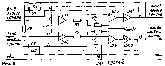
Функциональная схема, представленная на рис. 5, соответствует режиму "Расширенное стерео". Коэффициент передачи со входа левого канала на его выход равен 0,66(1+R8/R9), где 0,66 - коэффициент передачи подключенного к неинвертирующему входу ОУ DA3 внутреннего резистивного делителя процессора, a R8 и R9 - сопротивление внешних резисторов R8 и R9, входящих во входную фильтровую цепь.

При указанных на рис. 3 номиналах этих резисторов коэффициент передачи равен 1,32 (2,4дБ). Коэффициент же передачи от входа левого канала до выхода правого отрицателен и равен -0,66R10/R9=-0,66. На высших частот-

spr-2o1-6.gif

ных составляющих звукового сигнала, где емкостное сопротивление конденсаторов С8 и С9 значительно меньше сопротивления внешних резисторов R8 и R10, сигналы на выходах каналов повторяют с коэффициентом 0,66 сигналы с их входов. Условной частотной границей разделения, ниже которой стереобаза расширяется, а выше нет, можно считать значение 1/2jiR8C8=4 кГц. Если конденсаторы С8 и С9 не устанавливать, стереобаза будет расширяться во всей звуковой частотной полосе.

Поскольку каналы построены аналогично, указанные коэффициенты справедливы и для правого канала.

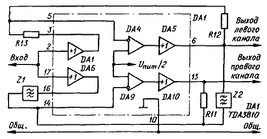
Схема на рис. 6 справедлива для режима "Псевдостерео". Здесь на оба входа стереопроцессора поступает один и тот же монофонический сигнал. Коэффициент передачи со входа левого канала на его выход не зависит от частоты и равен -R12/R13-1.33. Частотную характеристику коэффициента передачи с общего входа моносигнала на выход правого канала определяют характеристики фильтров Z1 и Z2. Через фильтр Z1, собранный на резисторах R1-R5 и конденсаторах С1-СЗ (см. рис. 3), на инвертирующий вход ОУ ОАЭ процессора поступает прямой входной сигнал. Через фильтр Z2 - элементы R6, R7, С4 и С5 - на тот же вход с выхода левого канала подан инвертированный и усиленный сигнал.

Кроме этого, коэффициент передачи зависит от сопротивления резистора R11 обратной связи. Для того чтобы на самых низших значениях частоты коэффициенты

spr-2o1-7.gif
Puc.6

передачи по обоим выходам были одинаковыми, необходимо, чтобы сопротивление резистора R11=100 кОм было в 1,33 раза (R12/R13) больше суммарного сопротивления резисторов фильтра Z1, т. е. R1+R2+R3+R4=76 кОм, что и обеспечивает типовая схема включения.

Фильтр Z1 - режекторный, с частотой затухания около 500 Гц. Фильтр Z2 - полосовой, с той же центральной частотой. Их параметры рассчитаны так, что амплитудно-частотная характеристика по выходу правого канала практически равномерна, а сдвиг фаз между каналами близок к нулю на краях звукочастотной полосы. На частоте 500 Гц выходные сигналы стереопроцессора противо-фазны, а сдвигу в 90 град, соответствуют значения частоты 150 и 2000 Гц. Такая фазочастотная характеристика создает интересную пространственную картину звука.

ЛИТЕРАТУРА

1. Шкритек П. Справочное руководство по звуковой схемотехнике. - М.: Мир, 1991.-448 с.
2. Philips Semiconductors. TDA3810. Spatial, stereo and pseudo-stereo sound circuit. Data Sheet. January 1985.


Радио 2/2001