ЕЩЕ РАЗ О ДОРАБОТКАХ АОНов HA Z80


Д. НИКИШИН, г. Калуга

Многие помнят, какой бум вызвало появление в начале 90-х годов телефонов с автоматическим определением номера звонящего абонента - АОНов. Особенно популярны были конструкции на базе процессора 280. Немало таких аппаратов эксплуатируются до сих пор. Им свойственны некоторые недостатки, и радиолюбителям вполне по силам сделать их более надежными и удобными в работе. Этой теме и посвящена предлагаемая статья.

Сначала несколько слов о том, какие АОНы вообще нет смысла дорабатывать. В первую очередь это относится к аппаратам с некачественной печатной платой. Основные ее дефекты - плохая металлизация отверстий и многочисленные микротрещины проводников.

Убедившись в отсутствии указанных недостатков, модернизацию телефона надо начинать с проверки работы его блока питания (БП). Прежде всего следует открыть БП и критически осмотреть содержимое этого ответственного узла, круглосуточно подключенного к электросети. Необходимо под нагрузкой проверить напряжение на входе стабилизатора КР142ЕН5А - значение менее 8 В может вызвать появление пульсаций на выходе, а свыше 11 В приведет к перегреву микросхемы. Следует также проверить, надежно ли изолирована микросхема от трансформатора, - в противном случае могут появиться помехи по питанию.

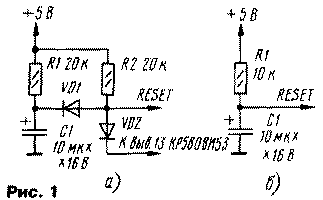
Затем приступим к доработке узла сброса процессора. В типовом АОНе это одно из слабых мест. Сначала удалим диод, подключенный к выводу 13 таймера КР580ВИ53 (дело в том, что система программного перезапуска, в которой задействован диод VD2, на практике неработоспособна и может лишь осложнить запуск процессора). При отсутствии этого диода становится ненужным и второй - VD1 (рис. 1,а). В результате узел становится очень простым и надежным в работе (рис. 1,б). Емкость конденсатора С1 цепи сброса должна быть от 4,7 до 22 мкФ (здесь и далее нумерация элементов соответствует [1]).

tlf-2o1-1.gif

Следующий этап - проверка сохранения информации в ОЗУ телефона при отсутствии электроэнергии. В типовом АОНе этому не уделено должного внимания, поэтому при отключении питания информация может вообще пропасть или исказиться (в последнем случае могут возникнуть сбои в работе аппарата). Порядок проверки этого узла, а также его доработки изложен в [2]. Следует лишь добавить, что диод, через который поступает питание на ОЗУ, должен быть обязательно кремниевым (германиевые диоды не подходят из-за большего обратного тока, способного вызвать преждевременную разрядку конденсатора поддержки ОЗУ).

Теперь перейдем к устранению другого эксплуатационного недостатка - так называемого "подзвона в линию", проявляющегося почти у 80 % аппаратов старого выпуска. Суть этого явления в том, что звонящий абонент в паузах между гудками АОНа, имитирующими ответ АТС, слышит вызывную трель самого аппарата. Это позволяет вызывающему абоненту определить, что он попал на АОН, что не всегда желательно. Появление "говорящих" версий программы лишь усугубило проблему - теперь абонент слышит голосовое сообщение о своем собственном номере, что для него совсем не предназначено.

Экспериментально найдены три пути проникновения вызывного сигнала в линию. Первый - транзистор "автоподнятия", подключающий к линии нагрузочный резистор при определении номера. Базовая цепь этого транзистора управляется высоким уровнем с вывода 15 микросхемы порта КР580ВВ55. Известно, что напряжение питания +5 В может содержать пульсации звуковой частоты, возникающие во время работы УНЧ, т. е. при звонках телефона. Уровень этих пульсаций невысок (несколько десятков милливольт), и на работу цифровых микросхем они не влияют. Однако, попадая в базу транзистора и усиливаясь, они вызывают паразитную модуляцию напряжения в линии, что и воспринимается как "подзвон". Полностью отфильтровать такие пульсации достаточно сложно, поэтому лучше выбрать ключевой элемент, нечувствительный к ним.

Этому требованию отвечают п-ка-нальные полевые транзисторы с изолированным затвором, имеющие небольшое напряжение включения и низкое сопротивление канала в открытом состоянии (например, для КП501А Rоткр=10 Ом при Uупр= 2,5 В). Для замены транзисторов КТ940А пригодны ключи на полевых транзисторах, специально выпускаемые для телефонных аппаратов: КП501А,_КР1014КТ1В, КР1064КТ1В [3]. Первый из указанных приборов наиболее удобен для замены, так как выпускается в трехвыводном корпусе. Замену производят так: вместо базы подсоединяют затвор, вместо эмиттера - исток, а вместо коллектора - сток полевого транзистора.

Второй путь проникновения сигналов - цепь транзистора импульсного ключа, выдающего в линию импульсы набора и другие сигналы. Диод VD9 запрещает выдачу в линию сигнала с вывода 17 таймера КР580ВИ53 при работе внутреннего УНЧ. Однако эта блокировка может быть недостаточной, и тогда часть сигнала ответвляется в базу транзистора VT3 [3], а после усиления попадает в линию. Это явление можно устранить включением в эмиттерную цепь VT3 кремниевого диода, анодом к эмиттеру, катодом к общему проводу (подойдут диоды из серий КД102, КД103 или подобные).

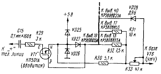
Третий путь - цепь, по которой сигнал из телефонной линии поступает на вход звукового усилителя (например, в режиме "Sound"). В этом случае "подзвон" вызван прохождением сигнала с базы транзистора УНЧ в линию (рис. 2). Блокировка с помощью диода VD27 сигналом с вывода 10 порта КР580ВВ55 чаще всего бывает неэффективна. Один из путей решения задачи - установка буферного каскада, усиливающего сигнал с линии и не пропускающего в обратном направлении. Однако более простое решение - установить ключ коммутации в цепь прохождения сигнала. Для этого подходят вышеуказанные полевые транзисторы. Недостаток этого способа в том, что не все экземпляры работают здесь одинаково хорошо, может потребоваться подбор транзистора.

tlf-2o1-2.gif
Puc.2

Перечисленные факторы в разных аппаратах проявляются в неодинаковой степени, поэтому предлагается общий алгоритм операций по устранению "подзвона" (рис. 3). На этапе проверки потребуется помощник, который будет звонить на тот номер, где установлен АОН, и на слух определять наличие и интенсивность "подзвонов".

tlf-2o1-3.gif
Puc.3

Может потребовать корректировки и блок усиления сигналов с линии, в аппаратах на Z80 он чаще всего выполнен на компараторе К554САЗ (рис. 4). В этом узле есть одна досадная ошибка - цепь подачи сигнала с линии (конденсатор С11). Дело в том, что при первом подключении аппарата к телефонной линии либо после завершения разговора на левом по схеме выводе С11 возникает перепад напряжения 40...50 В. Через незаряженный конденсатор С11 и защитный диод VD20 этот скачок передается в цепь питания +5 В, возникает импульсная помеха. Если стабилизирующие свойства блока питания недостаточны, то она способна вызвать сбой или "зависание" процессора. Этот недостаток можно устранить, включив последовательно с конденсатором С11 резистор сопротивлением 3,3...6,8 кОм.

tlf-2o1-4.gif
Puc.4

Теперь несколько слов о модернизации программного обеспечения аппарата. Можно с уверенностью сказать, что самыми удачными программами для АОНов оказались версии семейства "Русь" (для телефонов на Z80 этот ряд завершает "Русь-23с"). Последние модификации программ отличаются устойчивостью в работе, имеют удобное управление, хорошо развитые сервисные функции и большое число регулировок, позволяющих настроить аппарат под конкретную телефонную линию и АТС. Поэтому целесообразно заменить старую версию программы.

Это может потребовать доработок, связанных с расширением адресного пространства ПЗУ (версии "Русь" с номерами от 17 до 23 для полноценной работы должны быть записаны в микросхему 27512 емкостью 64 кбайт).

На плате АОНа надо соединить вывод 26 ПЗУ с выводом 4 процессора Z80, а вывод 27 ПЗУ - с выводом 5 Z80. Кроме этого, вывод 1 ПЗУ надо соединить с выводом 38 порта КР580ВВ55. Проводники, ранее подходившие к указанным выводам панельки ПЗУ, следует обрезать. Если это сделать трудно, можно поступить по другому: отогнуть на 90 градусов соответствующие выводы самой микросхемы ПЗУ, расположив их параллельно плате, а затем соединить монтажным проводом с нужными точками. Выводы 22 и 23 порта КР580ВВ55А используются в качестве клавиатурных входов. Поэтому их надо отсоединить от платы и подключить к цепи +5 В через резисторы 4,7... 10 кОм каждый. Версии программы "Русь" не будут работать на аппаратах, имеющих отличную от базовой аппаратную структуру (к примеру, плата, не содержащая таймера КР580ВИ53 или работающая с 10-разрядным индикатором).

В заключение - еще несколько советов по доработке АОНа. Резистор, подключаемый к линии в качестве нагрузки, должен иметь сопротивление 430...620 Ом при допустимой мощности рассеяния не менее 0,25 Вт. В случае установки резистора МЛТ-0,125 возможно его перегорание. Яркость и равномерность свечения разрядов индикатора можно повысить, если заменить дешифратор серии К555 или КР1533 аналогичным из серии К155.

Таймер КР580ВИ53 в АОНе использован некорректно (он работает на тактовой частоте 4 МГц, что выше допустимой), поэтому не все экземпляры работают устойчиво. Это проявляется в искажении некоторых звуков или в большой погрешности хода часов. Может потребоваться подбор таймера, но лучше заменить его аналогом: зарубежным 8253 или отечественным КР1810ВИ54.

Некоторые аппараты некорректно работают на одной линии с параллельным телефоном - при наборе номера на другом аппарате АОН подключается к линии и начинает звонить. Для устранения этого недостатка надо найти на плате АОНа резистор, включенный между выводом 19 порта КР580ВВ55 и общим проводом и заменить его другим, имеющим сопротивление на 20...25 % меньше прежнего.

ЛИТЕРАТУРА

1. Принципиальная схема АОН на Z80. - М.:СКС, 1993.
2. Никитин Д. Так можно ли защитить АОН от сбоев? - Радио, 2000, № 1, с. 38 - 40.
3. Кизлюк А. Справочник по устройству и ремонту телефонных аппаратов импортного и отечественного производства. - 2000 г.


Радио 2/2001, с.39