МОДУЛИ ЦВЕТНОСТИ ТЕЛЕВИЗОРОВ ЗУСЦТ, 4УСЦТ (СРАВНИТЕЛЬНЫЙ АНАЛИЗ)


[В. БРЫЛОВ], г. Москва

Аппараты с кассетно-модульной конструкцией (ЗУСЦТ и 4УСЦТ, а также еще и некоторые модели 5УСЦТ) составляют значительную часть парка телевизоров, находящихся в эксплуатации в нашей стране. В них применены различные взаимозаменяемые модули цветности, о которых и пойдет речь в помещаемой статье. Автор, сравнивая их возможности, дает рекомендации по замене устаревших модулей современными. По его мнению, это заметно улучшит качество цветного изображения.

В телевизорах ЗУСЦТ, выпущенных наиболее массовой серией (свыше 30 млн экземпляров), использованы модули цветности МЦ-2, МЦ-3, МЦ-31 нескольких модификаций. Кассетно-модульная конструкция шасси этого аппарата сохранена и в более совершенных телевизорах 4УСЦТ и даже в отдельных моделях 5УСЦТ В них, кроме уже упомянутых, применены модули МЦ-40, МЦ-41, МЦ-46, МЦ-48 и др. Все они взаимозаменяемы (правда, с некоторыми оговорками), имеют одинаковые входные и выходные сигналы, а также распайку соединителей, что облегчает замену неисправного или устаревшего модуля. Это не только расширит функциональные возможности телевизора, но и позволит получить более высокое качество изображения.

Рассмотрим характеристики названных изделий.

Любой модуль цветности содержит три основные части: декодер цветоразностных сигналов (ЦРС), видеопроцессор (ВП) и выходные видеоусилители (ВУ). В некоторых моделях к ним добавлен корректор цветовых переходов, а ВУ перенесены с платы модуля цветности на плату кинескопа.

Возможные варианты ВП и декодеров ЦРС подробно описаны в [ 1 ]. Там же перечислены наиболее часто использовавшиеся комплекты микросхем-ТСА640/650/660 с TDA2530, TDA3501/ 3510/3520, TDA3505/3510/3530, TDA3562A/3591 для двухсистемных модулей цветности (SECAM, PAL) и TDA4555/4580, TDA8362/8395 для четырехсистемных (SECAM, PAL, NTSC-3,58, NTSC-4,43). Подробные технические характеристики большинства из этих микросхем указаны в [2].

Принципиальные схемы модулей цветности на этих наборах микросхем, примененных в зарубежных телевизорах, описаны в [3]. Многие микросхемы имеют отечественные аналоги в сериях К174, КР1021, которые устанавливали в телевизоры ЗУСЦТ.

Расскажем о них, хотя бы кратко.

Модули МЦ-2 и МЦ-3 построены одинаково и имеют лишь незначительные различия. Структура МЦ-3 (используемые микросхемы, цепи передачи основных сигналов, органы регулировки параметров: подстроечные резисторы и катушки, причем для упрощения без контурных конденсаторов) показана на рис. 1.

tv-ra0-1.gif
Puc.1

Это - относительно простые устройства с низкими (по теперешним понятиям) функциональными возможностями. Их полоса пропускания меньше 6 МГц. В них использовано по четыре микросхемы второго поколения, разработанные еще в 60-70-е годы Две из них - ТСА640 (МСА640, К174ХА9) и ТСА650 (МСА650, К174ХА8) образуют декодер ЦРС Несмотря на то, что они могут обрабатывать сигналы систем SECAM и PAL, эти модули работают только в первой системе. В микросхеме ТСА660 (МС660, К174УК1) обеспечиваются регулировка яркости, контрастности, насыщенности изображения и формирование трех ЦРС (R-Y G-Y, B-Y). В микросхеме TDA2530 (К174АФ5) ЦРС преобразуются в цветовые сигналы R, G, В.

Поскольку в модулях использованы относительно простые микросхемы, понадобилось большое число внешних компонентов для обеспечения их работы: на платах модулей и субмодулей установлено около 80 резисторов и 50 конденсаторов (всего 150 деталей без использованных в ВУ). Большое число точек регулировки (19 катушек и резисторов) усложняет настройку модулей, которую необходимо периодически повторять в процессе эксплуатации телевизора. При необходимости обрабатывать сигналы PAL (для просмотра видеокассет) следует заменить эти модули рассматриваемыми далее.

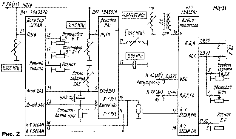
Модули МЦ-31, МЦ-40, МЦ-46, МЦ-402 - двухсистемные устройства, обрабатывающие сигналы SECAM и PAL. Они также имеют схожую структуру, которая для модуля МЦ-31 представлена на рис. 2. В них использовано по три микросхемы Декодер PAL в каждом модуле построен на микросхеме TDA3510 (К174ХА28). В МЦ-31 декодером SECAM служит микросхема TDA3520 (К174ХА16), а видеопроцессором - TDA3501 (К174ХА17). В других модулях функции декодера SECAM выполняет микросхема TDA3530 (К174ХА31), а видеопроцессора - TDA3505 (К174ХАЗЗ).

tv-ra0-2.gif
Puc.2

Микросхемы TDA3520 и TDA3530 равноценны по параметрам. Основное различие их в том, что в первой использованы фазовые декодеры ЦРС с автоподстройкой, а во второй - частотные ВП TDA3505, в отличие от TDA3501, имеет систему автоматической установки и поддержания баланса белого (АББ) на уровне темновых токов. Это дает основание считать, что модуль МЦ-31 уступает по характеристикам другим модулям группы, и позволяет рекомендовать замену не только МЦ-2 и МЦ-3, но и МЦ-31 более совершенными МЦ-40, МЦ-46, МЦ-402.

Следует иметь в виду, что ВУ в модулях МЦ-46 и МЦ-402 отсутствуют, они перенесены на плату кинескопа (для расширения полосы пропускания ВП и ВУ). Поэтому при использовании этих модулей одновременно заменяют и плату кинескопа. Однако конструкция плат такова, что подобная замена возможна лишь в телевизорах с планарны-ми кинескопами. Модуль МЦ-40 содержит ВУ, и он может быть применен в телевизоре с любым кинескопом и без замены его платы.

Модули МЦ-41, МЦ-48, МЦ-501, МЦ-502 - четырехсистемные (SECAM, PAL, NTSC-3,58, NTSC-4,43). Они построены по разным структурным схемам.

tv-ra0-3.gif
Puc.3

В модуле МЦ-41 (его структурная схема показана на рис. 3) сигналы сис темы SECAM транскодируются (преобразуются) в сигналы псевдо-PAL. Подробно этот процесс описан в [3]. В модуле использованы две микросхемы: транскодер SECAM - псевдо-PAL TDA3591 (КР1021ХАЗ), видеопроцессор с АББ и декодерами PAL, NTSCTDA3562A(KP1021XA4). Преобразование сигналов SECAM в PAL приводит к уменьшению заметности перекрестных искажений между сигналами яркости и цветности, возникающих в системе SECAM в моменты совпадения частоты поднесущей ЦРС с частотой какой-нибудь из гармоник сигнала яркости. Однако преобразование приводит одновременно и к появлению интерференции между поднесущими ЦРС SECAM и поднесущей ЦРС PAL, проявляющейся в виде муара на экране телевизора. Такие модули в нашей стране использовали лишь в небольшом числе моделей телевизоров и в последнее время не применяют. Поэтому модуль МЦ-41 для замены в ЗУСЦТ не рекомендуется.

В модулях МЦ-48, МЦ-501, МЦ-502 применены многосистемный декодер TDA4555 (К174ХА32), видеопроцессор TDA3505 с АББ. Для повышения качества изображения к ним добавлен корректор цветовых переходов ЦРС с регулируемой задержкой сигнала яркости TDA4565 (К174ХА27). Эти модули, их структура на примере модуля МЦ-48 изображена на рис. 4, по исполняемым функциям (число систем, коррекция цветовых переходов) стоят выше модулей МЦ-40, МЦ-46, МЦ-402 и существенно улучшают характеристики телевизора. Их выпускают в нескольких модификациях, некоторые из которых не обрабатывают сигналы системы NTSC.

tv-ra0-4.gif
Puc.4

Все рассмотренные модули цветности выпускала отечественная промышленность. В литературе можно встретить описания еще нескольких вариантов их построения.

Так, в [4] описан двухсистемный (SECAM, PAL) модуль цветности МЦ-65. Его структурная схема показана на рис. 5. Видеопроцессором в нем служит уже упоминавшаяся микросхема TDA3505 с АББ, а многосистемным декодером ЦРС - более совершенная, чем описанные ранее, микросхема TDA4650 (ее технические характеристики имеются в [2]). Для повышения цветовой четкости применен корректор переходов TDA4565. Вместо УЛЗ (стеклянной линии задержки на одну строку) включена микросхема TDA4660 (линия задержки ЦРС на переключаемых конденсаторах). Подробное описание ее структуры и функционирования содержится в [3].

Использование микросхем TDA4650 и TDA4660 позволило уменьшить число настраиваемых катушек в декодере ЦРС до одной (в предыдущих моделях - до семи). Переход к электронной линии задержки ЦРС сделал ненужными элементы согласования УЛЗ с микросхемой декодера и исключил перекрестные помехи между поднесущими ЦРС в соседних строках SECAM. В результате общее число деталей в декодере и ВП модуля МЦ-65 сократилось примерно на треть по сравнению с описанными ранее модулями (102 против 150-170 у МЦ-2, МЦ-3, МЦ-31, МЦ-46, МЦ-48, МЦ-402). Перечень полезных функций у этого модуля шире, чем в любом из рассмотренных ранее (он включает систему АББ, устройство коррекции переходов, интегральную линию задержки). К сожалению, он не производится промышленностью и в [4] предлагается читателям для самостоятельного изготовления.

tv-ra0-5.gif
Puc.5

Примерно такое же число деталей (96) содержит выпускаемый промышленностью модуль цветности МЦ-97, структурная схема которого показана на рис. 6. Это вместе с широким использованием чип-компонентов позволило уменьшить размер платы модуля вдвое по сравнению с размерами рассмотренных ранее модулей и более рационально (прямыми линиями) выполнить трассировку печатных линий. В нем применены трехсистем-ный (SECAM, PAL, NTSC-4,43) декодер ЦРС TDA4657 с линией задержки TDA4665, корректор цветовых переходов TDA4565, видеопроцессор TDA4580, строенный видеоусилитель в интегральном исполнении TDA6103Q.

tv-ra0-6.gif
Puc.6

Описание микросхемы TDA4657 отсутствует в доступной литературе, имеется лишь структурная схема в [6]. По-видимому, она - модификация известного четырехсистемного декодера TDA4650, в которой исключена возможность обработки сигналов NTSC-3,58. Это позволило уменьшить с 28 до 20 число выводов микросхемы, исключить внешние катушки и сократить число навесных компонентов.

Микросхема TDA4580 - лучший ВП из числа имеющих аналоговое управление [3, 5] Он отличается расширенной полосой пропускания (10 вместо 6 МГц у TDA3505). Система АББ в нем обеспечивает автоматическое сохранение баланса белого не только на уровне темновых токов, но и при любой яркости, включая максимальную. Еще одна особенность этого ВП - контроль токов катодов при включении телевизора, обеспечивающий открывание ВУ только после полного их прогрева. ВП снабжен двумя входами сигналов R, G, В для подачи сигналов OSD с микроконтроллера системы управления телевизором и с выхода модуля телетекста или компьютера. В модуле имеется только одна точка настройки.

Разнообразие схем построения модулей цветности на этом не заканчивается. В [1, 3] рассмотрено еще несколько их вариантов. Однако они либо применены в телевизорах с моношасси (следовательно, с подключением к основной плате, непригодным для установки в ЗУСЦТ), либо управляются по цифровой шине микроконтроллером, либо используют цифровую обработку сигналов. В них установлены микросхемы TDA836X, TDA837X с узлами повышения четкости изображения (апертурной коррекции), TDA4670 или их цифровые варианты SDA92xx. Говорить о возможности их применения для модернизации телевизоров ЗУСЦТ, 4УСЦТ бессмысленно. Однако для иллюстрации современных подходов к построению модулей цветности дадим хотя бы один пример.

Та часть многофункциональной БИС TDA836x, которая совместно с микросхемами TDA8395 и TDA4661 реализует функции четырехсистемного декодера, линии задержки и ВП, показанных на рис. 7, использует лишь 20 внешних компонентов (два кварцевых резонатора, один диод, семь резисторов и десять конденсаторов). При этом обеспечивается полоса пропускания 9 МГц [7].

tv-ra0-7.gif
Puc.7

Подводя итоги, можно кратко сказать следующее. Из перечисленных модулей цветности для телевизоров ЗУСЦТ-5УСЦТ с шасси кассетно-мо-дульной конструкции лучшим представляется модуль МЦ-97, недавно появившийся на рынке. Немного ниже уровень модулей МЦ-48, МЦ-501, МЦ-502 (у них похуже система АББ, уже полоса пропускания, применена ультразвуковая стеклянная линия задержки). Эти модули рекомендуются для замены вышедших из строя и даже работоспособных других модулей цветности.

Модули МЦ-40, МЦ-46, МЦ-402 уступают МЦ-48 и другим тем, что не имеют корректоров цветовых переходов. Кроме того, модули МЦ-46 и МЦ-402 могут быть применены только в аппаратах с пленарным кинескопом. Модули МЦ-2, МЦ-3, МЦ-31, МЦ-41 существенно устарели. В некоторой мере положение может улучшить введение в них корректора цветовых переходов TDA4565. Об этом для модулей МЦ-2, МЦ-3 рассказано в [8]. Для модулей МЦ-31, МЦ-41 такую доработку выполняют с учетом поправок на различие схем. Однако наиболее радикальным решением вопроса для всех этих модулей представляется замена их более современными моделями, что позволяет относительно просто и при небольших затратах заметно улучшить качество воспроизведения цветного изображения.

ЛИТЕРАТУРА

1. Хохлов Б. Н. Декодирующие устройства цветных телевизоров, изд. 3. Справочник, вып. 1222. - М.: Радио и связь, 1998 (МРБ).
2. Родин А. Микросхемы блоков цветности современных телевизоров. Серия "Ремонт", вып. 15. - М.: Солон, 1997.
3. Пескин А. Е., Войцеховский Д. В., Коннов А. С. Современные зарубежные цветные телевизоры: видеопроцессоры и декодеры цветности. Справочник, вып. 1227. - М : Радио и связь, 1998 (МРБ).
4. Уроки телемастера, изд. 2. - С.-Пб.: Лань, Корона принт, 1997.
5. Пашкевич Л. П., Рубаник В. А., Кравченко Д. А. Усовершенствование цветных телевизоров 3-5 поколений. Улучшение качества изображения. Модуль цветности МЦ-97. - Радюаматор, 1999, № 6, с. 6-9.
6. Микросхемы для современных импортных телевизоров. Энциклопедия ремонта, вып. 4. - М.. Додэка, 1998.
7. Брылов В. Микросхема TDA8362 в ЗУСЦТ и других телевизорах. - Радио, 1998, № 9, с. 8-11; № 10, с. 12-16; N 11, с. 13-15; № 12, с. 12, 13.
8 Пахомов А. Корректор цветовой четкости. - Радио, 1999, № 2, с. 10-12.


Радио 11/2000, с.6-9.