РЕЖЕКТОРНЫЙ ФИЛЬТР


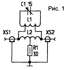
Показанный на рис.1 ре-жекторный фильтр перестраивается с помощью С1 от 28 МГц до 60 МГц и может быть полезен для подавления ТVI.

urt-997-1.gif
Puc.1
Катушка L1 - бескаркасная, содержит 10 витков провода 0,8 мм на оправке диаметром 8 мм, длина намотки - 18 мм. Отводы - от 4,5 и 5,5 витков. L2 - также бескаркасная, содержит 6 витков того же провода на оправке диаметром 12 мм, длина намотки - 18 мм.

Конструкция фильтра показана на рис.2.

urt-997-2.gif
Puc.2

Television interenference Manual, RSGB, 1979.

Радиолюбитель. KB и УКВ 9/97, c.29