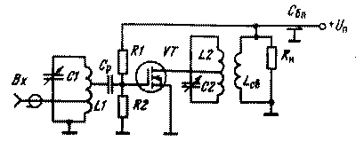
Практические схемы узкополосных усилителей
мощности на полевых транзисторах


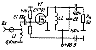
Усилители мощности, работающие в классе А, применяются редко. В основном это усилители ВЧ радиоприемных устройств с большой перегрузочной способностью. Практическая схема такого усилителя показана на рис.1. Входной L1С1-контур и выходной L2С2-контуры обычно синхронно перестраиваются и настроены на частоту входного сигнала.

uvh-pt-1.gif
Рис.1. Усилитель мощности класса А на МДП-транзисторе

Эквивалентное сопротивление Rэ выходного контура Rэ=P2p2/(RL+Rн'), где р=Sqr(L2/C2), Rн' - сопротивление нагрузки, внесенное в колебательный контур; RL - активное сопротивление потерь; Р2 - коэффициент включения контура. Величина Rн'=Rн/n22, где n2 - коэффициент трансформации.

Добротность выходного контура при его полном включении Q=RэRi/(Rэ+Ri)2pfoL2 снижается из-за шунтирующего действия выходного сопротивления транзистора Ri. У мощных МДП-транзисторов Ri невелико и обычно не превышает десятков килоом. Поэтому для увеличения Q2 используется неполное включение контура.

Полоса пропускания выходного контура 2Df2=fo2/Q2, а частота резонанса fo2=l/2pSqr(L2C2). В КВ-диапазоне такой усилитель может обеспечить Ки до нескольких десятков. Важным показателем усилителя является уровень шумов. Шумовые свойства мощных МДП-транэисторов рассмотрены в работах [7, 168].

На рис.2 показана практическая схема УМ на мощном МДП-транзисторе КП901А. Поскольку не ставилась задача получения малой полосы частот L2C2, контур включен непосредственно в цепь стока и шунтируется нагрузкой Rн=50 Ом. В классе А усилитель имел Ku=5(Ku=SRн) и Кр>20 на частоте f=30 МГц. При переходе в нелинейный режим выходная мощность достигала 10 Вт.

uvh-pt-2.gif
Рис.2. Высокочастотный усилитель мощности на транзисторе КП901А

Двухкаскадный УМ (рис.3) выполнен на транзисторах КП902А и КП901А. Первый каскад работает в классе А, второй в классе В. Для обеспечения класса В достаточно исключить делитель из цени затвора второго транзистора. В усилителе использована широкополосная цепь связи между каскадами. На частоте 30 МГц усилитель обеспечивал Рвых=10 Вт при Ки>15 и Кр>100.

uvh-pt-3.gif
Рис.3. Двухкаскадный усилитель на мощных МДП-транзисторах

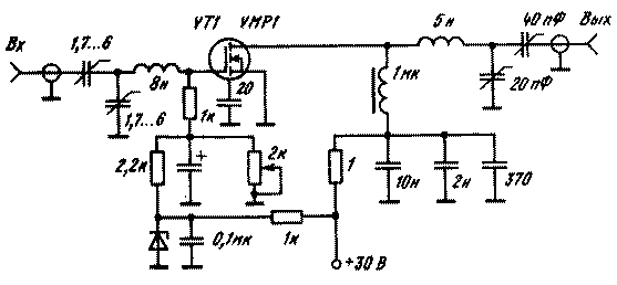
Узкополосный усилитель на рис.4 предназначен для работы в диапазоне частот 144... 146 МГц. Он обеспечивает усиление по мощности 12 дБ, уровень шумов 2,4 дБ и уровень интермодуляционных искажений не более 30 дБ.

uvh-pt-4.gif
Рис.4. Узкополосный усилитель мощности для работы в диапазоне 144... 146 МГц

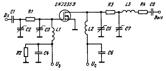
Резонансный усилитель на мощном МДП-транэисторе 2NS235B (рис.5) на частоте 700 МГц обеспечивает получение Рвых=17 Вт при КПД 40...45%.

uvh-pt-5.gif
Рис.5. Резонансный усилитель мощности с рабочей частотой 700 МГц

Усилитель на рис.6 содержит цепь нейтрализации, уменьшающую до уровня -50 дБ уровень обратных наводок. На частоте 50 МГц усилитель имеет увеличение по мощности 18 дБ, уровень шумов 2,4 дБ и выходную мощность до 1 Вт.

uvh-pt-6.gif
Рис.6. Малошумящий нейтрализованный УМ

В запатентованной схеме рис.7 (патент США 3.919563) на частоте 70 МГц достигнут реальный КПД, равный 90% при выходной мощности 5 Вт на частоте 70 МГц. Добротность выходного контура при этом равна 3.

uvh-pt-7.gif
Рис. 7. Ключевой усилитель мощности с КПД, равным 90%.

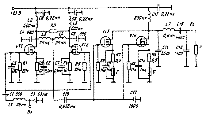
На рис.8 представлена схема трехкаскадного УМ на отечественных мощных МДП-транзисторах КП905Б, КП907Б и КП909Б.

uvh-pt-8.gif
Рис.8. Трехкаскадный резонансный УМ диапазона 300 МГц

Усилитель обеспечивает мощность в нагрузке 30 Вт на частоте 300 МГц. В первых двух каскадах используются резонансные П-образные согласующие цепи, а в выходном каскаде - Г-обраэная цепь на входе и П-образная на выходе. Зависимости КПД и Рвых от Uc и Рвыхэ и Кр от Рвх, полученные экспериментально и расчетным путем, представлены на рис.9.

uvh-pt-9.gif
Рис.9. Зависимости параметров оконечного каскада трехкаскадного УМ
от напряжения питания (а) и входной мощности (б):
--- эксперимент; - - - расчет

При использовании УМ в АМ-радиопередатчиках (с амплитудной модуляцией) возникают трудности, связанные с обеспечением линейности модуляционной характеристики, т. е. зависимости Рвых от амплитуды входного сигнала. Они усугубляются при использовании резко нелинейных режимов работы, таких как класс С. На рис.10 представлена схема радиопередатчика КВ-диапазона с амплитудной модуляцией. Мощность передатчика 10,8 Вт при использовании мощного УМДП-транзистора VMP4. Модуляция осуществляется изменением напряжения смещения на затворе.

uvh-pt-10.gif
Рис.10. Схема радиопередатчика КВ-диапазона с амплитудной модуляцией

Для уменьшения нелинейности модуляционной характеристики (кривая 1 на рис.11) в передатчике используется обратная связь по огибающей. Для этого выходное АМ-напряжение выпрямляется и полученный низкочастотный сигнал используется для создания ООС. Модуляционная характеристика 2 на рис.10 иллюстрирует существенное улучшение линейности.

uvh-pt-11.gif
Рис.11. Модуляционная характеристика радиопередатчика
в отсутствии (1) и при наличии (2) линеаризации

На рис.12 приведена принципиальная схема ключевого УМ с выходной номинальной мощностью 10 Вт и рабочей частотой 2,7 МГц. Усилитель выполнен на транзисторах КП902, КП904. Коэффициент полезного действия усилителя при номинальной выходной мощности 72%, коэффициент усиления мощности около 33 дБ. Усилитель возбуждается от логического элемента К133ЛБ, напряжение питания 27 В, пик-фактор напряжения стока выходного каскада равен 2,9. При соответствующей перестройке цепей связи усилитель с заданными параметрами работал в диапазоне 1,6...8,1 МГц.

uvh-pt-12.gif
Рис.12. Ключевой УМ с выходной номинальной мощностью 10 Вт

Для обеспечения заданной мощности на более высоких частотах необходимо увеличивать мощность возбудителя.

Конструктивно оба УМ были собраны на печатных платах с использованием стандартных радиаторов 100x150x20 мм, что объясняется стандартньми размерами блока УМ в радиопередатчиках. Катушки индуктивностей в цепях связи - цилиндрические на ферритовых стержнях марки ВЧ-30 диаметром 16. Добротность катушек индуктивностей Q=150.

В качестве блокировочных дросселей в цепях питания стока транзисторов одноваттного усилителя и предварительного каскада 10-ваттного усилителя использовались стандартные дроссели с индуктивностью 600 мкГн. Дроссель питания в цепи стока транзистора КП904 - на ферритовом кольце, его индуктивность 100 МкГ.

На рис.13 приведена принципиальная схема ключевого УМ с номинальной выходной мощностью Рвых=100 Вт, предназначенная для использования в необслуживаемых радиопередатчиках КВ-диапазона. Усилитель содержит каскад предварительного усиления, обратный на двух транзисторах КП907. На входе VTI включен согласующий П-образный контур С1L1С2СЗ.

uvh-pt-13.gif
Рис.13. Ключевой УМ с номинальной выходной мощностью 100 Вт

Оконечный каскад собран та шести транзисторах КП904А. Такое число транзисторов было выбрано по соображениям повышения КПД. Вместо транзисторов КП904Б можно включить также шесть транзисторов КП909 или три более мощных KП913. Оптимальный ключевой режим цепи стока обеспечивается формирующим контуром, содержащим элементы С14, С15, С16, L7.

Усилитель имеет общий КПД=62%. При этом электронный КПД выходного каскада составляет около 70%. Мостовая схема включения транзисторов предварительного каскада использована для сохранения работоспособности усилителя (хотя и с ухудшенными параметрами) при выходе из строя выходного транзистора. С этой же целью в истоки мощных транзисторов включены индивидуальные плавкие предохранители, назначение которых - отключать неисправный транзистор. Если в результате его пробоя в линейке транзисторов возникает режим, близкий к режиму короткого замыкания, это делает усилитель неработоспособным.

Параллельное включение мощных МДП ПТ не создает дополнительных трудностей при расчете и настройке УМ. Уменьшение КПД усилителя по сравнению с аналогичным по построению усилителем (см. рис.12) связано в основном с использованием транзисторов по мощности в 100-Вт усилителе. При снижении уровня выходной мощности до 50 Вт КПД усилителя возрастает до 85%, а электронный КПД -до 90%. Приведенные на рис.13 значения параметров элементов соответствуют частоте 2,9 МГц.

Пик-фактор напряжения на стоках транзисторов КП904 равен 2,8, а сами транзисторы работают в режиме, близком к оптимальному. Пик-фактор напряжения стока в каскадах на транзисторах КП907 равен П=2,1. Транзистор работает в ключевом режиме, однако оптимальность режима не обеспечивается, поскольку оптимальный ключевой режим для данных транзисторов при Uс=27 В и угле отсечки ф=90° был бы опасен из-за значительного пик-фактора, при котором напряжение на стоке может превысить максимально допустимое напряжение, равное 60 В для транзистора КП907.

На рис.14, а приведены экспериментальные и расчетные кривые, иллюстрирующие зависимости КПД, Рвых и hэ от угла отсечки тока стока. Из рисунка видно хорошее приближение расчетных данных к экспериментальным. Следует отметить что область возможных значений углов отсечки оказывается довольно узкой. Увеличению углов отсечки препятствует быстрый рост пик-фактора напряжения на стоке, а уменьшению - рост необходимого напряжения возбуждения, которое довольно скоро начинает совместно с напряжением смещения Uз превышать Uзи доп. Разумеется, при уменьшении уровня Рвыт диапазон возможных изменений углов отсечки тока стока расширяется.

uvh-pt-14.gif
Рис.14. Зависимости выходной мощности и КПД от угла отсечки 0 (а)
и от температуры окружающей среды (б):
--- эксперимент; - - - расчет

Усилитель выполнен на печатной плате. В качестве теплоотвода использован радиатор размерами 130X130X50 мм. В цепях питания транзисторов КП907 использованы стандартные дроссели ДМ-01 индуктивностью 280 мкГн. Дроссели моста сложения намотаны на ферритовых кольцах ВК-30 диам.=26. Дроссель в цепи питания выходного каскада намотан на ферритовом кольце ВЧ-30 диам.=30. Катушка индуктивности в цепи связи выходного каскада с нагрузкой - воздушная, намотана посеребренной проволокой диам.=2,5, диаметр витка 30 мм, L=80 нГн.

Температурные зависимости выходной мощности РВых и КПД ключевого УМ с выходной мощностью 100 Вт приведены на рис.14,б. Из рассмотрения приведенных зависимостей видно, что в диапазоне -60...+60°С, входная мощность УМ изменяется не более чем на ±10%. Незначительное влияние оказывает температура и на КПД, который в указанном диапазоне изменяется на ±5%. При этом наблюдается падение выходной мощности и КПД с ростом температуры, связанное с уменьшением крутизны 5 с ростом температуры. В обычном диапазоне температур -60 ... +60° С изменение hэ и Рвых незначительно, причем это достигается без каких-либо специальных мер термостабилизации УМ. Последнее также является достоинством мощных МДП-транзисторов.

Литература:

СХЕМОТЕХНИКА УСТРОЙСТВ НА МОЩНЫХ ПОЛЕВЫХ ТРАНЗИСТОРАХ.СПРАВОЧНИК. Под редакцией В.П.ДЬЯКОНОВА