ТРЕХПОЛОСНЫЙ РЕГУЛЯТОР ТЕМБРА
С помощью данного регулятора тембра можно достичь любопытного воздействия на звук (поднять или снизить громкость музыкального сопровождения).
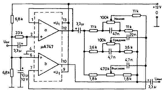
Операционные усилители (ОУ), которые можно выбрать по собственному усмотрению, настраиваются по постоянному току на половину напряжения питания. Нагружены ОУ на трехканальный фильтр. При среднем положении потенциометров усиление по напряжению во всем звуковом диапазоне близко к единице (0 дБ). Если же, например, потенциометр "Средние" находится в одном из крайних положений, частота 1 кГц "поднимается" примерно на 20 дБ; во втором крайнем положении происходит завал той же частоты примерно на 20 дБ. От редакции: операционный усилитель uА 747 можно заменить отечественным КР140УД20. 
Hobby Electronika, N7/2000
Перевод [А.Бельского]