ПРЕОБРАЗОВАТЕЛЬ НАПРЯЖЕНИЯ


А.ГОЛЕНКЕВИЧ, г.Брянск.

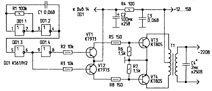
Контур, образованный повышающей обмоткой трансформатора и С4, настроен в резонанс на частоту 50 Гц.

pit_6o1-1.gif
Все детали не дефицитны. Транзисторы КТ973 можно использовать с любым буквенным индексом. Повышающий трансформатор-любой сетевой, мощностью не менее 100 Вт, первичная обмотка которого рассчитана на 220 В, а вторичные - на 12 (15) В каждая. Транзисторы необходимо установить на теплоотводы. В качестве радиатора лучше подойдут радиаторы игольчатого типа.