ПОМЕХОУСТОЙЧИВЫЙ УКВ-КОНВЕРТОР


А. ПАХОМОВ, г. Зеленоград.

Для приема недостающего УКВ-ди-апазона радиолюбители часто используют УКВ-конверторы, преобразующие частоты отсутствующего диапазона (например, УКВ1 65,8...73 МГц) в частоты имеющегося (например, УКВ2 88...100 МГц). В литературе описано немало таких преобразователей [1 ...3], но, к сожалению, практическое их применение часто не дает желаемых результатов. Причины - перегрузка по входу и возникновение перекрестных помех.

Дело в том, что преобразователи частоты весьма чувствительны к уровню входного сигнала - линейность преобразования гарантируется только до определенных величин последнего. Так, в наиболее совершенных преобразователях с балансным смесителем и отдельным гетеродином допустимая величина входного сигнала составляет 0,1 напряжения гетеродина [4]. Поскольку напряжение гетеродина обычно составляет 100...200 мВ, такие преобразователи удовлетворительно работают лишь до уровней входных сигналов 10...20 мВ. Преобразователи со смесителями небалансного типа на биполярном транзисторе [1, 2] имеют значительно худшую линейность и, следовательно, еще меньший диапазон входных сигналов.

Допустимые уровни входных сигналов легко превышаются при работе конвертора в реальных условиях, что приводит к нарушению его работы. Причем характерно, что эта проблема менее остра в больших городах, где принимаются в основном местные УКВ-радиостанции. Несмотря на высокие уровни напряженности их полей, эти уровни - одного порядка, и соответствующие им входные сигналы легко понизить простым уменьшением действующей высоты антенны, например, телескопической.

Иные условия - в малых городах и сельской местности, где принимаются в основном удаленные станции, но часто имеется местный передатчик или ретранслятор. Создаваемая им напряженность поля, как правило, на 1...3 порядка выше, чем от сигналов удаленных станций. При этом устанавливаемые для приема слабых сигналов широкополосные наружные антенны и антенные усилители только ухудшают ситуацию, так как дополнительно усиливают мощный сигнал местного передатчика, который в результате может достигать сотен милливольт и даже единиц вольт. Разумеется, такой входной сигнал не может быть преобразован линейно; наблюдается его прямое прохождение через смеситель с образованием множества паразитных комбинационных частот.

Перегрузка преобразователя частоты - явление, наблюдаемое и в обычном супергетеродинном приемнике. Но радиоприемник имеет тракт ПЧ, в котором побочные продукты нелинейного преобразования отсеиваются узкополосными фильтрами. Кроме того, мощный сигнал ограничивают системами АРУ, управляемыми входными аттенюаторами, и т.п. Конвертор же, как простейшее устройство, не имеет фильтров и ограничителей входного сигнала, поэтому его перегрузка приводит к более сложным последствиям. Весь спектр паразитных частот поступает на вход радиоприемника, многие из них оказываются в его рабочем диапазоне, детектируются и создают побочные каналы приема, "забивающие" частоты полезных сигналов. В результате прием одних станций резко ухудшается из-за интерференционных помех, других - становится невозможным вообще.

С этим явлением автор столкнулся, изготовив конверторы по схемам [1, 3]. Конвертор предназначался для приема радиостанций диапазона УКВ1 на внешнюю логопериодическую антенну с усилителем, на расстоянии около 65 км от передающего центра.

Мощным мешающим сигналом оказался сигнал звукового сопровождения 4-го телевизионного канала (91,75 МГц), вещание на котором ведется местным ретранслятором. В этих условиях конвертор [1] практически не работал. Из-за побочных каналов приема, в лучшем случае удавалось настраиваться на одну из удаленных станций УКВ1 при плохом качестве и нестабильности приема. Не удалось получить хорошие результаты и с конвертором из [3] на базе двойного балансного смесителя, который также создавал побочные каналы приема и помехи. Кроме того, обе конструкции имели недостаточную чувствительность и высокий уровень шумов.

Следует отметить, что теоретически существует возможность повышения линейности преобразователей путем увеличения напряжения гетеродина. Например, в конверторе [3] на микросхеме К174ПС1 допустимо увеличить опорное напряжение до 1 В [5], применив отдельный мощный гетеродин. Однако этот путь ведет к усложнению конвертора, увеличению потребляемого им тока, и вряд ли оправдан в простых конструкциях.

Более рационально - уменьшить амплитуду мощного сигнала до уровня, обеспечивающего его линейное преобразование. Известные для этого в радиотехнике системы АРУ и управляемые аттенюаторы в конверторах неприменимы. Эти системы являются узкополосными и реагируют только на сигнал конкретной станции, на которую настроен радиоприемник. В то же время, УКВ-конвертор - широкополосное ненастраиваемое устройство. Мощный сигнал на его входе действует постоянно и не может быть ограничен частотно-зависимой АРУ.

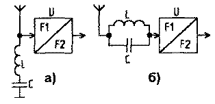
В этих условиях способом подавления мешающего сигнала является применение заградительных (режектор-ных) фильтров. В УКВ-диапазоне достаточной эффективностью обладают несложные пассивные фильтры на основе LC-контуров [6]. Самые простые из них представляют собой последовательный или параллельный колебательный контур. Последовательный контур имеет минимум полного сопротивления на резонансной частоте и включается параллельно входу (рис.1а). Параллельный контур, называемый также фильтром-пробкой, имеет максимум полного сопротивления на резонансной частоте и включается последовательно с входом (рис.1б).

pr-6o1-1.gif
Рис. 1

К сожалению, на нагрузке 75 Ом реальная добротность таких фильтров невысока, а полоса режекции оказывается слишком широкой. Лучшими параметрами обладают комбинации из последовательных и параллельных колебательных контуров. Такие фильтры известны из схемотехники старых ламповых моделей телевизоров, где они применялись в тракте ПЧ изображения.

Как показали исследования, хорошими параметрами при простоте схемного решения обладает комбинированный контур L1-C1-C2 (рис.2а). Его АЧХ, снятая измерителем Х1-7Б, показана на рис.2б. При точной настройке фильтра ширина полосы режекции по уровню К=0,707 составляет не более 2 МГц, глубина подавления - не менее 25 дБ. Простота и малые габариты позволяют легко встраивать подобный фильтр в любые конструкции конверторов. Можно использовать два таких фильтра, настроив их на разные частоты - для подавления двух мешающих сигналов, или в резонанс - для лучшего подавления одного сигнала помехи.

pr-6o1-2.gif
Рис. 2

Технические характеристики:

Напряжение питания, В - 6...12
Частота гетеродина, МГц - 26
Уровень собственных шумов, дБ, не более - 6
Степень подавления мешающего сигнала, дБ, не менее 25

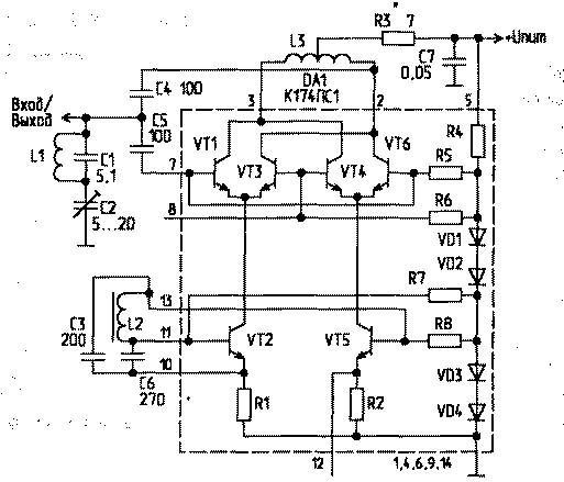
С учетом изложенного, автором разработай помехоустойчивый УКВ-конвер-тор с режекторным фильтром (рис.3). Основой его, как и в конверторе [3], является двойной балансный смеситель на микросхеме К174ПС1, подавляющий ряд комбинационных частот. По сравнению с прототипом, повышена чувствительность и уменьшен уровень шумов. Режекторный фильтр обеспечивает работу в сложных условиях приема.

pr-6o1-3.gif
Рис. 3
Гетеродин выполнен на транзисторах VT2, VT5 микросхемы DA1. В нем применено нестандартное включение частотозадающих элементов L2, СЗ, С6, что улучшает работу гетеродина и сокращает число внешних элементов.

Известно, что максимальный коэффициент преобразования балансного смесителя наблюдается при равенстве коллекторных токов транзисторов дифференциального каскада [4]. В конверторе [3] это условие не выполняется, что снижает коэффициент передачи, а значит, и чувствительность. В данном случае выходы 2, 3 смесителя нагружены на симметричную катушку L3. Это обеспечивает баланс дифференциальных пар транзисторов VT1, VT3 и VT4, VT6 по постоянному и переменному токам и, как следствие, повышение чувствительности. Не менее важно обеспечить и оптимальную величину коллекторных токов транзисторов смесителя. Для микросхемы К174ПС1 минимальный уровень шумов достигается при общем токе дифференциальных пар транзисторов около 1 мА. Точная величина этого тока задается резистором R3.

Конвертор работает следующим образом. Входной сигнал через конденсатор С5 поступает на базы транзисторов VT1, VT6. В дифференциальных каскадах VT1, VT3 и VT4, VT6 он смешивается с сигналом гетеродина и, преобразованный, поступает на выход через конденсатор С4. В спектре выходных частот присутствует полезная суммарная составляющая, которая содержит сигналы радиостанций УКВ1, перенесенные в область частот диапазона УКВ2. Дальше она поступает в радиоприемный тракт.

В конверторе использованы резисторы МЛТ-0,125, конденсаторы КМ или КТ. Подстроечный конденсатор С2 - типа КТ4-21. Для стабильности настройки необходимо, чтобы конденсаторы С1, С2, СЗ, С6 имели минимальный ТКЕ. Катушка гетеродина L2 намотана виток к витку на каркасе СБ-1а диаметром 8 мм с под-строечником и содержит 5 витков провода ПЭВ или ПЭЛ 0,56 мм. Таким же проводом, виток к витку, но без каркаса - на оправке 05 мм навита катушка L3, которая содержит 10 витков с отводом от середины. Чтобы получить хорошую добротность режектор-ного фильтра, его катушка L1 выполнена более толстым проводом - 0,95 мм. Она содержит 4 витка, навитых на оправке диаметром 5 мм с небольшим зазором между витками.

Все детали размещены на односторонней печатной плате из фольгированного стеклотекстолита толщиной 1...2 мм (рис.4). Элементы гетеродина и входные цепи разделены общим печатным проводником, выполняющим роль экрана. В отверстие диаметром 8 мм вклеивается каркас катушки L2. Отверстие диаметром 3 мм предназначено для крепления конвертора.

pr-6o1-4.gif
Puc.4
Конвертор питается от радиоприемника стабилизированным напряжением 6...12 В. Напряжение менее 6 В использовать не рекомендуется из-за уменьшения коэффициента передачи и увеличения уровня шумов. Потребляемый ток составляет 2...4 мА.

Конвертор работает на антенну радиоприемника, к которой следует подключить его точку входа/выхода. Однако если на входе приемника имеется широкополосный контур связи с антенной, то лучше включить конвертор за ним. Сигналы радиостанций УКВ1 незначительно ослабляются этим контуром, а конвертор работает более стабильно, чем при непосредственном подключении к антенне. Полосу пропускания входного контура в сторону более низких частот можно расширить увеличением емкости его конденсаторов на 10...15 пФ.

Настройку конвертора следует начинать с режекторного фильтра. Для этого подключают высокочастотный милливольтметр в выходу тракта ПЧ приемника, систему АРУ следует отключить. Настроив радиоприемник на мощный сигнал, вращением ротора конденсатора С2 добиваются минимальных показаний милливольтметра. При этом сигнал на выходе тракта ПЧ должен упасть в 25...30 раз. Если такое подавление не достигается, то следует точнее подобрать емкость конденсатора С1. При отсутствии приборов фильтр настраивают "на слух" по максимальному подавлению побочных каналов приема. Критерием здесь является исчезновение побочных каналов приема и появление на месте большинства из них радиостанций УКВ1.

Диапазон приема конвертора устанавливают подстроечным сердечником катушки гетеродина L2, ориентируясь по частотам известных радиостанций УКВ1. Иногда, при недостаточном ходе подстроечника, приходится подбирать емкость конденсатора СЗ. По окончании настройки витки всех катушек и сердечник катушки L2 следует закрепить компаундом или парафином.

Последняя операция - минимизация шумов. Как уже отмечалось, уровень шумов зависит от режима работы смесителя, задаваемого резистором R3. Для настройки вместо постоянного резистора включают переменный (20...30 Ом). Затем, настроив радиоприемник на одну из удаленных станций, вращением движка переменного резистора добиваются минимального уровня шума. Предпочтительно это делать в паузе передачи, когда шумы не маскируются речевым или, тем более, музыкальным сигналом. После этого измеряют сопротивление переменного резистора и впаивают на его место постоянный такого же сопротивления. При отсутствии точного номинала, резистор можно составить из двух - например, резистор 7 Ом (рис.3) получен из параллельно соединенных 10 и 15 Ом.

Изготовленный конвертор установлен автором в магнитоле фирмы SHARP. Включается он автоматически датчиком положения ротора КПЕ [7], при перестройке приемника на частоты ниже 100 МГц. Разумеется, вместо датчика положения можно использовать обыкновенный выключатель - кнопку или тумблер.

На внешнюю антенну с помощью конвертора принимаются до 4-5 удаленных станций УКВ1, причем две наиболее мощные - "Радио России" и "Маяк" - стабильно и с высоким качеством. Прием остальных станций ограничен лишь реальной чувствительностью и условиями прохождения УКВ, а не побочными каналами приема и перекрестными помехами - как в других подобных конструкциях.

Литература

1. Степанов В. Универсальный УКВ-конвертор. - Радио, 1994, N10, С.13.
2. Туркин Н. УКВ-конвертор. - Радио, 1994, N12, С.19.
3. Кармызов А. УКВ-конвертор. - Радио, 1995, N9, С.28.
4. Бакуняев А.А., Борисов Н.М. и др. Справочная книга радиолюбителя-конструктора. Кн.1 - М.: Радио и связь, 1993, 336 с.
5. Новаченко И.В., Петухов В.М. и др. Микросхемы для бытовой радиоаппаратуры. Справочник - М.: Радио и связь, 1989, 384 с.
6. Мишустин И. А. Повышение помехоустойчивости радиолюбительского приема. - М.: Энергия, 1974, 88 с.
7. Пахомов А. Датчик положения ротора КПЕ. - Радио, 1998, N7, С.19.


РЛ 6/2001