ПРОСТОЙ УКВ ПРИЕМНИК


Ю. АРАКЕЛОВ, Д. ОПАРИН, С. КОРЖ, г. Харьков

Эта конструкция разработана членами кружка радиоэлектроники "Сонар" Центра детского и юношеского творчества г. Харькова. Несмотря на свою простоту, приемник позволяет с хорошим качеством принимать сигналы радиостанций даже в условиях "густозаселенного " диапазона.

УКВ приемники на микросхемах К174ХА34, К174ХА42 и других аналогичных пользуются большой популярностью у радиолюбителей. В частности, многих заинтересовали публикации в журнале "Радио" [1, 2]. К сожалению, при всей их простоте в реализованных конструкциях не всегда удается добиться качественного приема радиостанций, так как в УПЧ данных микросхем используется низкая промежуточная частота (около 70 кГц). Главный недостаток приемников с низкой ПЧ - наличие зеркального канала приема, который из-за близости по частоте к основному не может быть подавлен входными контурами. В обычных промышленных супергетеродинных УКВ приемниках промежуточная частота принята равной 10,7 МГц, что обеспечивает хорошее подавление помех зеркального канала. Однако повторение такой конструкции начинающими радиолюбителями связано с большими трудностями, так как здесь не обойтись без применения сложной измерительной аппаратуры. Поэтому для создания кружковцами простого УКВ радиоприемника был выбран промышленный модуль усилителя промежуточной частоты звука телевизионных приемников (УПЧЗ-1) с промежуточной частотой 6,5 МГц, частотный детектор и фильтры которого не требуют настройки. В качестве смесителя использована широко распространенная микросхема К174ПС1.

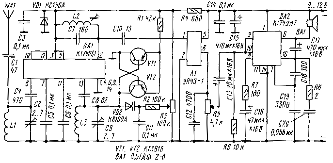
Принципиальная схема УКВ радиоприемника приведена на рисунке. Сигнал от антенны WA1 через конденсатор С1 поступает на входной контур L1C2, настроенный на середину принимаемого диапазона (100... 108 МГц). Низкая добротность входного контура (около 10) позволяет перекрыть весь диапазон без его перестройки, однако из-за высокой промежуточной частоты обеспечивается подавление помех зеркального канала.

pr_501-1.gif
Puc.1
Выделенный сигнал через конденсатор С4 подается на вход смесителя. Его роль выполняет балансный перемножитель на микросхеме DA1. На второй вход смесителя через конденсатор С8 поступает сигнал гетеродина. Гетеродин собран на транзисторах VT1, VT2 по схеме мультивибратора, нагруженного резонансным контуром. Частота гетеродина определяется контуром L3C9VD2 и перестраивается изменением обратного напряжения на варикапе с помощью резистора R3. Такое построение обеспечивает стабильность работы гетеродина совместно со смесителем. Питающее напряжение смесителя и гетеродина стабилизировано VD1R4.

Нагрузкой смесителя является контур L2C7, настроенный на промежуточную частоту (6,5 МГц). Через конденсатор СЮ сигнал промежуточной частоты подается на вход модуля А1 (УПЧЗ-1), где происходит усиление и детектирование ЧМ сигнала. С выхода детектора через переменный резистор R5, который выполняет функцию регулятора громкости, сигнал звуковой частоты подается на вход УЗЧ, собранного на микросхеме К174УН7.

В приемнике может быть использована микросхема К174ПС4, УПЧЗ-1 можно заменить на УПЧЗ-2, а микросхему К174УН7 - любой другой с функцией усилителя мощности звуковых частот. При необходимости УМЗЧ можно собрать по любой другой схеме. Резисторы - типа МЛТ-0,125, конденсаторы - КМ-5, КМ-6 или аналогичные. Варикап - КВ109А, КВ111 или аналогичный. Подстроечные конденсаторы - типа КПК-МП. Стабилитрон VD1 - типа КС156А. Транзисторы - серии КТ361 с любым буквенным индексом. Катушки L1 и L3 - бескаркасные, намотаны проводом диаметром 0,8 мм на оправке диаметром 4 мм и содержат по 10 витков. Катушка L2 намотана на унифицированном каркасе с ферритовым подстроечником от фильтра промежуточной частоты средневолнового супергетеродинного радиоприемника и содержит 20 витков провода диаметром 0,15 мм.

Настройку УКВ приемника начинают с проверки работоспособности УМЗЧ. Работу гетеродина контролируют подключением вольтметра к точке соединения эмиттеров VT1 и VT2. При касании пальцем контура L3C9 показания вольтметра должны меняться, что свидетельствует о работоспособности гетеродина.

Далее изменением емкости конденсатора С9 необходимо настроиться на какую-либо радиостанцию. Вращением подстроечника катушки L2 добиваются наилучшего качества звука. Сжатием или растяжением витков катушки L3 и изменением емкости подстроечного конденсатора С9 добиваются необходимого перекрытия по диапазону.

Заканчивается процесс наладки настройкой входного контура L1C2 по максимальной чувствительности приемника.


Радио 5/2001, с.15