УНИВЕРСАЛЬНЫЙ ИК-ДАТЧИК


Д.СИМОНОВ, г. Губкин, Белгородской обл.

Среди радиолюбительских и промышленных конструкций охранных систем (ОС) особое место занимают такие, в которых используется инфракрасное излучение. Классический принцип работы большинства из них - регистрация прерывания ИК-луча, идущего от излучателя ИК-импульсов (И) к приемнику (П)(рис.1а) [1]. Но часто необходим контроль лишь на небольшой территории (лестничная клетка, дверной проем и т.п.). В таких случаях рациональнее использовать описанное ниже устройство, работающее по принципу регистрации отраженного ИК-излучения (рис.1 б) [2].

rl-6o1-1.gif
Рис. 1

Параметры ИК-датчика:

Напряжение питания, В  -   4,5...12 
Потребляемый ток в дежурном режиме при Un=9 В, мА  -   2
Дальность действия, м
	-min - 0,1
	-max - 2,5

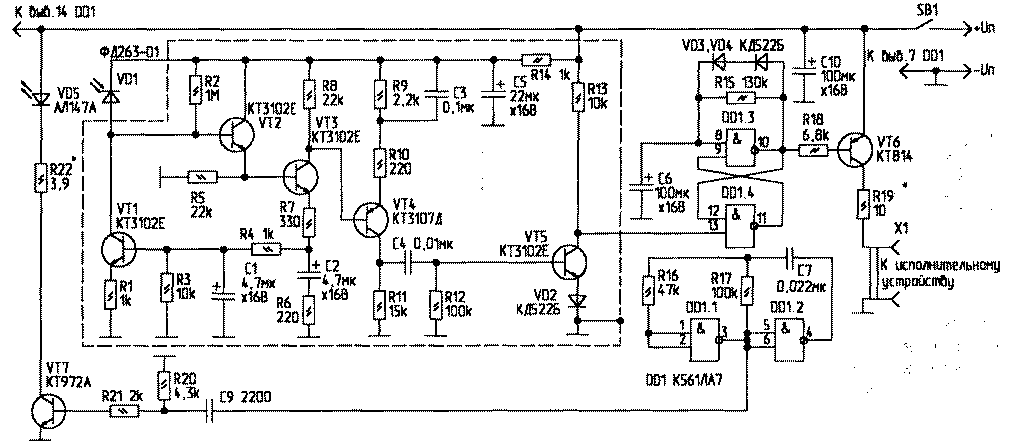
Принципиальная схема устройства изображена на рис.2. На элементах DD1.1, DD1.2 собран генератор импульсов, которые через дифференцирующую цепь R20-C9 поступают на базу ключевого транзистора VT7. При этом ИК-светодиод VD5 постоянно излучает короткие импульсы ИК-излучения с частотой около 200 Гц. Фотоприемник на транзисторах VT1 ...VT5 собран по типовой схеме. ИК-фотодиод VD1 расположен рядом с VD5 и включен в ту же сторону. Он снабжен непрозрачным пластмассовым экраном в виде гильзы, чтобы избежать прямой засветки ИК-излучением от VD5.

rl-6o1-2.gif
Рис. 2

Как только перед датчиком появляется "нарушитель", ИК-излучение отражается от него и попадает на вход фотоприемника. Первый же отрицательный импульс на его выходе устанавливает на выводе 10 одновибратора DD1.3, DD1.4 уровень логического "0". Транзистор VT6 открывается, и на исполнительное устройство, подключенное к разъему Х1, подается напряжение, приблизительно равное Un. По истечении времени, определяемого номиналами С6 и R15, одно-вибратор возвращается в исходное состояние (логическая "Г на выводе 10), VT6 закрывается, и устройство автоматически переходит в дежурный режим. Если "нарушитель" прошел мимо датчика даже очень быстро, исполнительное устройство все равно срабатывает (при указанных номиналах С6 и R15 в течение 15с). Диоды VD3, VD4 ускоряют процесс перезарядки конденсатора С6 (при установке только одного диода одновибратор в некоторых случаях может не возвратиться в исходное состояние). Данное устройство можно использовать не только для охраны. Например, оно может автоматически включать освещение в комнате, когда в ней находятся люди.

Детали и конструкция. В качестве DD1 можно использовать К561ЛА7, К176ЛА7 (при этом Un должно быть не более 9 В). Транзистор VT7 - любой кремниевый, структуры p-n-р (его мощность зависит от сопротивления нагрузки). Диоды VD3.VD4 можно заменить на другие маломощные, например, КД521, КД503 и др. VD5 - любой светодиод ИК-диапазона(АЛ156, АЛ 107 и др.)

В качестве VD2 лучше использовать те ИК-фотодиоды, которые конструктивно снабжены фокусирующей линзой (ФД263-01, ФД320, ФД338 и др.). Фотоприемник желательно поместить в экран.

В процессе настройки нужно установить требуемую дальность действия датчика. Сделать это можно регулировкой тока через VD5 (подбором R22) или изменением чувствительности фотоприемника (затемнение VD1).

Увеличить дальность действия можно также применением оптических систем, фокусирующих ИК-излучение, устанавливаемых перед VD5 [1], или включением нескольких однотипных ИК-светодиодов последовательно.

При установке и эксплуатации необходимо учитывать, что, как и любое другое устройство, данный датчик может быть чувствителен к ИК-излучению осветительных ламп накаливания на расстоянии в несколько метров.

Литература
1. Виноградов Ю. Электронная охрана. - М.: Символ-Р, 1996.
2. Нечаев И. ИК-локатор для слепых. - Радио, 1989, N10, С.84.


РЛ 6/2001