KB ТРАНСИВЕР НТ981М


Алексей БЕЛЯНСКИЙ (US2II)

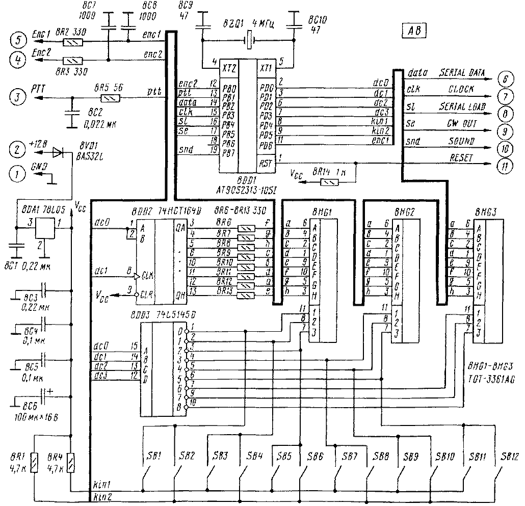
Модуль управления синтезатора, узел А8, выполнен на микроконтроллере AT90S2313 фирмы Atmel <http://www.atmel.com>. Его принципиальная схема показана на рис. 19. Кроме собственно микроконтроллера (микросхема 8DD1), в устройство входят еще две микросхемы 8DD2 и 8DD3. Они обеспечивают опрос клавиатуры модуля управления и работу девятиразрядного знакосинтезирующего индикатора. Последний выполнен на трех, 8HG1-8HG3, трехзначных светодиодных индикаторах зеленого цвета свечения - TOT-3361AG. Резисторы 8R6-8R13 ограничивают ток, протекающий через светодиоды индикатора.

rst-601-1.gif
Рис. 19

Так как индикация динамическая, то в каждый момент времени светится только один разряд индикатора, состояние которого определяется сдвиговым регистром 8DD2. В этот регистр последовательно записывается код символа, отображаемого в данный момент. Номер отображаемого разряда задается четырехразрядным двоичным кодом, поступающим с контроллера на вход дешифратора 8DD3. Выход дешифратора, соответствующий входному коду 1001, не задействован. В этот момент все разряды индикатора погашены, и тем самым исключается паразитная подсветка нерабочих сегментов в момент последовательной передачи данных в регистр 8DD2.

Два младших разряда микроконтроллера объединены с сигналами "DATA" и "CLK" регистра 8DD2, что потребовало некоторых программных ухищрений, но позволило съэкономить два вывода микроконтроллера. Имеются в виду разряды управляющего слова dc0...dc3. Их значение определяет номер индицируемого в данный момент разряда индикатора. Из них два младших dc0 и dc1 используются еще как выход данных для сдвигового регистра и выход тактовой последовательности того же регистра соответственно. При выводе на индикатор очередного разряда вначале изменением состояния dc0 и dc1 последовательно записывается код символа в регистр 8DD2, после чего dc0...dc3 принимают значение номера индицируемого разряда и остаются в этом состоянии до тех пор, пока не придет время отображать следующий разряд.

Одновременно с регенерацией дисплея происходит опрос клавиатуры SB1-SB12, верхние, по схеме, контакты которой подключены к выходам дешифратора 8DD3. Нижние контакты клавиатуры объединены в две группы по шесть кнопок и подключены к двум входам микроконтроллера. Если ни одна из кнопок не нажата, на этих входах постоянно присутствует логическая 1. Нажатие одной из кнопок вызывает появление серии импульсов на входах, проанализировав которые, контроллер определяет номер нажатой кнопки.

Вывод 3 контроллера подключается к шине "РТТ" трансивера. С нее контроллер получает сигнал, в каком режиме находится трансивер: приема или передачи. Это необходимо для обработки функции "Split".

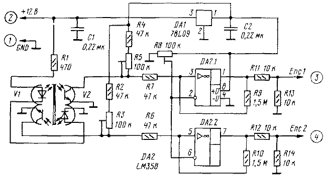
К выводам 4 и 5 узла А8 подключено устройство плавной перестройки трансивера - валкодер (оптико-кодирую-щее устройство). Его прототипом послужила конструкция, описанная в [5]. Непосредственно ручка настройки не претерпела практически никаких изменений (см. деталь 2 в [5]), остальные же элементы конструкции были доработаны. Схема электрической части валкодера показана на рис. 20.

rst-601-2.gif
Puc.20

В качестве оптопар применены фототранзисторные оптроны АОТ137А, работающие на отражение и установленные так, что световой поток излучающего элемента первого оптрона попадает на светоприемник второго, и наоборот. Расстояние между оптическими осями излучающего и приемного датчиков оптрона АОТ137А приблизительно равно 1,9 мм. Исходя из этого размера рассчитывается диск оптического модулятора (кольцо со штрихами). Для правильного определения направления вращения необходим сдвиг фазы импульсной последовательности снимаемой с первой оптопары относительно второй, кратный 90°. При этом максимальное расстояние между штрихами диска оптического модулятора должно быть равно 4/3 расстояния между оптическими осями. Для примененной нами оптопары это расстояние равно 2,53 мм, что соответствует 62 штрихам при диаметре диска 50 мм (рис. 21).

rst-601-3.gif
Puc.21

Опрос состояния валкодера осуществляется микроконтроллером по шинам "епс 1" и "епс 2". Алгоритм обработки сигналов построен так, что импульс считается как по положительному перепаду на выходе валкодера, так и по отрицательному, т. е., к примеру, 62 штриха диска обеспечивают 124 шага перестройки. При дискретности шага в 15 Гц скорость перестройки будет примерно 1,8 кГц на один оборот ручки настройки. Если эта величина недостаточна, можно увеличить количество штрихов диска оптического модулятора до 145 (это 4/7 расстояния между оптическими осями), но в этом случае настройка валкодера превратится в достаточно тонкую и трудоемкую работу.

Файл с изображением диска в формате Post Script можно найти на сайте журнала "Радио" <ftp://ftp.paguo.ru/pub/cq/HT891M>. Этот файл нужно импортировать в любую программу векторной графики (Corel DRAW, Xara) и распечатать лазерным принтером на прозрачную пленку.

С выводов 6, 7 и 8 на плату синтезатора (узел А7) подаются управляющие сигналы, а на выводе 10, при нажатии на любую кнопку клавиатуры, формируется короткий звуковой сигнал, который подмешивается в тракт НЧ трансивера (вывод 5 узла А5). Выводы 9 и 11 в описываемой версии программы не используются.

Программа, "зашитая" в микроконтроллер, составляет, пожалуй, 90 % труда, который потребовался на разработку управляющего модуля. Хотя, казалось бы, ничего особенного она не делает. Регенерирует дисплей, опрашивает клавиатуру, обрабатывает импульсы, следующие с валкодера, изменяет текущую частоту и программирует кристалл синтезатора МС12202, пересчитывает внутреннее представление частоты в десятичный формат и выводит на дисплей. Ну и еще кое-какие мелочи, на которых мы не будем заострять внимание. Исходный текст программы публиковаться не будет, но откомпилированная "прошивка" доступна на сайте, упомянутом выше.

Работа с синтезатором.

При включении синтезатора трансивер выдает короткий звуковой сигнал. На дисплее на 0,5 секунды появляется начальное сообщение и синтезатор переходит на диапазон 14 МГц в середину RTTY участка. Частота индицируется с точностью до 100 Гц, буква "А" или "В" в первой позиции индикатора обозначает активный VFO.

Для управления синтезатором используется клавиатура из 12 кнопок. Они соединены матрицей 6x2. Один из вариантов клавиатуры приведен на рис. 22.

rst-601-4.gif
Puc.22

Назначение клавиш.

SB1 "Fast" - переключение синтезатора в режим быстрой перестройки. В этом режиме каждый импульс от валкодера перестраивает синтезатор на величину одного сегмента частоты. При включенном режиме "Fast" во второй позиции индикатора появляется буква "F". Еще одно нажатие на эту кнопку режим "Fast" выключает. В режиме "Band" эта кнопка включает диапазон 1,9 МГц.

SB2 "Band" - переход на другой диапазон. При нажатии этой кнопки на дисплее отображается слово "Bnd" и программа ожидает нажатия любой цифровой кнопки. Для отмены этого режима без изменения диапазона можно нажать кнопку "ESC". В режиме "Band" эта кнопка включает диапазон 18 МГц.

SB3 "А->М" - запись частоты активного VFO в ячейку памяти. При нажатии этой кнопки на дисплее отображается слово "PUSH" и программа ожидает нажатия любой цифровой кнопки, определяющей номер ячейки, в которую будет записана частота. Для отмены этого режима без записи частоты можно нажать кнопку "ESC". В режиме "Band" эта кнопка включает диапазон 3,5 МГц.

SB4 "Split" - разнос частот приема-передачи. При включении этого режима символ в первой позиции индикатора начинает мерцать. Частота неактивного VFO приравнивается к частоте активного, и теперь, каждый раз при переходе на передачу, происходит смена VFO. Таким образом можно работать на разнесенных частотах как внутри диапазона, так и на разных диапазонах. При выключении режима "Split" частота активного VFO подтягивается к частоте неактивного и синтезатор возвращается на ту частоту, где он находился в момент включения режима "Split".

Если необходимо остаться на частоте приема, то перед выключением режима "Split" надо нажать кнопку "А=8". Нажимая кнопку "А<->В", можно прослушивать частоту передачи. В режиме "Band" эта кнопка включает диапазон 21 МГц.

SB5 "М->А" - извлечение частоты из памяти и запись в текущий VFO. При нажатии этой кнопки на дисплее отображается слово "POP" и программа ожидает нажатия любой цифровой кнопки, определяющей номер ячейки, из которой будет извлечена частота. Если ячейка пуста, то на дисплее будут на короткое время отображены прочерки. Для отмены этого режима без извлечения частоты можно нажать кнопку "ESC". В режиме "Band" эта кнопка включает диапазон 7МГц.

SB6 "Scan" - сканирование частоты. Эта функция работает так. При первом нажатии на клавишу "Scan" включается режим сканирования и частота начинает изменяться в сторону увеличения. Причем частота, на которой находился синтезатор в момент нажатия на эту клавишу, фиксируется как нижняя граница диапазона сканирования. При повторном нажатии на клавишу "Scan" частота, до которой дошел синтезатор, фиксируется как верхняя граница диапазона сканирования, и сканирование перезапускается с нижней границы. Следующее нажатие этой клавиши остановит сканирование, следующее снова запустит, но уже в заданных границах. И так далее. Для выключения режима сканирования со стиранием границ необходимо во время сканирования нажать клавишу "ESC". После этого можно установить новые границы сканирования, как было описано выше. В режиме "Band" эта кнопка включает диапазон 24 МГц.

SB7 "А<->В" - смена активного VFO. Буква А(В)в первой позиции дисплея, указывающая на активный VFO, изменится на В (А). В режиме "Band" эта кнопка включает диапазон 10 МГц.

SB8 . "Lock" - блокировка перестройки частоты валкодером. Обычно используется при работе на общий вызов в режиме RTTY В режиме "Band" эта клавиша включает диапазон 28 МГц.

SB9 "А=В" - уравнивание частоты неактивного VFO с частотой активного. На дисплее при этом на короткое время отображается слово "А=В". В режиме "Band" эта кнопка включает диапазон 14МГц.

SB10 . "Dial" - эта кнопка не используется и зарезервирована для дальнейшей модификации синтезатора.

SB 11 "ESC" - отмена ввода в некоторых режимах. Кроме того, в режиме сканирования выключает этот режим со стиранием границ диапазона сканирования.

SB 12 "Enter" - установка дискретности перестройки частоты валкодером. При нажатии этой клавиши на дисплее отображается слово "tun-" и мерцающий курсор предлагает ввести цифру. При вводе цифры "О" дискретность перестройки минимальна. В этом случае один импульс от валкодера изменяет частоту синтезатора на один шаг (12...15 Гц). При 62-х штрихах на диске валкодера скорость перестройки примерно 1,8 кГц на один оборот. Если ввести цифру 1, дискретность удваивается, 2 - утраивается и т. д. Соответственно цифра 9 увеличивает скорость перестройки в 10 раз. Но, разумеется, и шаг перестройки тоже увеличится в 10 раз. В режиме "Band" эта клавиша включает диапазон 144МГц.

(Продолжение следует}


Радио 6/2001, с.66-68.