ФУНКЦИЯ "HI/LOW" В СИ-БИ ТРАНСИВЕРЕ


А. СОКОЛОВ, г. Москва

Режим пониженной мощности передатчика ("LOW") удобен при общении с местными корреспондентами, экспериментах с ORPP-связью, настройке передающего тракта и антенно-фи-дерных устройств. Наконец, режим LOW незаменим как средство экономии ресурса автономного источника электропитания. В практике типична следующая ситуация: аккумулятор "сел", и выход в эфир невозможен. Однако при пониженной мощности аппаратура еще "тянет" и важный радиообмен все-таки удается провести. В предлагаемой статье рассмотрена возможность введения этого режима в радиостанцию YOSAN JC-2204.

При доработке Си-Би радиостанций часто возникает потребность в размещении новых коммутационных элементов для управления дополнительными функциями. Современные трансиверы имеют плотно скомпонованную переднюю панель, поэтому попытка "втиснуть" туда лишний тумблер или кнопку способна погубить не только дизайн, но и товарный вид изделия. Компромиссные варианты - установка коммутационного элемента на задней панели либо заимствование его у другой, менее значимой функции, - не всегда отвечают требованиям пользователя.

В этом случае автор рекомендует комбинированное устройство управления. С его помощью дополнительные функции и режимы активируются одновременным нажатием каких-либо двух штатных кнопок. Для этого разрабатывается специальный модуль управления, установка которого в радиостанцию не требует серьезного "хирургического" вмешательства - демонтажа радиоэлементов, перерезания печатных проводников, сверления отверстий. Именно такая концепция подхода к доработке Си-Би радиостанции была продемонстрирована в [1] при введении "российской" сетки частот в трансивер YOSAN JC-2204. Эта модель обладает рядом несомненных достоинств, обеспечивших ей популярность среди пользователей Си-Би связи. Пожалуй, единственный недостаток JC-2204 - скромный набор сервисных функций.

Возможности радиостанции можно расширить, например, путем введения функции выбора уровня выходной мощности передатчика ("HI/LOW").

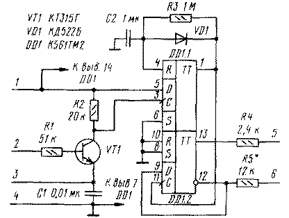
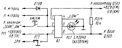
На рис. 1 и 2 изображены схемы соответственно модуля управления и его подключения к радиостанции.

rst_501-1.gif
Puc.1
rst_501-2.gif
Puc.2

Режим LOW характеризуется мощностью передатчика менее 1 Вт. В режиме приема (RX) на эмиттере транзистора VT1 присутствует запирающее напряжение +3,8 В, поэтому при нажатии кнопки "AM/FM" импульсы опроса клавиатуры (рис. 3), поступающие на базу транзистора, не влияют на состояние устройства. Таким образом, кнопка "AM/FM" выполняет штатную функцию переключения вида модуляции.

rst_501-3.gif
Puc.3

Доступ к функции "HI/LOW" возможен только в режиме передачи (ТХ) и происходит так: при нажатии тан-генты переключатель РТТ замыкает эмиттер транзистора VT1 на общий провод, тем самым разрешая работу устройства. Здесь необходимо пояснить: хотя в режиме ТХ программно блокируется работа всех кнопок, опрос клавиатуры не приостанавливается, поэтому импульсы опроса можно использовать для управления другими функциями.

Таким образом, если теперь нажать на кнопку "AM/FM", то первый же импульс, поступивший на базу транзистора VT1, усиливается и запускает одновибратор DD1.1. Последующие импульсы не влияют на процесс до тех пор, пока одновибратор не возвратится в исходное состояние. Этого времени (0,7 с) достаточно, чтобы нажать и отпустить кнопку "AM/FM", выполняющую теперь еще и функцию выбора уровня выходной мощности.

Фронт импульса, формируемого одновибратором DD1.1, поступает на счетный вход триггера DD1.2, который, переключаясь, фиксирует выходную мощность передатчика в режиме HI либо LOW. В частности, режиму LOW соответствует низкий уровень на инверсном выходе триггера DD1.2. При этом происходит шунтирование базы транзистора Q505, входящего в состав регулятора мощности передатчика (Q506, Q602) [2]. В результате снижается напряжение питания оконечного (Q204) и предоконечного (Q203) каскадов передатчика, т. е. уменьшается мощность радиоизлучения.

Светодиод HL1 (см. рис. 2) индицирует режим LOW. По личному опыту автора реальная нагрузочная способность выходов микросхемы К561ТМ2 позволяет без опасений подключать нагрузку с вытекающим или втекающим током до нескольких миллиампер, что вполне достаточно для нормальной работы светодиода. Настройка модуля сводится к подбору резистора R5 для установки требуемой пониженной мощности передатчика. Сопротивление резистора R5 можно ориентировочно определить по графику (рис. 4) или подбирать резистор опытным путем, измеряя мощность на 50-омном эквиваленте нагрузки, подключенном к антенному гнезду радиостанции.

rst_501-4.gif
Puc.4

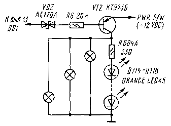
Если возникает специфическая задача тотального энергосбережения в режиме LOW, то можно применить еще и экономайзер, схема которого показана на рис. 5 (нумерация элементов продолжает начатую на рис. 1). Транзистор VT2 отключает три лампы подсветки ЖК-дисплея и пять светодиодов подсветки клавиатуры, что снижает общее потребление тока на 130... 150 мА. Светодиод HL1 в этом случае не понадобится.

rst_501-5.gif
Puc.5

Отметим, что конструкция радиостанции предусматривает регулировку выходной мощности передатчика только в режиме частотной модуляции (FM). Впрочем, это несущественно, поскольку амплитудная модуляция используется нашими "сибистами" достаточно редко.

Применив метод комбинированного управления, можно ввести практически в любой трансивер несколько дополнительных функций, даже если они и не поддерживаются микропроцессором.

При изготовлении модуля управления вполне подойдет гибридный печатно-поверхностный монтаж, описанный в [3].

ЛИТЕРАТУРА
1. Соколов А. "Российская" сетка в Си-Би радиостанции. - Радио, 2000, № 9, с. 64, 65.
2. Mobile CB Transceiver JC-2204. User's Manual. Jaeil Engineering Co, Ltd.
3. Турчинский В. Элементы поверхностного монтажа в радиолюбительских конструкциях. - Радио, 2000, № 7, с. 48.


Радио 5/2001, с.64-65.