РАДИОМИКРОФОН


И. КУЦКО, г. Кричев Могилеве/сой обл., Беларусь

Эта конструкция работает на частоте 87,9 МГц и питается всего от одного гальванического элемента. Дальность действия достигает 35...40м.

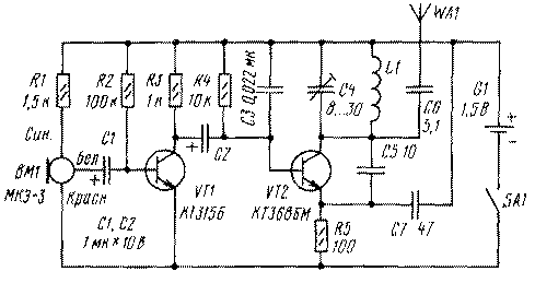
Радиомикрофон (рис. 1) выполнен на двух транзисторах: на VT1 собран микрофонный усилитель, на VT2 - генератор ВЧ. Через конденсатор С6 к генератору подключена антенна WA1 - отрезок медного провода диаметром 1...2 и длиной 150...300 мм.

spy-601-1.gif
Puc.1

Вместо указанных на схеме допустимо использовать любые транзисторы серий КТ315 (VT1) и КТ368А, КТ355А (VT2). Катушка генератора содержит пять витков провода ПЭВ-1 0,5 на каркасе диаметром 5 мм. Микрофон МКЭ-3 можно заменить на любой электретный с двумя выводами. В этом варианте нижний по схеме вывод резистора R1 соединяют с плюсовым выводом конденсатора С1, к этой же точке подключают плюсовой вывод микрофона. Подстроечный конденсатор С4 - КПК-МН, остальные - любые малогабаритные. Использовались резисторы МЛТ-0,125.

Детали монтируют на печатной плате (рис. 2) из односторонне фольгированного стеклотекстолита.

spy-601-2.gif
Puc.2

При работе частоту генератора устанавливают подстроечным конденсатором равной указанной, специально отведенной для работы радиомикрофонов, ориентируясь по шкале УКВ приемника.


Радио 6/2001.