Схема дистанционной установки частоты трансивера


Макс Пернер (DM2AUO)

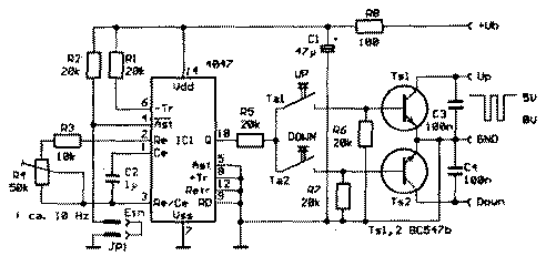
Т.к. не всегда ПК находится рядом с трансивером, то DM2AUO предложил схему дистанционной установки частоты трансивера Для любителей работать PSK31, SSTV или FAX ручная установка частоты очень часто является проблемой, решением которой может быть дистанционное управление трансивером, независимое от компьютера. В современных трансиверах частоту приема и передачи можно изменять шагами по 10 Гц с помощью ключей, управляемых кнопками «Up» и «Down» через микрофонный разъем. Если кнопки нажимаются кратковременно, частота изменяется ступенями, а более длительное нажатие обуславливает плавное изменение частоты. Если управляющий вход этих ключей будет возбуждаться последовательностью кратковременных нажатий кнопки, то можно получить непрерывное и медленное изменение частоты. Автор решил эту задачу электронным способом, использовав для связи с трансивером микрофонный разъем, тем более что через него подается и напряжение питания от 5 до 12 В с возможным потреблением 10...40 мА (в зависимости от модели трансивера).

urt-x301-1.gif
Puc.1
Универсальная микросхема 4047 может работать как моностабильный или астабильный мультивибратор. Ее питание лежит в диапазоне 5... 15 В, а ток незначителен. В схеме рис.41 ИМС 4047 используется в функции астабильного мультивибратора. Если перемычка JP1 вставлена, мультивибратор работает. При нажатой кнопке «Up» или «Down» управляются соответствующие транзисторы Ts1 или Ts2, которые через открытый переход коллектор-эмиттер соединяют соответствующий контакт трансивера с общим проводом. Потребление устройства в рабочем состоянии составляет 0,5 мА (Uпит.=5 В); 0,8 мА (Uпит.=8 В); 1,4 мА (Uпит.=12 В). С помощью R4 устанавливают скорость перестройки от 1 кГц/мин до 6 кГц/мин.

Funk, N 4, 2001, с.24, 25.