ПРОТИВОБОЛЕВОЙ СТИМУЛЯТОР


Е.СТАХОВ, 230023, г.Гродно, ул.Ленина, 8 - 13.

Методы лечения без лекарств всегда были привлекательны не только потому что при этом отпадает необходимость поиска дефицитных и ныне дорогостоящих препаратов, но и потому что они в значительной мере исключают побочные эффекты.

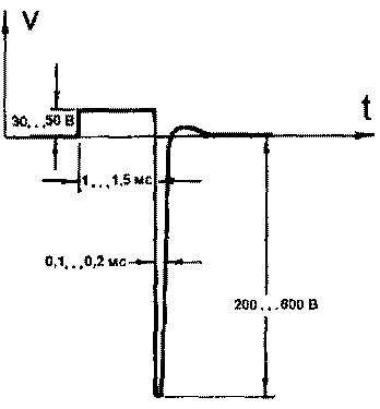
Предлагаемый электронейростимулятор предназначен для воздействия слабым электрическим током на зоны кожной поверхности для снятия болей преимущественно неврологического характера и лечения воспалительных заболеваний. Применение прибора в домашних условиях рекомендуется после консультации с врачом. Стимулятор вырабатывает несимметричные биполярные импульсы, форма которых показана на рис.1.

med-rl96-1.gif
Puc.1

Питание прибора осуществляется батарейкой "Корунд", "Крона-ВЧ", 6PLF22 или аналогичной напряжением 9 В.

Прибор выполнен в диэлектрическом корпусе, внутри которого размещен отсек для батареи питания и электрическая схема, а на одной из внешних поверхностей расположен блок электродов-штырей.

Основные технические данные:

-амплитуда положительного импульса, В не менее 30;

- амплитуда отрицательного импульса, В не менее 200;

- частота следования импульсов, Гц 10±3;

- длительность положительного импульса, мс не более 1,5;

- длительность отрицательного импульса, мс не менее 0,1;

- ток потребления, мА не более 4,5.

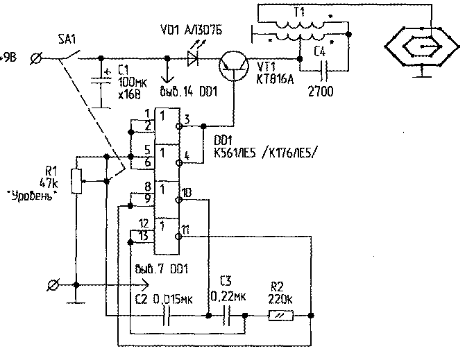
Прибор, схема которого приведена на рис.2, состоит из генератора импульсов на микросхеме DD1 типа К561ЛЕ5 (К176ЛЕ5) и усилителя мощности на транзисторе VT1 с индикатором на свето диоде VD1. С усилителя мощности импульсы через согласующий трансформатор Т1 поступают на электрод. При работе мигающее свечение индикатора VD1 характеризует исправность прибора, а его яркость - величину уровня стимулирующего воздействия.

med-rl96-2.gif
Puc.2

Для обеспечения гигиенических требований электрод перед работой должен быть продезинфицирован 3% раствором перекиси водорода.

При проведении сеанса лечения необходимо плотно прижать электрод к коже и включить прибор. Постепенно увеличивая величину стимулирующего воздействия, необходимо достичь чувствительного покалывания, не допуская при этом дискомфортного уровня. Активными вибрационными движениями с постоянной сменой положения электрода можно повысить порог болевого восприятия электрических импульсов, что позволяет работать с более высоким уровнем сигнала. Стимуляцию зон воздействия нужно проводить легкими массирующими движениями в течение 1...5 минут. Стимуляция кожных зон головы, шеи, рук требует меньшего времени, а поясницы, ягодиц, ног - большего.

Конструкция электрода показана на рис.3. Он состоит из 19 штырьков длиной 10 мм каждый и диаметром порядка 1 мм с торцами сферической формы. В проекции на кожную поверхность воздействие электрода ограничено его контактной поверхностью, состоящей из 12 штырьков, соединенных сточкой нулевого потенциала прибора. Этим исключается пространственная передозировка.

med-rl96-3.gif

Контроль за уровнем сигнала оценивается по яркости свечения светодиодного индикатора и по субъективным ощущениям пациента. Штырьки электрода распаяны на отдельной плате из фольгированного стеклотекстолита (рис.3), расположенной на передней части корпуса прибора. В качестве штырьков можно использовать посеребренные штыри от разъемов типа ШР или сделать их из латунной или медной проволоки диаметром не менее 1 мм.

Внешним торцам штырьков, контактирующих с кожей, необходимо придать полусферическую форму. Штырьки должны иметь защитное покрытие из никеля или хрома.

В качестве выходного трансформатора может быть использован согласующий трансформатор от транзисторных приемников с сечением сердечника 6x8 мм, например от радиоприемника "Спидола". Несколько лучшие результаты могут быть получены при использовании согласующих трансформаторов типа ТОТ-109 с магнитопроводом из железноникеле-вого сплава ЗОН.

med-rl96-4.gif
Puc.4

Схема и данные трансформатора ТОТ-109 приведены на рис.4, а его включение в схему прибора - на рис.5.

med-rl96-5.gif
Puc.5

Печатная плата размерами 40x45 мм под трансформатор ТОТ-109 приведена на рис.6.

med-rl96-6.gif
Puc.6

Электростимуляцию желательно проводить на сухой обезжиренной коже. Повышенная влажность или жирность кожной поверхности в ряде случаев может создать дискомфортные ощущения жжения, что препятствует увеличению уровня сигнала, ограничивает глубину проникновения и эффективность стимуляции кожных нейроструктур. В прохладном помещении перед прикосновением к коже пациента следует теплом рук согреть штырьки электрода.


Радиолюбитель 1996 г.