Усилитель мощности для носимой радиостанции диапазона 145МГц
   Эта разработка предназначена для эксплуатации совместно
с переносной радиостанцией, работающей в диапазоне частот 144-146МГц с
частотной модуляцией.
Возможно применять этот усилитель в стационарных условиях, если вы
используете переносную УКВ радиостанцию как стационарную, либо при работе
с загородного участка, или просто по каким либо причинам нет возможности
использовать стационарную/автомобильную УКВ радиостанцию достаточной
мощности. При использовании этого усилителя, подключаемая к нему
радиостанция должна обеспечивать мощность 0.5-0.8Вт, что для большинства
современных носимых импортных аппаратов является облегченным режимом.
   Усилитель работает в режиме класса "C" и обеспечивает
выходную мощность порядка 15-20Вт на нагрузке 50 Ом.
Питание усилителя осуществляется от нестабилизированного источника
постоянного тока (выпрямителя) напряжением 27В. Потребляемый ток составляет
примерно 1А (в зависимости от КСВ нагрузки).
   Конструкция усилителя была изготовлена в начале 1999-го года и
эксплуатировалась мной совместно с носимой радиостанцией
Standard C108 и Alinco DJ191 при работе из сельской местности.
|  | 
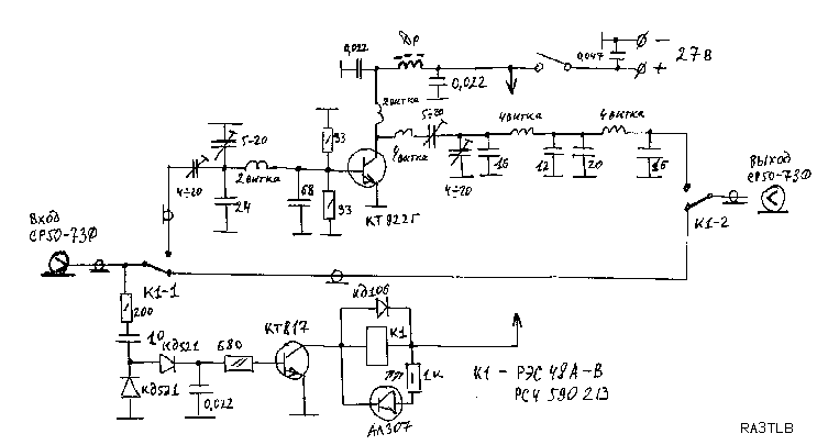
Усилитель представляет собой один каскад усиления, работающий в режиме класса "С", на выходе которого применен ФНЧ и схему коммутации режима работы "прием/передача". Для изготовления всех катушек индуктивности конструкции используется медный эмалированный провод диаметром 0.8мм. Все катушки ФНЧ бескаркасные, диаметр намотки - 5мм. В усилителе возможно использовать транзистор КТ922 с любой буквой, кроме "А".
Типы и значения элементов не указанные на схеме не оказывают заметного влияния на работу схемы в целом, значения могут быть выбраны самостоятельно, исходя из собственного опыта конструирования подобных схем :)