ДВУХДИАПАЗОННЫЙ ДИПОЛЬ


Игорь ГРИГОРОВ (RK3ZK)

Известно, что габариты полуволнового диполя можно уменьшить, загнув его концы и пустив их вдоль полотна. Такой укороченный диполь при некотором усложнении конструкции станет двухдиапазонным. Напомним, что сложенные пополам плечи полуволнового диполя диапазона 20 метров имеют длину 2,5 м. А это резонансная длина диполя диапазона 10 метров!

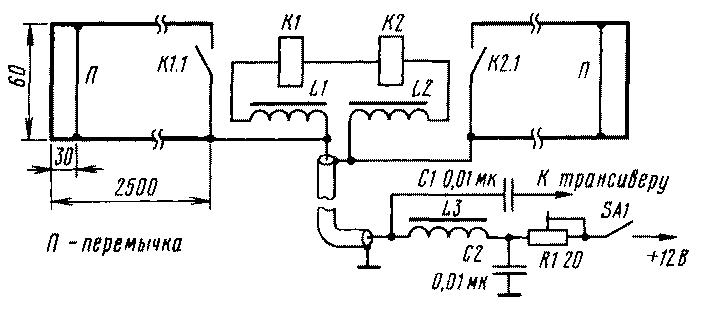
Схема двухдиапазонной антенны показана на рисунке. Единственная сложность в ее изготовлении заключается в том, что при переходе на более высокочастотный диапазон необходимо замыкать концы диполя на основное полотно. Эта проблема была решена с помощью мощных герконовых реле (производства бывшей ГДР), приобретенных на "развалах" радиорынка. При работе на 20-метровом диапазоне контакты реле К1.1, К2.1 разомкнуты и работает вся длина антенны. При подаче по коаксиальному кабелю напряжения питания на обмотки реле К1 и К2 их контакты замыкают концы диполя на полотно. Антенна становится резонансной на диапазоне 10 метров, согласованной с коаксиальным кабелем.

an-r8o-1.gif

Полотно антенны выполнено из медного провода диаметром 2 мм. По длине плеч через каждые 50 мм установлены распорки из стеклотекстолита. При выполнении антенны точно по указанным на рисунке размерам ее настройка на диапазоне 10 метров не потребовалась. Для диапазона 20 метров потребовалась ее подстройка с помощью перемычек. В моем случае перемычки были установлены на расстоянии 30 мм от концов антенны. Перемычки не влияют на работу антенны в диапазоне 10 метров.

Дроссели L1, L2 и L3 - стандартные ДМ-0,2 20 мкГн. Подстроечным резистором R1 устанавливают минимальный ток срабатывания реле. Все детали размещены в коробке размерами 70x70x20 мм из фольгированного стеклотекстолита. Эта коробка является одновременно и центральным изолятором антенны.

Двойное полотно антенны обеспечило ее нормальную работу. КСВ - в пределах 1,2 во всем 10-метровом диапазоне, в диапазоне 20 м не превышал 1,3. Питание антенны поступает по коаксиальному кабелю с волновым сопротивлением 75 Ом.

При расстоянии между контактами герконов 1 мм к антенне диапазона 20 метров можно подводить мощность до 100 Вт. Вместо герконов допустимо использовать реле, которые работают на высоких частотах.


Радио 8/2000, с.68.