УМЗЧ ДЛЯ АВТОМОБИЛЬНОЙ РАДИОАППАРАТУРЫ


А. ЛЕВАШОВ, г. Кизляр, Дагестан

Вниманию читателей предлагается усилитель мощности для автомобильной звуковоспроизводящей аппаратуры. При его разработке автор постарался создать компактный усилитель с хорошим качеством звуковоспроизведения и высокой надежностью при его эксплуатации в специфических условиях салона автомобиля.

Усилитель имеет следующие основные технические характеристики:
номинальная выходная мощность на нагрузке сопротивлением 4 Ом - 2x15 Вт;
диапазон воспроизводимых звуковых частот - 20...20 000 Гц;
коэффициент гармоник при номинальной выходной мощности - не более 0,3 %;
диапазон регулировки тембра НЧ - от -19 до +17 дБ на частоте 40 Гц и тембра ВЧ ±15 дБ на частоте 16 кГц.

Питается усилитель от аккумуляторов автомобиля напряжением 13,4 В.

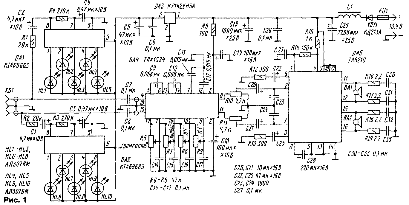
Усилитель (рис. 1) собран на четырех микросхемах зарубежного производства и одной - отечественной: DA1, DA2 работают в индикаторе уровня входного сигнала, DA3 - стабилизирует их напряжение питания; на DA4 собран тембро-блок, на DA5 - усилитель мощности. Громкость регулирует резистор R6, тембр НЧ - R9, тембр ВЧ - R8, стерео-бапанс - R7.

aud-r8o-1.gif
Puc.1

Усилитель выполнен в виде функционально законченного компактного блока и содержит минимальное число механических деталей. Несущей частью всей конструкции является теплоотвод площадью 200 см2, изготовленный из дюралюминия толщиной 2 мм. Печатная плата выполнена из фольгированного стеклотекстолита толщиной 1,5 мм. Ее размеры-130x90 мм.

В усилителе использованы постоянные резисторы МЛТ-0,125 (R1 - R5, R14, R15) и МЛТ-0,25 (остальные); переменные (R6 - R9) - СПЗ-4аМ, подстроечные - СПЗ-38Г (R10, R11). Оксидные конденсаторы импортные аналоги - К50-35, остальные - КМ-5. Дроссель L1 - от любого отечественного автомобильного магнитофона.

Налаживание УМЗЧ сводится к подбору резисторов R1 и R2, обеспечивающих надежную работу индикаторов входного сигнала.

При подключении к усилителю головок громкоговорителя следует обратить внимание на их правильное (синфазное) включение. Синфазному включению соответствует более высокое суммарное звуковое давление на низких звуковых частотах.

Радио 8/2000, с.14.