Автолюбителям хорошо известны неприятные последствия, которые возникают, если в шину автомобиля внедряется гвоздь, металлическая стружка и т.д.
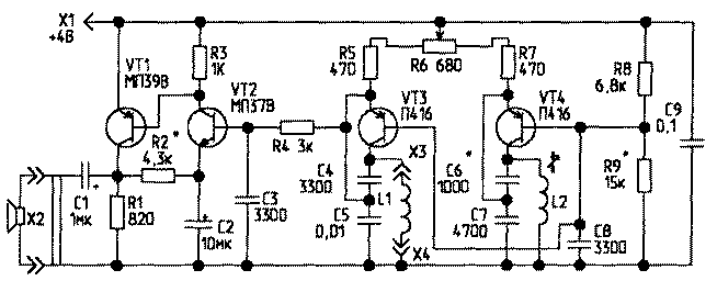
На рис.1 изображена схема металлоискателя, предназначенного для своевременного отыскания таких металлических вкраплений в шине автомобиля На транзисторе VT4 собран генератор на частоту 258 кГц. VT3 генерирует частоту 86 кГц и одновременно является смесителем третьей гармоники (86 кГц х 3) с частотой опорного генератора 258 кГц Фильтр R4-C3 выделяет низкочастотную составляющую продуктов смешивания, а усилитель VT1, VT2 усиливает этот сигнал.
 
Наладка схемы. Резистор R6 надо установить в среднее положение. Резистор R2 временно заменить переменным на 10... 15 кОм, a R9 - цепочкой из переменного 30...47 кОм и постоянного 1.. 3 кОм. Включив питание, подбирают R9 по наибольшей амплитуде генерации. После этого резистором R2 подбирают напряжение на коллекторе VT1 в пределах 1,7...2,0 В. Замеряют частоту генератора на VT3. Она должна быть в пределах 70...90 кГц. После этого, подбирая величину С6 и подстраивая контур сердечником L2, добиваются, чтобы генерировалась утроенная частота относительно первого генератора При точной настройке в телефонах будут слышны нулевые биения Подбором С8 и R9 добиваются наилучшей слышимости этих биений. Замерив R2 и R9, нужно впаять постоянные резисторы такой же величины. В процессе работы с металлоискателем нулевые биения устанавливаются с помощью резистора R6.
Для более точного отыскания места вкрапления металла можно воспользоваться стрелочным индикатором, схема которого изображена на рис.2 VT1 и DD1.1 являются усилителем импульсов, DD1.2, DD1 3 вместе с R4 и С2 образуют частотноза-висимый формирователь импульсов VT2 является инвертором и усилителем сформированных импульсов, которые подаются на измерительный прибор РА1 через цепочку R5, R6
 
Подключив индикатор на выход металлоискателя (рис.1), устанавливают нулевые биения. При этом стрелочный прибор должен показывать ноль (стрелка - около нуля). Подносят L1 к металлическому предмету, и с помощью R4 и R6 устанавливают стрелку прибора на конечную отметку шкалы. Вначале R6 устанавливают на максимум сопротивления, и максимальных показаний достигают изменением величины R4, а окончательная установка конечного значения шкалы производится с помощью R6.
Катушка L1 представляет собой рамку из 100 витков провода ПЭЛ 00,25 0,33 мм, контуры которой изображены на рис 3. После намотки катушки на разборном каркасе, ее витки покрывают лаком или клеем БФ2. В дальнейшем катушка крепится на пластинке из оргстекла, и ее выводы припаивают к клеммам, с помощью которых она подключается к схеме металлоискателя, которая может быть расположена на этой же пластине за пределами контура L1
 
В качестве L2 можно использовать катушку контура ПЧ 465 кГц от любого радиоприемника, подобрав соответственно величину С6 Миллиамперметр РА1 - на 1 мА Можно воспользоваться и более чувствительными приборами, увеличив соответственно величины R5 и R6 Вместо П416 можно применить П401 .403, 423, а также КТ361.
В качестве VT1, VT2 в схемах рис.1 и 2 можно применить любые маломощные транзисторы соответствующей структуры. Конденсаторы С4, С6 лучше взять слюдяные или БМТ-2, а остальные - любого типа.
При питании устройства от автомобильного аккумулятора его нужно дополнить стабилизатором напряжения, схема которого приведена на рис.4.
 
Радиолюбитель 10/2000