СИГНАЛИЗАТОР ВКЛЮЧЕНИЯ ЗАДНЕЙ ПЕРЕДАЧИ


И. ЗАБЕЛИН, г. Москва

В "Радио", 1999, № 5 на с. 37 в статье Р. Ушакова описан сигнализатор движения задним ходом. В нем использована специализированная телефонная микросхема КР1008ВЖ4. Я предлагаю вариант подобного сигнализатора, собранный на широкораспространенной микросхеме К561ЛН2.

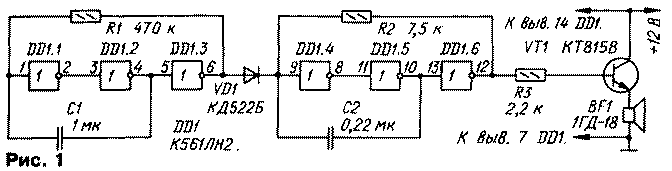
Устройство представляет собой два генератора, включенных по сигналу по- следовательно. Первый из них собран на логических элементах DD1.1-DD1.3 (см. схему на рис. 1). Он формирует прямоугольные импульсы с длительностью высокого уровня 0,45 с, а низкого - 0,55с.

avt-r6o-1.gif
Puc.1

Выходной сигнал этого генератора управляет работой второго генератора, выполненного на элементах DD1.4- DD1.6. При высоком уровне на выходе первого генератора второй заторможен, при смене уровней второй генератор начинает формировать последовательность прямоугольных импульсов частотой около 400 Гц.

На транзисторе VT1 собран усилитель тока, нагруженный динамической головкой BF1.

В автомобиле устройство подключено параллельно лампе, сигнализирующей о включении задней передачи. Сразу после подачи питания сигнализатор начинает воспроизводить звуковые импульсы.

Все детали, кроме динамической головки, смонтированы на печатной плате из фольгированного стеклотекстолита толщиной 1 мм. Чертеж платы показан на рис. 2. Она вместе с головкой помещена в прочную металлическую или пластмассовую коробку, укрепленную в багажнике автомобиля. Готовую плату желательно покрыть водостойким лаком - это уменьшит зависимость работоспособности сигнализатора от пыли и влаги.

avt-r6o-2.gif
Puc.2

Радио 6/2000, с.39.