РЕГУЛИРОВКА ОБОРОТОВ ЭЛЕКТРОДВИГАТЕЛЕЙ


И.СЕМЕНОВ, 141980, Московская обл, г Дубна, ул Мира, 9/6 - 4, тел (096-221) 4-54-00

С вопросом регулировки оборотов приходится сталкиваться при работе с электроинструментом, приводом швейных машин и прочих приборов в быту и на производстве Регулировать обороты, просто понижая питающее напряжение, не имеет смысла - электродвигатель резко уменьшает обороты, теряет мощность и останавливается Оптимальным вариантом регулировки оборотов является регулирование напряжения с обратной связью по току нагрузки двигателя

В большинстве случаев в электроинструменте и других приборах применены универсальные коллекторные электродвигатели с последовательным возбуждением. Они хорошо работают как на переменном, так и на постоянном токе. Особенностью работы коллекторного электродвигателя является то, что при коммутации обмоток якоря на ламелях коллектора во время размыкания возникают импульсы противо-ЭДС самоиндукции Они равны питающим по амплитуде, но противоположны им по фазе. Угол смещения противо-ЭДС определяется внешними характеристиками электродвигателя, его нагрузкой и другими факторами. Вредное влияние противо-ЭДС выражается в искрении на коллекторе, потере мощности двигателя, дополнительном нагреве обмоток. Некоторая часть противо-ЭДС гасится конденсаторами, шунтирующими щеточный узел.

Рассмотрим процессы, протекающие в режиме регулирования с ОС, на примере универсальной схемы (рис 1). Резистивно-емкостная цепь R2-R3-C2 обеспечивает формирование опорного напряжения, определяющего скорость вращения электродвигателя.

be-a00-1.gif

При увеличении нагрузки скорость вращения электродвигателя падает, снижается и его крутящий момент. Противо-ЭДС, возникающая на электродвигателе и приложенная между катодом тиристора VS1 и его управляющим электродом, уменьшается. Вследствие этого напряжение на управляющем электроде тиристора возрастает пропорционально уменьшению противо-ЭДС. Дополнительное напряжение на управляющем электроде тиристора заставляет его включаться при меньшем фазовом угле (угле отсечки) и пропускать на электродвигатель больший ток, компенсируя тем самым снижение скорости вращения под нагрузкой. Существует как бы баланс импульсного напряжения на управляющем электроде тиристора, составленного из напряжения питания и напряжения самоиндукции двигателя. Переключатель SA1 позволяет при необходимости перейти на питание полным напряжением, без регулировки Особое внимание следует уделить подбору тиристора по минимальному току включения, что обеспечит лучшую стабилизацию скорости вращения электродвигателя

Вторая схема (рис 2) рассчитана на более мощные электродвигатели, применяемые в деревообрабатывающих станках, шлифмашинах, дрелях. В ней принцип регулировки остается прежним. Тиристор в данной схеме следует установить на радиатор площадью не менее 25 см2.

be-a00-2.gif

Для маломощных электродвигателей и при необходимости получить очень малые скорости вращения, можно с успехом применить схему на ИМС (рис 3). Она рассчитана на питание 12 В постоянного тока. В случае более высокого напряжения следует запитать микросхему через параметрический стабилизатор с напряжением стабилизации не выше 15В.

be-a00-3.gif

Регулировка скорости осуществляется путем изменения среднего значения напряжения импульсов, подаваемых на электродвигатель. Такие импульсы эффективно регулируют очень малые скорости вращения, как бы непрерывно "подталкивая" ротор электродвигателя. При высоких скоростях вращения электродвигатель работает обычным образом.

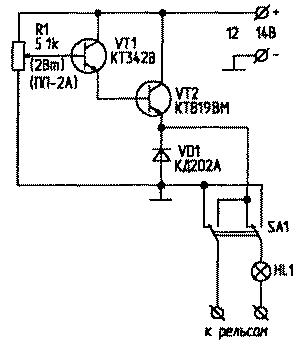
Весьма несложная схема (рис 4) позволит избежать аварийных ситуаций на линии железной дороги (игрушечной) и откроет новые возможности управления составами. Лампа накаливания во внешней цепи предохраняет и сигнализирует о коротком замыкании на линии, ограничивая при этом выходной ток.

be-a00-4.gif

Когда требуется регулировать обороты электродвигателей с большим крутящим моментом на валу, например в электролебедке, может пригодиться двухполупериодная мостовая схема (рис 5), обеспечивающая полную мощность на электродвигателе, что существенно отличает ее от предыдущих, где работала только одна полуволна питающего напряжения.

be-a00-5.gif

Диоды VD2 и VD6 и гасящий резистор R2 используются для питания схемы запуска. Задержка открывания тиристоров по фазе обеспечивается зарядом конденсатора С1 через резисторы R3 и R4 от источника напряжения, уровень которого определяется стабилитроном VD8 Когда конденсатор С1 зарядится до порога срабатывания однопереход-ного транзистора VT1, он открывается и запускает тот тиристор, на аноде которого присутствует положительное напряжение. Когда конденсатор разряжается, однопереходный транзистор выключается. Номинал резистора R5 зависит от типа электродвигателя и желаемой глубины обратной связи. Его величина подсчитывается по формуле

R5=2/Iм,

где Iм - эффективное значение максимального тока нагрузки для данного электродвигателя Предлагаемые схемы хорошо повторяемы, но требуют подбора некоторых элементов в зависимости от характеристик применяемого двигателя (практически невозможно найти подобные по всем параметрам электродвигатели даже в пределах одной серии).

Литература

1. Electronics Todays. Int N6
2. RCA Corp Manual
3. IOI Electronic Projects. 1977 p 93
5. G. E. Semiconductor Data Hand book 3. Ed
6 .Граф P. Электронные схемы. -М Мир, 1989
7. Семенов И. П. Регулятор мощности с обратной связью. - Радиолюбитель, 1997, N12, С 21.


Радиолюбитель 10/2000