ИНДИКАТОР НАПРЯЖЕННОСТИ ПОЛЯ


Игорь НЕЧАЕВ (UA3WIA)

Для налаживания антенно-фидерных трактов любительских радиостанций необходим индикатор напряженности высокочастотного электрического поля. Предлагаемый в этой статье прибор отличается от обычно используемых высокой чувствительностью и широкой полосой рабочих частот.

Традиционно индикатор напряженности поля представляет собой антенну (чаще всего, в виде короткого штыря), амплитудный детектор (выпрямитель РЧ напряжения) и стрелочный измеритель (как правило, микроамперметр). Для повышения чувствительности индикатор делают активным, снабжая его усилителем РЧ или постоянного тока.

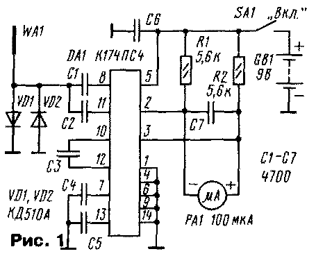
В предлагаемом индикаторе (рис. 1) отсутствует обычный амплитудный детектор, поскольку его функции выполняет микросхема К174ПС4 - перемножитель сигналов, широко используемый радиолюбителями в смесителях радиоприемников, конвертерах и т. д.

Как же микросхема работает в нашем случае? Входной сигнал (как правило, синусоидальный или близкий к нему), принятый антенной WA1, поступает на два входа микросхемы - выводы 8 и 11 (два других - выводы 7, 13 - соединяют по переменному току с общим проводом), и она осуществляет перемножение сигнала "сам на себя". Если Uвх = Usinwt, то на выходе микросхемы будет сигнал Uвых=KU2sin2wt, где U - амплитуда входного сигнала, о> - его круговая частота, К - коэффициент передачи микросхемы. Это выражение можно преобразовать: Uвых = = KU2sin2wt=KU2/2-KU2cos2wt)/2.

Таким образом, в выходном сигнале микросхемы присутствует постоянная составляющая и переменная составляющая удвоенной частоты. Постоянная составляющая пропорциональна квадрату входного напряжения, поэтому показания микроамперметра РА1, подключенного к выходу микросхемы, будут пропорциональны мощности сигнала, излучаемой антенной. Переменную составляющую легко подавить, установив конденсатор С7 достаточной емкости. Диоды VD1, VD2 служат для защиты входных цепей микросхемы от мощных сигналов.

Питается устройство от батареи напряжением 9 В ("Крона", "Корунд", "Ника") и потребляет ток примерно 1,5 мА. Работоспособность сохраняется при уменьшении напряжения питания до 6 В. Максимальный ток через микроамперметр РА1 ограничен резисторами R1.R2.

В устройстве можно применить практически любой малогабаритный стрелочный индикатор с током полного отклонения стрелки от 50 до 150 мкА. На частоте 28 МГц чувствительность устройства (минимальный регистрируемый сигнал) был 2...3 мВ, а зависимость показаний от входного напряжения имела квадратичный характер (рис. 2). Благодаря этому прибор более чувствителен к изменениям напряженности поля, что позволяет точнее настраивать антенно-фидерные тракты. Так, например, при изменении напряжения на входе устройства в 1,4 раза (3 дБ) показания индикатора увеличиваются вдвое.

Вместо указанной на схеме К174ПС4 допустимо применить микросхемы К174ПС1, К174ПС2. Кроме диодов КД510А, подойдут КД522Б, КД503Б. Конденсаторы - КЛС, КД, К10-17, КМ, резисторы - МЛТ, С2-33. Выключатель - любой малогабаритный, лучше движковый на два положения.

izm-r3o-1.gif
izm-r3o-2.gif

Большинство деталей размещают на печатной плате (рис. 3) из одностороннего фольгированного стеклотекстолита. Плату нужно разместить ближе к антенне внутри металлического корпуса подходящих габаритов. Рядом с платой можно укрепить источник питания. На передней стенке корпуса устанавливают микроамперметр и выключатель. Антенна - телескопическая от малогабаритных транзисторных приемников. Она должна полностью убираться в корпус. Изменяя длину выдвинутой части антенны, можно в определенных пределах регулировать чувствительность устройства к напряженности электромагнитного поля.

Налаживания устройство не требует, но если будет применена другая микросхема, то придется подобрать резисторы (они должны быть одинаковых номиналов), чтобы на выходах микросхемы было напряжение, примерно равное половине напряжения источника питания. При необходимости балансировку прибора (нулевые показания микроамперметра РА1 в отсутствие сигнала на входе устройства) можно произвести подбором резистора R1 или резистора R2.

По сравнению с пассивным индикатором данное устройство имеет значительно более высокую чувствительность, что позволяет настраивать антенны при меньшем уровне мощности, а также обнаруживать месторасположение подслушивающих устройств - "жучков". Частотная характеристика индикатора определяется параметрами примененной микросхемы. В авторском варианте его чувствительность на частоте 145 МГц уменьшалась втрое.

При желании индикатор можно сделать избирательным, установив на его входе перестраиваемый LC-контур.

izm-r3o-3.gif

Радио 3/2000, с.62