НЕОБЫЧНОЕ ПРИМЕНЕНИЕ ПЕРЕКЛЮЧАТЕЛЕЙ КМОП


В. ОЛЕЙНИК, г. Королев Московской обл.

Микросхемные переключатели структуры КМОП предназначены для коммутации аналоговых сигналов. Однако эти приборы, как и многие другие, наряду со своей основной функцией способны выполнять и другие, порой довольно неожиданные.

Несколько схемных вариантов нестандартного применения электронных переключателей описано в публикуемой статье.

Радиолюбительские эксперименты показывают, что электронные переключатели, входящие в состав микросхем К176КТ1, К561КТЗ, 564КТЗ и КР1561КТЗ [1; 2], являются универсальными элементами, позволяющими использовать их в различных функциональных узлах - инверторах, повторителях сигнала и др. На основе этих переключателей можно строить генераторы прямоугольных импульсов, RS-триг-геры, а также триггеры Шмитта с регулируемой шириной "гистерезиса".

Пример использования аналогового переключателя в качестве инвертора показан на схеме рис. 1. Когда на вход управления С подан сигнал низкого уровня, переключатель находится в состоянии Z и на его выходе В присутствует сигнал высокого уровня благодаря наличию резистора R1. При подаче на вход С высокого уровня вход А, на котором фиксирован низкий уровень, соединяется с выходом В. Поэтому на выходе также будет нулевой сигнал. Таким образом, по отношению к входу С устройство работает как инвертор.

ms-r3o-1.gif
Puc.1

Собрать инвертор можно на любом из четырех переключателей, составляющих микросхему. Кроме К561КТЗ, в этом и других узлах, описанных ниже, можно использовать микросхемы К176КТ1, 564КТЗ, КР1561КТЗ.

На рис. 2 показана схема повторителя сигнала. Когда на входе С подан сигнал низкого уровня, переключатель DA1.1 находится в состоянии Z, на выходе - сигнал низкого уровня благодаря резистору R1. Когда на входе С низкий уровень сменяется высоким, "контакты" переключателя замыкаются и со входа А на его выход В поступает высокий уровень. То есть по отношению к сигналу на входе С узел работает как повторитель.

ms-r3o-2.gif
Puc.2

Необходимо отметить, что передаточная характеристика у инвертора и повторителя напряжения на аналоговых переключателях довольно плавная, что необходимо учитывать при проектировании устройств с их использованием.

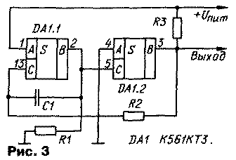
Пример построения генератора прямоугольных импульсов на основе аналоговых переключателей представлен на схеме рис. 3. Переключатель DA1.1 работает в качестве повторителя, a DA1.2 - инвертора. В начальный момент после включения питания конденсатор С1 разряжен, оба переключателя закрыты. Образуется цепь зарядки конденсатора С1: плюсовой провод питания-R3-R2-С1-R1-общий провод. Как только напряжение на входе С переключателя DA1.1 достигнет порога его включения, он откроется, а вслед за ним откроется и переключатель DA1.2.

ms-r3o-3.gif
Puc.3

Теперь конденсатор С1 начинает разряжаться через резисторы R1, R2 и сопротивление открытого переключателя DA1.2. При соблюдении условий R1<<R2; R3<<R2; Uпит = const экспериментально было установлено, что период колебаний зависит от номиналов элементов R2 и С1 следующим образом: если Uпит = 5 В, то Т = 0,6R2C1; 10В -0.5R2C1; 15 В - 0,4 R2C1.

На аналоговых переключателях возможно построить и RS-триггер (рис. 4).

ms-r3o-4.gif
Puc.4

Предположим, что триггер находится в нулевом состоянии (Q=0, Q=1), переключатель DA1.1 закрыт (на его входе С присутствует низкий уровень), a DA1.2 открыт (на входе С - высокий уровень).

При нажатии на кнопку SB2 "S" на вход С переключателя DA1.2 поступает напряжение низкого уровня и он закрывается, а на выходе Q триггера появляется единичное напряжение. Переключатель DA1.1 открывает единичное напряжение на входе С, и выход Q переходит в нулевое состояние.

Аналогичным образом при нажатии на кнопку SB1 "R" переключатель DA1.1 закрывается и выход Q переходит в единичное состояние. Переключатель DA1.2 открывается единичным напряжением на входе С, и на выходе Q действует нулевое напряжение.

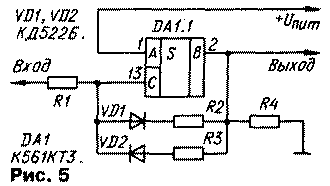
Пример построения триггера Шмитта показан на схеме рис. 5. Здесь переключатель DA1.1 работает повторителем напряжения. Выбором соответствующих значений сопротивления резисторов R1-R4 можно задавать верхний Uв и нижний Uн пороги переключения триггера. Пороговые значения напряжения можно определить по приближенным зависимостям (сопротивлением сигнального канала открытого переключателя и падением напряжения на открытом диоде пренебрегаем):


Обычно принимают сопротивление резистора R1 в пределах от 10 до 50 кОм, R2 и R3 - от 0,1 до 1 МОм [3].
ms-r3o-5.gif
Puc.5

При использовании аналоговых переключателей следует иметь в виду, что их сопротивление в открытом состоянии зависит от напряжения питания. Колебания напряжения питания приводят к соответствующим изменениям частоты генерируемых импульсов, а также порогов срабатывания триггера Шмитта.

ЛИТЕРАТУРА

1. Пухальский Г. И., Новосельцева Т. Я.
2. Проектирование дискретных устройств на интегральных микросхемах (справочник). - М.: Радио и связь, 1990, с. 109, 110.
2. Бирюков С. А. Цифровые устройства на МОП-интегральных микросхемах (второе изд.). - М.: Радио и связь, 1996, с. 81-83.
3. Зельдин Е. А. Импульсные устройства на микросхемах. - М.: Радио и связь, 1991,с.30,31.


Радио 3/2000, с.43.