АВТОМОБИЛЬНАЯ ОХРАННАЯ СИСТЕМА С ДУ


Ж.КАТИЛЮС, г.Эжерелис, Литовская респ.

Предлагаемая охранная система отличается от ранее опубликованных конструкций прежде всего простотой ее установки на автомобиль. Подсоедините только два провода для подачи питания, и система будет выполнять все основные функции охраны. Это дает возможность каждому водителю самостоятельно установить ее на своем автомобиле и тем самым сэкономить немалую часть денег, отведенных для оплаты работы автоэлектрика.

При всей простоте установки, система при охране способна реагировать на удары по кузову автомобиля, на открывание любой двери, капота или багажника, на включение зажигания. При подключении дополнительных реле система позволяет управлять центральным замком, блокировать двигатель, цепи зажигания и тд. Управляется устройство дистанционно, с помощью брелока управления. Для связи между ними используется меняющийся по сложному алгоритму переменный код. Система имеет режим программирования брелоков, что позволяет при потере брелока запрограммировать новый и стереть код старого Также с помощью перемычек программируется длительность импульсов для управления центральным замком и время реакции на срабатывание датчика вибраций кузова автомобиля

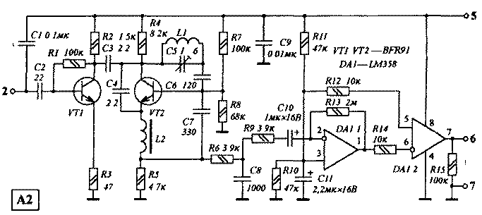
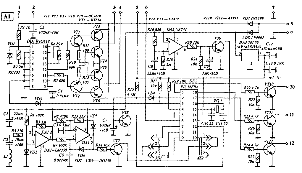
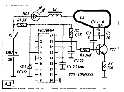
На рис 1...3 представлена принципиальная схема охранного устройства. Основной блок состоит из двух частей. Логическая часть, датчики и схема сирены показаны на рис 1 (блок А1), а схема приемной части - на рис 2 (блок А2). На рис 3 представлена схема брелока управления.

oxr-a00-1.gif
Puc.1

Основой всего охранного устройства является PIC-контроллер PIC16F84. Он выполняет всю работу по расшифровке и выполнению принятых команд. Рабочая частота микроконтроллера задается кварцевым резонатором ZQ1 (4 МГц). Программа для микроконтроллера приведена в табл 1. Схема сирены на DD1, VT1 VT6 и схема датчика вибрации кузова автомобиля на DA1 и VT7 заимствованы из промышленных образцов. Они могут быть выполнены и по другим известным схемам, но поскольку в конструкции используется готовый корпус и динамическая головка ВА1 от промышленной сирены, а также катушка L1 от промышленного датчика вибраций, то вполне естественным оказалось применить и оставшиеся детали. На DA2 и VT9 построена схема, фиксирующая кратковременное падение напряжения питания при загорании лампочки освещения салона или багажника автомобиля, когда открываются двери или багажник. Чувствительность датчика устанавливается подбором сопротивления резистора R18. Его величина подобрана так, что датчик не реагирует на работу электронных часов, светодиодов и других малотоковых приборов. На VT8, VD6, R15 и С7 собрана вспомогательная часть узла установки временных интервалов, нужных для правильной работы данной программы микроконтроллера VT10 VT12 выполняют роль ключей управления реле центрального замка и блокировки.

Налаживание блока сводится к настройке чувствительности датчиков. Резистором R5 устанавливается чувствительность датчика вибрации кузова, а резистором R18 - чувствительность датчика падения напряжения Остальная часть в налаживании не нуждается, и при правильном монтаже и программировании микроконтроллера начинает работать сразу после подключения питания.

Принципиальная схема приемной части устройства представлена на рис 2. Приемник построен по традиционной для охранных систем схеме. Он состоит из усилителя высокой частоты на VT1, сверхрегенератора на VT2 и усилителя низкой частоты с большим коэффициентом усиления. Применение в приемнике СВЧ-транзисторов обеспечивает его стабильную работу в широком диапазоне частот. Дроссель L2 применен готовый, малогабаритный, с индуктивностью 10 мкГн. Катушка L1 - бескаркасная, содержит 2,5 витка посеребренного провода 00,8 мм. Диаметр намотки - 5 мм, шаг намотки - 1 мм Можно использовать и провод ПЭВ-2, но при этом стабильность работы приемника может ухудшиться. Антенной служит отрезок многожильного провода длиной 30-35 см.

oxr-a00-2.gif
Puc.2

Налаживание приемника сводится в основном к настройке сверхрегенератора При использовании указанных на схеме транзисторов в большинстве случаев требуется только подстройка конденсатора С5 для установки нужной частоты приемника Номиналы конденсаторов и данные катушки L1 даны для частоты 305 МГц

oxr-a00-3.gif

Обе схемы собраны на отдельных платах и соединены между собой с помощью перемычек в точках 2, 5, 6 и 7 (рис 4)

oxr-a00-4.gif

oxr-a00-5.gif