АКУСТИЧЕСКИЙ "ИЗВЕЩАТЕЛЬ"
И. МЕДВЕДЕВ, г. Брянск
Вниманию читателей предлагается оригинальный датчик охранной сигнализации, предназначенный для защиты окон в помещении.
В последние годы в радиотехнической литературе появляется много публикаций об охранных устройствах. И это, конечно, не случайно, тема охраны собственности весьма актуальна.
Существует немало охранных устройств, в основе работы которых лежат различные физические принципы [1]. Все они предназначены для охраны машин, складских помещений, офисов, квартир и других объектов. Неотъемлемой частью любого такого устройства является "охранный извещатель" - техническое средство, сигнализирующее о несанкционированном вторжении в охраняемые помещения и формирующее сигналы тревоги [2].
Рассмотрим один частный пример. Допустим, вам необходимо заблокировать возможность проникновения грабителей в квартиру через оконный проем. Проникнуть через оконный проем можно двумя способами. Первый - открыть подвижные части рамы (форточку), не нарушая стеклянное покрытие, второй - нарушить стеклянное покрытие (разбить, разрезать, выставить стекло), не открывая подвижные части рамы.
Традиционно для защиты в первом случае применяются магнитоконтакт-ные извещатели СМК-1, СМК-3, ИО 102-4, ИО 102-5, ИО 102-6. Во втором случае - электроконтактные извещатели (алюминиевая фольга), поверхностные ударно-контактные извещатели типа "Окно". Эти средства конечно же не "украшают" интерьер жилых комнат и создают для хозяев дополнительные проблемы, к примеру, при мойке окон. Кроме того, не решается вопрос скрытности охранного устройства. Правда, можно еще рекомендовать извещатели поверхностно-звуковые типа "Стекло", но их стоимость довольно высока.
Удовлетворить многим требованиям могут акустические извещатели [3]. Принцип их работы заключается в следующем. На микрофон ВМ1 (рис. 1) из окружающей среды поступают акустические сигналы, которые преобразуются в переменное напряжение соответствующей частоты и амплитуды, они поступают на линейный усилитель с коэффициентом усиления k, а с его выхода - на излучатель ВА1, где происходит обратное преобразование в звук. Воспроизведенный излучателем сигнал распространяется в окружающей среде с коэффициентом передачи (3 и, смешиваясь со звуками окружающей среды, передается на вход микрофона ВМ1, где он опять преобразуется, затем усиливается и т. д. Таким образом, между микрофоном и излучателем существует обратная связь, замыкающаяся через внешнюю среду.
Puc.1Если усилитель сделать узкополосным, то из всего спектра поступающих на микрофон акустических сигналов излучатель будет воспроизводить только те, которые попадают в полосу частот усилителя. Выбрав область рабочих частот в пределах от 10 до 15 кГц, можно отстроиться от многих звуковых помех, лежащих в основном в диапазоне ниже 10 кГц.
Из теории известно, что в усилительном устройстве с обратной связью возникают незатухающие колебания (режим самовозбуждения), если обратная связь положительная (баланс фаз), а произведение коэффициентов передачи прямого канала k и обратного (3 больше или равно единице (баланс амплитуд), то kB>1. Когда же условия баланса фаз или баланса амплитуд не соблюдаются, то устройство находится в устойчивом состоянии, т. е. в линейном усилительном режиме. Изменяя коэффициент передачи р, можно управлять состоянием рассматриваемого устройства.
Этот принцип и используется в работе акустического извещателя. Для защиты окна микрофон располагают между рамами оконного проема (при небольшом старании его можно очень хорошо замаскировать), а усилитель и излучатель располагают в комнате. Таким образом, микрофон и излучатель разделены стеклянной перегородкой, а акустическая обратная связь между ними ослаблена. На выходе усилителя амплитуда напряжения незначительна. Если злоумышленник попытается проникнуть в квартиру через окно (откроет окно или форточку, разобьет или выставит стекло), между микрофоном и излучателем возникнет акустическая связь и устройство возбудится. Амплитуда напряжения на выходе усилителя многократно возрастет.
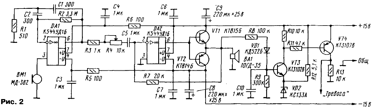
Подключив к выходу усилителя пороговое устройство, получим акустический извещатель (рис. 2). На ОУ DA1 собран активный полосовой фильтр. Его коэффициент усиления 1000 на резонансной частоте 11 кГц, полоса пропускания - 800 Гц. Выходные транзисторы VT1 и VT2 работают в режиме класса В, благодаря чему потребляемая мощность в дежурном режиме минимальна. Коэффициент усиления устройства можно регулировать резистором R4 в пределах от 2 до 20 раз. Это необходимо для настройки чувствительности извещателя после размещения его на объекте. С выхода усилителя сигнал поступает на динамическую головку ВА1 и на пороговое устройство, которое собрано на транзисторах VT3, VT4, диоде VD1 и стабилитроне VD2.
Puc.2В дежурном режиме транзисторы VT3 и VT4 закрыты и на выходе порогового устройства присутствует низкий уровень. Когда устройство, в силу упомянутых выше обстоятельств, возбуждается, на базе VT3 возникает положительное напряжение. Если оно превышает пороговое напряжение, задаваемое стабилитроном VD2, транзисторы VT3 и VT4 открываются. На выходе порогового устройства появляется сигнал "Тревога" - положительное напряжение около 15В. Это напряжение можно использовать в качестве управляющего для различных оконечных устройств.
Кроме указанных на схеме, можно применить ОУ К140УД6, микрофон МД-52, динамическую головку 10ГДВ-2 или 10ГДВ-4. Провод для подключения микрофона должен быть экранированным.
Настройку извещателя производят непосредственно на объекте. При закрытом окне резистором R4 устанавливают максимальное усиление (а значит, и максимальную чувствительность). Если при этом возникает самовозбуждение, то усиление уменьшают до его прекращения. После этого открывают окно (форточку) или убирают стекло - устройство должно вновь возбудиться, а на выходе порогового устройства появиться сигнал "Тревога". Может случиться, что устройство не возбудится. Тогда необходимо подобрать взаиморасположение излучателя и микрофона. Следует иметь в виду, что их желательно размещать так, чтобы они были направлены друг на друга.
Ток, потребляемый извещателем в дежурном режиме, составляет 6 мА от источника питания -15 В и 8 мА от источника +15 В. Ток в режиме тревоги не превышает 260 мА от каждого источника.
Работоспособность устройства, собранного по предложенной схеме, проверялась в течение 30 дней на окнах размерами 70x115 см (в вечернее время) и 120x170 см (в дневное). При открывании форточки (в данном случае Р изменяется примерно на 30 дБ) извещатель всегда подавал сигнал "Тревога". За время проверок ложных срабатываний не зафиксировано.
Таким образом, опыт эксплуатации описанного устройства позволяет говорить о перспективности его применения. Кроме того, оно вполне может быть использовано и для охраны других объектов, например, сейфов.
Печатная плата.
Чертеж возможного варианта печатной платы устройства изображен на рис. На ней размещены все детали, кроме микрофона ВМ1 и динамической головки громкоговорителя ВА1. Плата рассчитана на установку постоянных резисторов МЛТ, подстроечного СПЗ-38д, конденсаторов К50-35 (С8, С9) и КМ (остальные). Резисторы R10, R12 и стабилитрон VD2 монтируют перпендикулярно плате.

ЛИТЕРАТУРА
1. Нилов В. А., Членов А. Н., Шакиров Ф. А. Технические средства охранно-пожарной сигнализации. - М.: НОУ "Такир", 1998.
2. ГОСТ 26342-84. Средства охранной, пожарной и охранно-пожарной сигнализации. Типы, основные параметры и размеры.
3. Шепитько Г. Е. Адаптивные охранные извещатели: Обзорная информация. - М.: ГНИЦУИ, 1985.
Радио 8/2000, с.33-34.