СИМИСТОРНЫЙ РЕГУЛЯТОР ПОВЫШЕННОЙ МОЩНОСТИ


В. СОРОКОУМОВ, г. Сергиев Посад Московской обл.

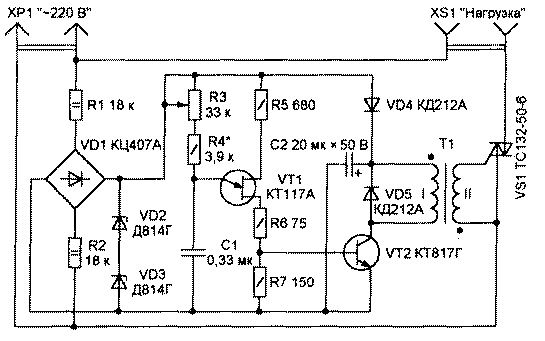
Предлагаю несложный симисторный регулятор, который эксплуатирую уже более года. Его можно применять, например, для управления проточным водонагревателем, мощным коллекторным электродвигателем, сварочным аппаратом, электропечью. Схема регулятора приведена на рис. 1. В качестве силового ключа VS1 использован сими-стор ТС 132-50-6, способный коммутировать нагрузку мощностью до 8 кВт.

pi-r7o-1.gif
Puc.1

Узел управления симистором содержит генератор импульсов на однопереходном транзисторе VT1. С помощью переменного резистора R3 регулируют задержку импульса относительно момента перехода сетевого напряжения через ноль, чем изменяют угол включения симистора и отдаваемую в нагрузку мощность. Транзистор VT2 служит усилителем мощности импульсов, открывающих симистор. Трансформатор Т1 выполнен на кольцевом магнитопрово-де типоразмера К20х12х6 из феррита 2000НМ. Его первичная обмотка (I) содержит 60 витков провода ПЭЛШО 0,1, вторичная (II) - 40 витков провода ПЭЛШО 0,2. Обмотки должны быть надежно заизолированы друг от друга. Изоляция должна быть рассчитана на напряжение не менее 300 В. Узел управления питают от сети через гасящие резисторы R1, R2 и диодный мост VD1. Выпрямленное мостом напряжение стабилизировано стабилитронами VD2 и VD3.

Симистор следует разместить на теплоотводе площадью не менее 300 см2, другие элементы устройства охлаждения не требуют.

Вместо симистора ТС132-50-6 можно установить два тринистора Т132-50-11, соединив их встречно-параллельно, как показано на рис. 2. Трансформатор Т1 в этом случае должен иметь две одинаковые вторичные обмотки.

pi-r7o-2.gif
Puc.2

Так как симисторный (тринистор-ный) регулятор создает радиопомехи, его рекомендуется хорошо экранировать и включать в сеть через фильтр (см. схему на рис. 3). Магнитопровод дросселя L1 - Ш12х15 из феррита 2000НМ. Обмотки содержат по 15...20 витков провода, сечение которого выбирают исходя из мощности нагрузки, а его изоляция должна выдерживать полное сетевое напряжение.

pi-r7o-3.gif
Puc.3

Для наилучшего подавления помех обе обмотки мотают одновременно сложенным вдвое проводом. Конденсаторы С1-СЗ - МБГП или другого типа, рассчитанные на напряжение не менее 400 В.


Радио 7/2000, с.41.