СТАБИЛИЗАТОР 13,8 B/10A


В.РЕЗВЯКОВ, г Кострома, E-mail kmdc@kosnet ru

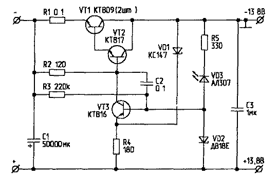
Предлагаемый стабилизатор обеспечивает максимальный ток нагрузки до 10 А при напряжении пульсаций менее 1 мВ. Его выходное сопротивление порядка 0,01 Ом.

Стабилизатор собран с мостовой схемой в выходной цепи, мост образован резисторами R4, R5, стабилитронами VD1, VD2 и светодиодом VD3. В диагональ моста включен эмиттерный переход транзистора VT3, управляющий составным транзистором VT1, VT2. Составной транзистор включен по схеме с общим эмиттером. Более высокое по сравнению с эмиттерным повторителем выходное сопротивление оконечного каскада компенсируется в этой схеме тем, что выходной каскад имеет высокий коэффициент усиления по напряжению. В результате заметно повышается коэффициент петлевого усиления схемы стабилизатора.

pit-a00-1.gif

Так как напряжение на базе управляющего транзистора VT3 по отношению к плюсовому проводу оказывается стабилизированным изменения выходного напряжения передаются на эмиттерный переход этого транзистора без ослабления делителем.

Максимальный ток нагрузки задается резистором R4. Ток базы транзистора VT2 не может превысить значение тока, протекающего через резистор R4. Следовательно, подбором этого резистора можно установить требуемый ток защиты. Стабилизатор защищен и от коротких замыканий в цепи нагрузки. Ток короткого замыкания зависит от значения запускающего тока через резистор R2. Этот резистор подбирается при минимальном сопротивлении нагрузки по устойчивому запуску стабилизатора. Такая система обеспечивает надежный запуск стабилизатора и практически не ухудшает параметры, поскольку в рабочем режиме ток через резистор R2 замыкается через малое сопротивление открытого стабилитрона VD2.

Выходное сопротивление стабилизатора определяется дифференциальным сопротивлением стабилитрона VD1, деленным на произведение коэффициентов усиления транзисторов VT1, VT2, VT3.

Минимальное падение напряжения на транзисторе VT1 равно напряжению насыщения коллектор-эмиттер этого транзистора (0,1 0,5В - в зависимости от тока нагрузки). Напряжение на выходе стабилизатора определяется суммарным напряжением стабилизации стабилитронов VD1 и VD2 минус падение напряжения на эммитерном переходе транзистора VT3.

Температурные изменения напряжения на светодиоде VD3 и стабилитроне VD1 компенсируются изменением напряжения на эмиттерном переходе транзистора VT3 ТКН стабилизатора в целом - на уровне -0,1 мВ/°С.

Чтобы снизить зависимость порога срабатывания защиты и тока короткого замыкания от температуры, радиатор регулирующих транзисторов выбирают с запасом по эффективной площади теплового рассеяния (не менее 1000 см2).


Радиолюбитель 10/2000