МИНИАТЮРНЫЙ СИМИСТОРНЫЙ РЕГУЛЯТОР НАПРЯЖЕНИЯ


Д. ТУРЧИНСКИЙ, г. Москва

Выпускаемые в настоящее время микросхемы тринисторных и симисторных фазоимпульсных регуляторов действующего значения напряжения позволяют создавать компактные и удобные устройства. Наиболее предпочтительны для этих целей симис-торные микросхемы, поскольку диодный мост в тринисторных регуляторах рассеивает значительную мощность, что для компактных конструкций крайне нежелательно из-за ограниченных возможностей охлаждения.

В предлагаемой статье описан малогабаритный регулятор напряжения, выполненный на симисторной микросхеме.

Это устройство собрано на специализированной микросхеме ГРН-1-220, которая представляет собой симисторный фазоимпульсный регулятор напряжения. Его можно разместить непосредственно в сетевой вилке нагрузки, например паяльника. Правда, на практике удобнее пользоваться устройством в виде вилки-переходника с розеткой для подключения нагрузки.

Основные параметры микросхемы

Предельно допустимое напряжение
амплитудное значение), В   ................ .400
Номинальное напряжение сети, В............. .220
Ток нагрузки, не более, А  ........ .2
Интервал регулирования эффективного напряжения, % .... .0...97
Мощность нагрузки, Вт
	микросхема без теплоотвода........ .250
	микросхема  установлена на теплоотвод ...... .400
Интервал рабочих температур, °С  ....... .-40...+70
С учетом ограниченных условий охлаждения в малогабаритной конструкции мощность нагрузки предлагаемого устройства не должна превышать 100Вт.

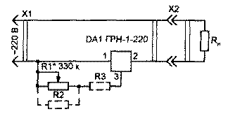
Регулятор выполнен по типовой схеме завода-изготовителя, которая приведена на рис.1. При указанном на схеме сопротивлении переменного резистора R1 обеспечивается паспортный интервал регулирования напряжения.

pit-r6o-1.gif
Puc.1

Из опыта практической работы известно, что в большинстве случаев для паяльников оптимальное рабочее напряжение - около 150...160 В. Поэтому целесообразно ограничить пределы изменения напряжения примерно от 100 до 200.. .210 В с тем, чтобы сделать регулировку напряжения более плавной. Кроме того, могут возникнуть сложности с приобретением переменного резистора нужного номинала. Решить эти вопросы возможно путем установки дополнительных резисторов, которые показаны на рис.1 штриховой линией. Если интервал регулирования окажется больше требуемого, следует установить дополнительный резистор R2, сопротивление которого подбирают при налаживании, а если меньше - резистор R3.

Подборку целесообразно выполнить до монтажа устройства. Следует напомнить, что проводить измерения лучше вольтметром электромагнитной или тепловой системы, поскольку только они измеряют действующее значение напряжения. В крайнем случае настройку можно провести, используя в качестве индикатора обычную лампу накаливания.

Переменный резистор R1 - СП-0,4, СПЗ-9а или другой малогабаритный. Он должен быть обязательно с линейной характеристикой регулирования (группа А). Заметим, что при подключении дополнительного параллельного резистора R2 линейность регулирования несколько нарушается, но существенного значения это не имеет. Дополнительные резисторы также должны быть малогабаритными, например МЛТ-0,125.

Для установки в вилку микросхему нужно несколько доработать с учетом особенностей ее конструкции: микросхема собрана на подложке из тонкого стеклотекстолита. Ее выводы - продолжение токопроводящих дорожек, при изгибе они легко ломаются и обращаться с ними необходимо очень аккуратно. С целью усиления конструкции изогнутые выводы микросхемы припаивают к печатной плате из одностороннего фольгированного стеклотекстолита толщиной 0,5...0,8 мм, чертеж которой приведен на рис.2. Плату целесообразно приклеить к основанию микросхемы с помощью клея-расплава.

pit-r6o-2.gif
Puc.2

Основа конструкции - сетевая вилка с "заземлением". Для размещения деталей регулятора ее придется несколько доработать: просверлить в крышке отверстия для установки двухполюсной розетки, удалить "лишнюю" пластмассу в корпусе и на крышке вилки. По окончании монтажа переменный резистор "утапливают" в корпус и заливают клеем-расплавом.


Радио 6/2000, с.43.