РЕГУЛЯТОР МОЩНОСТИ


С. ЗОРИН, г. Знаменск Астраханской обл.

Используя сравнительно дешевые мощные полевые транзисторы с изолированным затвором (МДП - транзисторы), можно изготовить неплохое устройство для регулирования мощности ламп накаливания, паяльников и другой аппаратуры. Главное отличие предлагаемой в этой статье конструкции от ранее описанных на страницах журнала "Радио" - малое потребление тока по цепям управления, более плавная регулировка мощности особенно на начальном участке регулировочной характеристики.

pit-r8o-1.gif
Puc.1

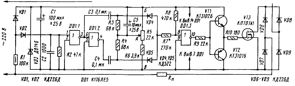
Принципиальная схема устройства приведена на рис. 1. На элементе DD1.1 собран формирователь прямоугольных импульсов, по форме близких к "меандру". Фронты и спады этих импульсов совпадают по времени с моментами перехода сетевого напряжения через нуль. Импульсы поступают на дифференцирующую цепочку C3R3 и инвертор DD1.2. Пройдя через инвертор, они попадают далее на цепочку C4R4. Диоды VD4, VD5 образуют элемент ИЛИ для продифференцированных импульсов, поступающих через делитель R7R8 на вход (вывод 8) элемента DD1.3, работающего как компаратор. Конденсатор С5 обеспечивает плавность регулирования напряжения, что особенно важно для ламп накаливания.

При перемещении движка резистора R5 (рис. 2) меняется напряжение в точке А, а значит, и скважность импульсов на выходе (вывод 10) элемента DD1.3. Причем при увеличении этого напряжения скважность растет вплоть до полного пропадания импульсов и установления на выходе элемента DD1.3 уровня лог. О в верхнем по схеме положении движка резистора R5, что соответствует выключенной нагрузке. При снижении напряжения в точке А скважность импульсов уменьшается до полного их слияния и установления на выходе элемента DD1.3 уровня лог. 1. Это происходит в нижнем положении движка резистора R5 и соответствует полностью включенной нагрузке.

Входная емкость мощных полевых транзисторов имеет значительную величину. Для быстрой перезарядки этой емкости, а значит, и быстрого переключения транзистора требуются большие токи. По этой причине сигнал подают на затвор транзистора VT3 через усилитель тока, выполненный на транзисторах VT1, VT2. Транзистор VT3 открывается при напряжении сети, близком к нулю, а закрывается при напряжении, определенном положением движка резистора R5.

pit-r8o-2.gif
Puc.2

В регуляторе мощности использованы постоянные резисторы МЛТ-0,125, переменный СП-1; оксидные конденсаторы - К50-35, остальные - КМ-6. Диоды КД226Д (VD1, VD2 и VD6-VD9) можно заменить на любые с обратным напряжением не менее 400 В и максимальным постоянным прямым током не менее 1 А. Стабилитрон Д814Б (VD3) заменим другим с напряжением стабилизации 9 В. Замена микросхемы К176ЛЕ5 (DD1) на другие, например серии К561, нежелательна. Дело в том, что при напряжениях на входе, отличных от уровней 0 и 1, в КМОП-микросхемах

возникают сквозные токи [1 ] и, как показали измерения, даже в статическом режиме при входных напряжениях, близких к пороговым, они могут потреблять ток от сотен микроампер (для микросхем серии К176) и до десятков миллиампер (для микросхем серии К561). При увеличении напряжения питания потребляемый ток резко возрастает. Выяснилось также что, если на одном из входов микросхемы напряжение соответствует пороговому, а на других - О или 1, потребляемый ток примерно на 20 % меньше, чем в случае, если бы на всех входах присутствовало пороговое напряжение. С учетом этого обстоятельства незадействованные входы должны быть соединены с общим проводом.

Вместо микросхемы К176ЛЕ5 можно использовать К176ЛА7, но ее входы (выводы 2, 5, 9) через резисторы 10 кОм необходимо соединить с выводом 14. Транзисторы КТ3102Б, КТ3107Б (VT1, VT2) заменимы любыми маломощными, соответствующей структуры. Мощный полевой транзистор с изолированным затвором и каналом n-типа КП707А1 можно заменить на используемый в телевизионных блоках питания КП707В2 [2, 3]. Хорошие результаты получаются с транзисторами BUZ90, так как их входная емкость почти на порядок ниже, чем у КП707А1.

Конструкция регулятора может быть любой. Необходимо только, чтобы длина соединительных проводников была минимальной. Транзистор VT3 устанавливают на дюралюминиевом теплоотво-де площадью 24 см2. Свободные входы элемента DD1.4 (выводы 12 и 13) соединены с выводом 14 DD1.

Для настройки регулятора потребуется осциллограф с входным сопротивлением не менее 1 МОм. Начинают ее с включения устройства без нагрузки. При перемещении движка резистора R5 на выводе 10 элемента DD1.3 должно наблюдаться изменение скважности импульсов. Затем проверяют напряжение на стабилитроне VD3 во всех положениях движка R5 и, если оно падает ниже 7 В, уменьшают сопротивление резистора R1. Далее вместо нагрузки подключают резистор МЛТ-1 сопротивлением 100...300 кОм и уточняют пределы регулировки мощности. Для этого движок резистора R5 устанавливают в верхнее по схеме положение и подбором резистора R7 находят минимальное его значение, при котором на выводе 10 элемента DD1.3 отсутствуют импульсы, а напряжение будет соответствовать уровню лог. 0. Затем движок резистора R5 перемещают в нижнее положение и подбирают максимально возможное сопротивление резистора R6, при котором на выводе 10 элемента DD1.3 напряжение будет соответствовать уровню лог. 1.

После этого проверяют работу устройства в разных положениях движка резистора R5, контролируя форму сигнала на нагрузке. В случае самовозбуждения устройства его устраняют подбором емкости конденсатора С2. Следует отметить, что в крайних положениях движка резистора R5 возможна небольшая несимметричность напряжения на нагрузке. Уменьшить ее можно подбором конденсаторов СЗ, С4 и резисторов R3, R4.

При необходимости подключения более мощной нагрузки диоды VD6- VD9 заменяют на более мощные и увеличивают площадь теплоотвода транзистора VT3. Возможен и вариант параллельного включения нескольких полевых транзисторов.

На основе рассмотренного регулятора можно изготовить устройство плавного включения-выключения ламп накаливания. Для этого убирают резисторы R5, R6, между точками А и Б устанавливают два последовательно соединенных резистора сопротивлением 47 кОм. Между точкой соединения этих резисторов и точкой В устанавливают выключатель. Конденсатор С5 заменяют на другой емкостью 47 мкФ и рабочее напряжение 25 В. Усилитель тока (VT1, VT2 и R10) допустимо исключить, а сопротивление резистора R9 уменьшить до 12 кОм.

Устройство удобно установить вблизи распределительной коробки. Параллельно выключателю можно установить исполнительную цепь оптрона, на светодиодную часть которого подают сигналы с внешнего программного устройства, например, описанного в [4]. Оно, в отсутствие хозяев квартиры будет включать свет на некоторое время в темное время суток, отпугивая тем самым незваных "гостей".

При настройке регулятора необходимо соблюдать особую осторожность, поскольку устройство не имеет гальванической развязки от сети.

ЛИТЕРАТУРА

1. Зельдин Е. А. Цифровые интегральные микросхемы в информационно-измерительной аппаратуре. - Л.: Энергоатомиздат. Ленинградское отделение, 1986.
2. Петухов В. М. Полевые и высокочастотные биполярные транзисторы средней и большой мощности и их зарубежные аналоги. Справочник. Т. 3 - М.: КубК-а, 1997.
3. Перельман Б. Л. Полупроводниковые приборы. Справочник. - Солон, Микротех, 1996.
4. Виноградов Ю. Автомат "вечерний свет". - Радио, 1994, № 11, с. 28-30.


Радио 8/2000, с.42-43.