DSB ТРАНСИВЕР


"CQ - ham radio" (1991, August, p. 312 - 317)

Перед радиолюбителями, получившими разрешение на постройку радиостанции четвертой категории, неизбежно встает вопрос об изготовлении несложного KB трансивера, который обеспечивал бы работу телефоном на диапазоне 160 метров. В любительской радиосвязи на коротких волнах при работе телефоном подавляющее большинство радиостанций использует однополосную модуляцию (SSB). Однако из-за отсутствия опыта изготовление SSB трансивера может оказаться не под силу начинающим коротковолновикам. Вот почему для радиостанций четвертой категории разрешено использование и амплитудной модуляции (AM). Приемная и передающая техника для этого вида модуляции заметно проще, но и возможности AM радиостанций заметно ниже. По сравнению с SSB радиостанциями они имеют меньшую "дальнобойность", худшую помехоустойчивость. Более того, наличие в AM сигнале несущей частоты не только снижает энергетику радиостанции (при питании от сети это не очень существенно), но в современном переполненном эфире неизбежно приводит к появлению специфических помех - мощных интерференционных "свистов". Они возникают из-за биений между несущими AM радиостанций, работающих на соседних частотах.

Решением проблемы "SSB пока сложно - AM плохо" может быть изготовление DSB трансивера как первого шага в освоении однополосной модуляции. От амплитудной модуляции DSB (Double Side Band - двухполосная модуляция) отличается отсутствием несущей, которая, кстати, вопреки своему названию на самом деле никакой информации до корреспондента не несет. А от SSB она отличается в два раза большей полосой излучаемого сигнала - у DSB сигнала полоса такая же, как и у AM. На рис. 1 приведены спектры AM, DSB и SSB сигналов (сверху вниз). Несущая в DSB и SSB сигналах обычно подавлена не менее чем на 40 дБ. При таком уровне ее подавления практически исключены помехи из-за интерференции между остатками несущих радиостанций, работающих на соседних частотах.

rst-boo-1.jpgPuc.1

По существу DSB трансивер - это упрощенный SSB трансивер, в котором отсутствует самый дорогостоящий и сложный в изготовлении и налаживании элемент (кварцевый или электромеханический фильтр). Более того, отсутствие фильтра дает возможность дополнительно упростить трансивер, перейдя к "нулевой промежуточной частоте" (прямое преобразование частоты).

Описание именно такого несложного однодиапазонного DSB трансивера было опубликовано в японском радиолюбительском "CQ - ham radio" (1991, August, p. 312 - 317). Этот трансивер был изготовлен автором на диапазон 15 метров, но без каких-либо проблем его можно повторить и на любой другой любительский KB диапазон.

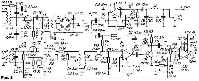
Принципиальная схема основного блока трансивера показана на рис.2. В режиме приема (подано напряжение питания на шину"+ 12 В RX", а шина "+12 В ТХ" соединена с общим проводом) сигнал с антенны поступает на усилитель радиочастоты на полевом транзисторе VT2. Для обеспечения устойчивой работы усилительного каскада на радиочастотах цепь стока транзистора подключена к части витков катушки индуктивности L5. Диод VD1 в режиме приема открыт током стока транзистора VT2 и на работу этого каскада не влияет. В режиме передачи он будет практически закрыт, что исключит возможное влияние элементов приемного тракта на работу передающей части трансивера (в частности, снизит опасность самовозбуждения из-за паразитной связи через антенный коммутатор).

rst-boo-2.jpgPuc.2

Сигнал с УРЧ поступает на балансный смесительный детектор на диодах VD2 - VD5. На него же подается и высокочастотное напряжение от гетеродина (VFO). Балансировку смесителя осуществляют подстроечным резистором R12 и подстроечным конденсатором С12. Для работы на прием точная балансировка смесительного детектора, вообще-то говоря, не очень существенна, на когда этот же смеситель работает на передачу, она весьма существенна. Именно этими подстро-ечными элементами добиваются хорошего подавления несущей частоты в излучаемом сигнале. Продетектиро-ванный сигнал поступает через развязывающий аттенюатор (резисторы R9 - R11) и фильтр нижних частот (C14L7C15L8C16) с частотой среза около 2 кГц на предварительный усилитель звуковой частоты на полевом транзисторе VT3. Напряжение смещения для него задают резисторы аттенюатора, поскольку по постоянному току они включены в цепь истока этого транзистора. Дальнейшее усиление сигнала звуковой частоты осуществляют каскады на операционном усилителе DA1, транзисторе VT4 и микросхеме DA3. Каких-либо особенностей эти каскады не имеют.

Детектор, собранный по схеме с удвоением напряжения на диодах VD6 и VD7, обеспечивает напряжение АРУ. Оно подается в цепь затвора транзистора VT2. Микроамперметр РА1 индицирует изменение режима этого транзистора под воздействием напряжения АРУ, т. е. выполняет функции индикатора относительного уровня сигнала (S-метр). В отсутствие сигнала подстроечным резистором R8 стрелку микроамперметра устанавливают на нулевое деление (SO).

В режиме передачи (подано напряжение питания на шину "+12 В ТХ", а шина "+12 В RX" соединена с общим проводом) сигнал с микрофона через регулятор уровня на переменном резисторе R23 и фильтр низких частот (C32L9C33) поступает на микрофонный усилитель на операционном усилителе DA2. Назначение этого ФНЧ -исключить самовозбуждение транси-вера в режиме передачи из-за прохождения на вход микрофонного усилителя высокочастотных наводок на кабель микрофона. Пройдя через общие для трактов приема и передачи узлы (ФНЧ - C14L7C15L8C16, аттенюатор - R9 - R11), сигнал с микрофонного усилителя поступает на еще один общий узел - смеситель на диодах VD2 - VD5. Сформированный в нем DSB сигнал поступает на УРЧ передающего тракта, который собран на транзисторе VT1 и идентичен УРЧ приемного тракта, а с него - на усилитель мощности.

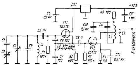
Схема гетеродина приведена на рис. 3. Он состоит из задающего генератора на транзисторе VT1 и буферного усилительного каскада на транзисторе VT2. Задающий генератор выполнен по хорошо известной схеме "емкостная трехточка", а буферный каскад идентичен каскадам УРЧ основного узла (см. рис. 2). Напряжение питания задающего генератора +5 В стабилизировано микросхемой DA1.

rst-boo-3.jpgPuc.3

При повторении конструкции транзисторы VT1-VT2 в основном узле и в узле гетеродина можно заменить на КПЗОЗЕ. Для повышения чувствительности приемного тракта транси-вера автор использовал транзистор VT3 с малыми собственными шумами (возможная замена - КП303А-В). Однако на диапазоне 160 метров здесь можно применить и транзистор с ненормированными шумами (тот же КП303Е). Наличие в приемном тракте УРЧ и высокий уровень эфирных шумов на этом диапазоне снижают требования к шумовым характеристикам УЗЧ. У микросхем DA1 и DA2 есть полный аналог отечественного производства - К140УД7, но здесь можно применить и многие другие операционные усилители общего назначения. Транзистор VT4 может быть практически любым малой мощности и структуры n-p-п, начиная с КТ315, со статическим коэффициентом передачи тока не менее 50. Микросхема DA3 не имеет аналога отечественного производства, но это самый обычный УЗЧ, поэтому этот каскад можно заменить на любой УЗЧ (например, на К174УН7 в типовом включении). Диоды VD1 - VD6 - любые высокочастотные кремниевые (КД503 и им подобные).

Индуктивность катушек ФНЧ основного узла L7 и L8 - 3 мГн, что при указанных на схеме номиналах конденсаторов С14-С16 обеспечивает частоту среза фильтра около 2 кГц. Индуктивность катушки L9 ФНЧ микрофонного усилителя - 390 мкГн, но использование здесь катушек с индуктивностью, отличающейся от указанной в полтора-два раза в ту или другую сторону, не скажется на работоспособности аппарата. Это же относится и к дросселю L2 в узле гетеродина. Индуктивности катушек L2, L4, L5 (основной узел) и L1, L3 (узел гетеродина), а также емкости подключенных параллельно им конденсаторов зависят от того, на какой диапазон будет изготавливаться трансивер. Катушки связи должны иметь примерно в десять раз меньше витков, чем связанные с ними катушки колебательных контуров.

Конденсаторы С34 и С21 служат для ограничения полосы пропускания УЗЧ в приемном тракте и микрофонного усилителя в передающем. Их емкость может лежать в пределах 200...500 пФ. В принципе эти конденсаторы можно и не устанавливать.

Интегральный стабилизатор DA1 в узле гетеродина можно заменить на аналогичные изделия из серии К142 или на самый обычный - со стабилитроном.


Радио 10/2000, с.62-63.