ТРАНСИВЕР "HDK-97"


Виталий ГЛАДКОВ (RW4HDK)

В предлагаемой конструкции использовано немало узлов из других аппаратов, описания которых публиковались в радиолюбительской литературе. Такой подход позволил автору этой статьи создать относительно несложный многодиапазонный трансивер с неплохими техническими характеристиками.

Трансивер "HDK-97" предназначен для проведения CW и SSB связей на любительских диапазонах 10, 15, 20, 40, 80 и 160 метров. При его разработке ставилась задача создания технологичного и легко повторяемого аппарата с использованием уже известной (лучшей по мнению автора) радиолюбительской схемотехники. Были изготовлены несколько экземпляров трансиверов с такими техническими характеристиками:

- чувствительность при соотношении сигнал/шум 10 дБ не хуже 0,2 мкВ;

- двухсигнальная избирательность при расстройке 15 кГц не менее 80 дБ;

- динамический диапазон по интермодуляции не хуже 90 дБ;

- уход частоты ГПД на диапазоне 10 метров не более 150 Гц в час;

- диапазон регулировки АРУ при изменении выходного напряжения на 6 дБ не менее 90 дБ;

- выходная мощность передающего тракта не менее 25 Вт.

Трансивер выполнен по схеме с одним преобразованием частоты и состоит из 14 функционально законченных блоков. Основа аппарата - блок А1 (рис. 1). Это малосигнальный реверсивный приемо-передающий тракт, описание которого было опубликовано в [1 ]. Он был подвергнут некоторым доработкам. Не вдаваясь в подробности, отметим лишь, что в схему введены дополнения, которые позволили существенно улучшить работу тракта.

rst-r8o-1.gif
rst-r8o-3.gif

В цепь управления каскадом на транзисторе VT1, например, введено реле К1. Своими контактами в режиме передачи оно отключает виток связи трансформатора Т1 от цепи эмиттера транзистора, предотвращая самовозбуждение каскада.

Автоматическая регулировка усиления осуществлена по промежуточной частоте, а не по низкой, как было в первоисточнике. В истоковую цепь резонансного усилителя ПЧ на транзисторе VT3 включен каскад управления АРУ на транзисторе VT4. При отсутствии сигнала (в режиме приема) на вывод 3 блока А1 поступает напряжение около +3,5 В из блока А5 (АРУ). Транзистор VT4 открыт и УПЧ имеет максимальное усиление. С появлением сигнала, напряжение АРУ уменьшается с +3,5 В до нуля, транзистор VT4 закрывается и, соответственно, падает усиление каскада на транзисторе VT3. Сопротивление нагрузки кварцевого фильтра ZQ1 (определяется резистором R12) при этом не меняется, т. к. коллектор VT4 соединен по высокой частоте с общим проводом через конденсатор С13.

Второй смеситель на T5VD20- VD23T6 дополнен подстроенным резистором R16, что позволило сбалансировать смеситель и полностью избавиться от несущей.

Улучшена развязка второго смесителя с каскадами УЗЧ. На частоте ПЧ он постоянно нагружен на 50 Ом через конденсатор С24, а цепочка L10C25 предотвращает его разбалансировку последующими каскадами.

Предварительный УЗЧ выполнен на двух транзисторах - VT5 и VT6. Он имеет большое усиление при малом уровне собственных шумов.

Заменена микросхемы DA1 (УНЧ) К174УН4 на К174УН7 позволила снять проблему самовозбуждения усилителя и упростить этот узел (пропала необходимость в стабилизаторе +9 В).

Применение в микрофонном усилителе вместо транзисторов микросхемы К140УД6 (DA2), упростило налаживание этого каскада.

Тракт дополнен устройством самоконтроля в режиме передачи (T7VD16-VD19), который заимствован без изменений из [2].

На рис. 2 показана схема кварцевого фильтра. Он выполнен по лестничной схеме на импортных резонаторах, применяемых в ТВ-декодерах. При хорошей повторяемости фильтр практически не требует настройки.

rst-r8o-2.gif
Puc.2
Основные его характеристики следующие:

- полоса пропускания по уровню -6 дБ 2,7 кГц;

- неравномерность в полосе пропускания не более 1 дБ;

- коэффициент пря-моугольности не хуже 1.8;

- входное и выходное сопротивление 170 Ом.

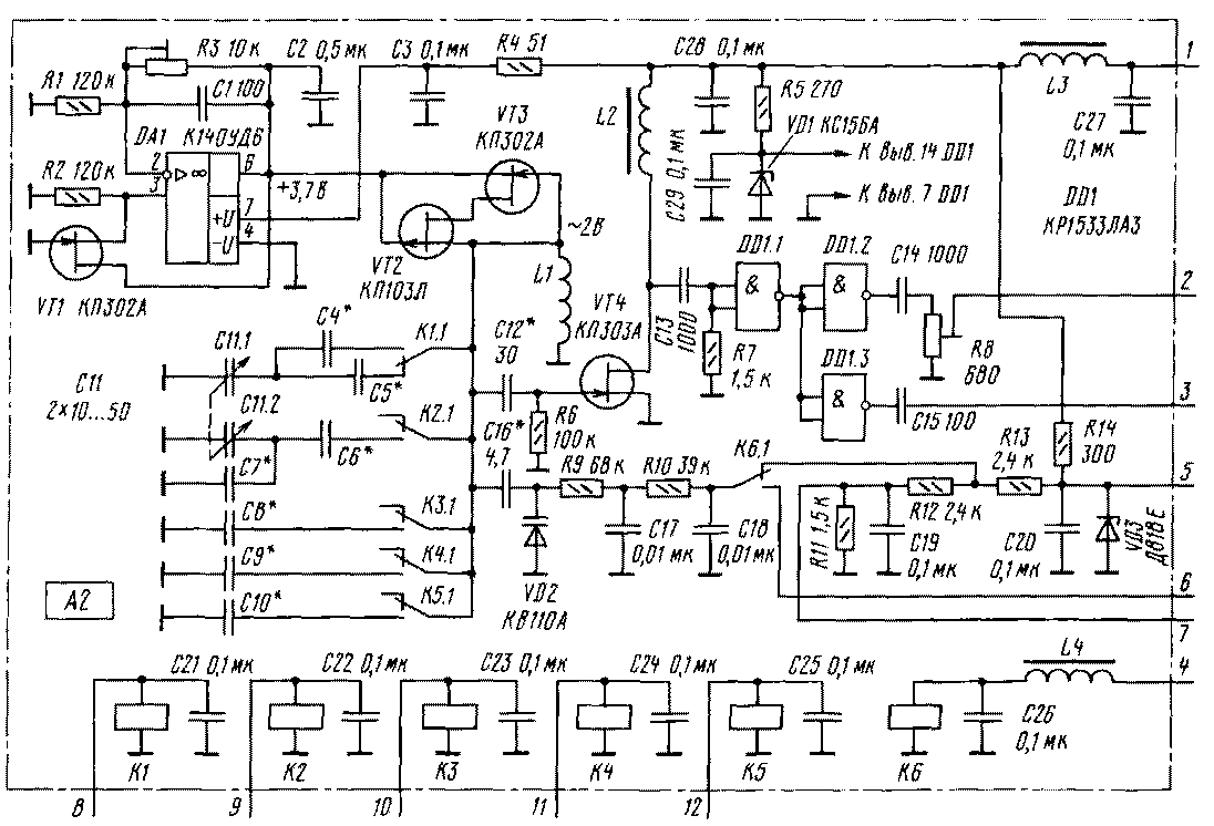
Схема ГПД (А2) показана на рис. 3. Задающий генератор выполнен на аналоге лямбда-диода, который собран на транзисторах VT2 и VT3. Устройства данного типа обладают высоким КПД, хорошей температурной стабильностью, относительно большой и, главное, стабильной амплитудой выходного сигнала. Питается задающий генератор от стабилизатора на элементах VT1 и DA1. Транзистор VT4 - широкополосный буфер-усилитель. Микросхема DD1 позволяет получить одинаковое по амплитуде ВЧ напряжение на выходе генератора во всем диапазоне частот.

rst-r8o-4.gif
Рис. 3

Генератор перестраивается сдвоенным КПЕ С11 параллельно которому контактами реле К1 - К5 подключаются дополнительные конденсаторы. В табл. 1 приведены частоты, которые перекрывает ГПД при работе на разных диапазонах, и позиционные обозначения соответствующих им элементов.

Таблица 1.

rst-r8o-5.gif

Реле К5 и конденсатор С10 введены на тот случай, если при повторении конструкции возникнет желание ввести дополнительный диапазон. На варикапе VD2 выполнена цепь расстройки, которая включается контактами реле К6.

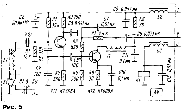
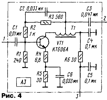
На рис. 4 приведена схема усилителя сигнала ГПД (блок A3). Это широкополосный усилитель с отрицательной обратной связью. Такие усилители обладают низким уровнем шумов, малой неравномерностью АЧХ, слабо зависящими от частоты входным и выходным сопротивлением (близки к 50 Ом) и сравнительно большим динамическим диапазоном [3].

rst-r8o-6.gif

Опорный генератор А4 выполнен по схеме емкостной трехточки с кварцевой стабилизацией частоты. Его схема - на рис. 5. Подстройкой индуктивности катушки L1, включенной последовательно с кварцевым резонатором ZQ1, можно понизить частоту генератора. Подключение конденсатора С1 повышает его частоту. Так осуществляется инверсия рабочей боковой полосы.

rst-r8o-7.gif

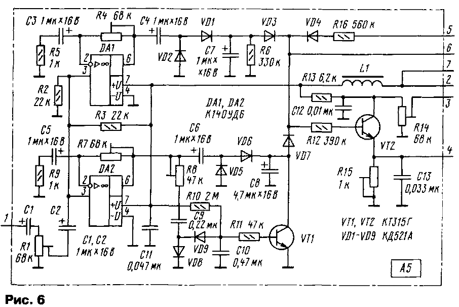
Усилитель АРУ (блок А5) двухканальный. Микросхема DA1 и диоды VD1 и VD2 (рис. 6) отслеживают сигналы с уровнем более 9 баллов, a DA2 и VD5VD6 - сигналы с уровнем от 3 до 9 баллов. Узел на транзисторе VT1 позволяет регулировать время разряда конденсатора С8 и избежать "хлопания" АРУ.

rst-r8o-8.gif

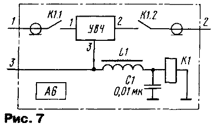
Блок А6 - УВЧ приемного тракта. Его схема индентична схеме усилителя ГПД и поэтому показана на рис.7 в виде отключаемого модуля.

rst-r8o-9.gif

Блок А7 - диапазонные полосовые фильтры работающие как на прием, так и на передачу. Схема и конструкция блока полностью заимствованы из [4]. Изменены лишь конструктивные и намоточные данные контуров, о чем будет рассказано немного позже.

В блок А8 (рис. 8) входит антенный коммутатор (прием/передача), отключаемый аттенюатор приемного тракта и предварительные каскады передатчика. В режиме приема сигнал из антенны через нормально замкнутые контакты реле К1 поступает на контакты реле К2 аттенюатора, который собран на резисторах R1-R3. При необходимости аттенюатор включают подачей напряжения на обмотку реле К2. Далее сигнал через нормально замкнутые контакты реле КЗ поступает в блок А7. В режиме передачи сигнал из блока А7 через контакты реле КЗ поступает на широкополосный усилитель, выполненный на транзисторах VT1- VT3. Цепочки R4R6C2 и R21C15 корректируют частотную характеристику усилителя.

rst-r8o-10.gif

Схема усилителя мощности А9 (рис. 9) практически без изменений заимствована из [5].

rst-r8o-11.gif

ЛИТЕРАТУРА

1. Белоусов Ю. Основная плата КВ-трансивера. - Радиолюбитель, 1992, № 11, с. 36-37.
2. Мясников Н. Одноплатный универсальный тракт. - Радио, 1990, № 8, с. 27-31; № 9, с. 25-27.
3. Рад Э.Т. Схемотехника радиоприемников. - М.: Мир, 1989.
4. Дроздов В. В. Любительский KB трансивер. - М.: Радио и связь, 1988.
5. Браган Г. Трансивер "Yes-93". - KB журнал, 1994, № 3, с. 19-26; № 4, с. 28-36; № 5, с. 28-42.

(Окончание следует)


Радио 8/2000, с.64-66.