НОВЫЕ АНТЕННЫЕ УСИЛИТЕЛИ


А. Пахомов, канд. техн. наук, г. Зерноград Ростовской обл.

Об антенных усилителях SWA для польских малогабаритных телевизионных антенн автор уже рассказывал на страницах журнала. За прошедшее время на российском рынке появилось много новых моделей. Для ознакомления читателей с их характеристиками и схемотехникой мы и публикуем эту статью.

В 90-х годах в связи с расширением сети эфирного телевещания и увеличением числа действующих каналов резко возрос интерес пользователей к многоканальным телевизионным антеннам, способным без каких-нибудь переключений принимать все программы в диапазонах MB и ДМВ. С середины десятилетия на рынок стали поступать польские малогабаритные телевизионные антенны ASP-4WA, ASP-8WA (CX-8WA) фирм ANPREL, DIPOL, ELECTRONICS и др., удовлетворяющие (в той или иной степени) требованиям такого приема. Антенны быстро завоевали популярность, и сейчас в эксплуатации находится довольно большое их количество.

Индивидуальные телевизионные антенны ASP-4WA, ASP-8WA представляют собой плоские вибраторные конструкции с общим сетчатым экраном-рефлектором. Они активны, т. е. снабжены электронными усилителями, установленными непосредственно на антеннах и питающимися по фидеру снижения. Многие характеристики антенн, | такие, в частности, как коэффициент усиления и полоса пропускания, получены благодаря использованию именно антенных усилителей. Следовательно, от параметров последних во многом зависит качество воспроизводимого телевизионного изображения.

Для активных антенн ASP разные производители выпускают целую гамму унифицированных антенных усилителей под различными торговыми марками и номерами. Конструктивно все они оформлены одинаково: в виде небольшой печатной платы (примерно 60x40 мм) с поверхностным монтажом микроэлементов. Платы изготовлены по автоматизированной технологии SMD и вполне надежны, благодаря многократному контролю. Из-за характерного конструктивного исполнения эти антенные усилители называют пластинчатыми.

О схемотехнике, параметрах, недостатках и ремонте большого числа антенных усилителей SWA подробно рассказано в [1]. Однако фирмы, выпускающие такие усилители, совершенствуют свою продукцию, и в настоящее время появилось много новых моделей: SWA, S&A, GPS, РАЕ и др. Их параметры, несомненно, представляют большой практический интерес как для владельцев, уже эксплуатирующих антенны и желающих улучшить качество изображения, так и для тех, кто решил купить новую антенну. Кроме того, усилители могут работать и с другими типами антенн, например, логопериодическими, волновой канал и т. п. (при условии согласования входных сопротивлений).

Антенные усилители имеют ряд характерных параметров, которые условно можно разделить на две группы: общие и индивидуальные. К общим относятся: входное и выходное сопротивления (300 и 75 Ом соответственно), напряжение питания (9...15 В при номинальном 12 В), рабочий интервал частот-каналов (1-68 телеканалы, за редким исключением). Благодаря общим параметрам обеспечивается взаимозаменяемость усилителей.

Однако для оценки качества усилителя важны также индивидуальные параметры, отличающие один усилитель от другого, в частности, шумовые и усилительные. Информация о них не всегда доступна, хотя в последнее время ее стали частично помещать в торговой документации к антеннам. Полностью же она указана в фирменных каталогах, приобрести которые затруднительно даже у фирм, торгующих антеннами оптом.

С целью правильного выбора антенного усилителя обязательно нужно знать два его индивидуальных параметра: коэффициент шума Кш и приведённый коэффициент усиления Ку. Весьма желательно также представлять и вид его АЧХ.

Первостепенное значение при выборе усилителя имеет коэффициент шума: он должен быть как можно меньше и непременно ниже, чем у входного каскада телевизора [1]. Современный антенный усилитель должен иметь коэффициент шума не более 2 дБ.

Второй параметр (коэффициент усиления) рассчитывают по методике, описанной в [1], исходя из потерь сигнала в кабеле и пассивных развет-вителях (если они есть). Выбирают антенный усилитель по ближайшему к расчетному значению коэффициента Ку. Его увеличение сверх расчетного дает эффект при одновременном снижении уровня шума, иначе только повышается опасность самовозбуждения и перегрузки усилителя мощными сигналами от близко расположенных станций.

Необходимо учитывать также зависимость коэффициента Ку от частоты, которая определяется реальной АЧХ усилителей. Каждый из них имеет свой характерный вид АЧХ. Так, усилители SWA и РАЕ имеют один плавный максимум (горб) на частоте примерно 600 МГц (подъем усиления достигает 6...10 дБ). У усилителей S&A и РА характеристика двугорбая: второй подъем усиления на 3...5 дБ расположен на частоте примерно 100 МГц, т. е. на MB. Вид АЧХ позволяет выбрать усилитель в зависимости от условий приема с целью улучшения устойчивости и помехозащищенности за счет снижения усиления на нерабочих участках диапазона. Указанный в документации коэффициент усиления, как правило, относится к диапазону ДМВ; на частотах MB он может быть существенно ниже.

Большинство новых усилителей собрано по традиционной двухкаскадной схеме ОЭ-ОЭ. Рассмотрим схемотехнику, параметры и АЧХ некоторых новых моделей усилителей различных марок.

tv-r6o-1.gif
Puc.1
Усилитель SWA-555, принципиальная схема которого изображена на рис. 1, представляет собой двухкаскадный апериодический усилитель ВЧ на биполярных микротранзисторах Т67 (BFG-67) или BFR-91A. Первый каскад - широкополосный, без коррекции. Во втором каскаде имеется коррекция: конденсатор С5 в цепи токовой ООС транзистора VT2 обеспечивает спад АЧХ на нижних частотах рабочего диапазона [1], а конденсатор С4 в цепи ООС по напряжению ограничивает усиление на верхних частотах и за пределами рабочей полосы. АЧХ усилителя показана на рис. 2.

В целом схемы усилителей SWA-555 и SWA-9 практически полностью совпадают (у первого лишь отсутствует LC-фильтр в цепи питания и изменены некоторые номиналы пассивных элементов). Поэтому и АЧХ усилителей близки. Однако при использовании в первом каскаде малошумящего транзистора BFR-91A (Кш=1,6 дБ) усилитель SWA-555 имеет меньший коэффициент шума.

tv-r6o-2.gif
Puc.2

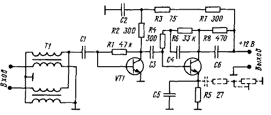
У усилителей S&A более сложные цепи частотной коррекции в обоих каскадах. В моделях S&A-130, S&A-140, принципиальная схема которых представлена на рис. 3, в цепь ООС по напряжению каскада на транзисторе VT1 введен последовательный контур L1C2. Его резонансную частоту выбирают такой, чтобы усиление первого каскада уменьшалось на верхних частотах диапазона, что способствует устойчивости усилителя. Для расширения полосы коррекции добротность контура L1C2 уменьшена резисторами R1, R3, которые обеспечивают необходимый постоянный ток базы транзистора VT1.

tv-r6o-3.gif
Puc.3

Второй каскад снабжен двойными RC-цепями R6, R7, С6 и R7, С4, С5 в эмиттерной цепи транзистора VT2, изменяющими АЧХ в низкочастотной области. В результате характеристика усилителей получается двугорбой, как изображено на рис. 4. Подъем усиления на частоте 100 МГц достигает 3...4 дБ. Провал между горбами приходится на частоты 230...400 МГц, не используемые эфирными каналами телевидения. Такая форма АЧХ улучшает устойчивость и помехозащищенность усилителя.

tv-r6o-4.gif
Puc.4

Из других особенностей усилителей S&A следует отметить применение на входе диода грозозащиты VD1. Эффективность его не очень высока, поэтому антенну рекомендуется заземлять.

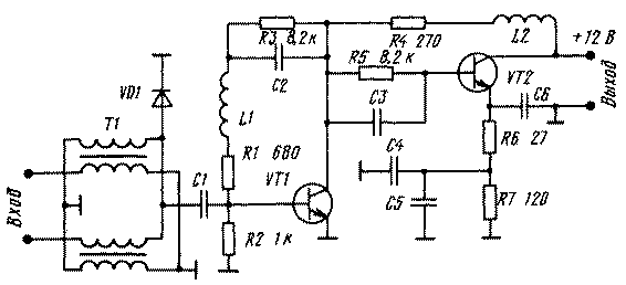
В усилителях РАЕ, как и в S&A, применена LC-коррекция в обоих каскадах. В усилителе РАЕ-45, принципиальная схема которого показана на рис. 5, она обеспечивается двумя последовательными контурами L1C3 и L2C5, включенными в цепях ООС по напряжению первого и второго каскадов соответственно.

tv-r6o-5.gif
Puc.5

Кроме того, влияют на формирование АЧХ и конденсаторы С2, С8. В результате горб на АЧХ этого усилителя получается более острым, с резким спадом на частотах свыше 700 МГц, что видно на рис. 6.

tv-r6o-6.gif
Puc.6
Усилители РА подробно рассматривать нет смысла, поскольку они аналогичны усилителям S&A, за исключением применения на входе вместо диода VD1 катушки. Вид АЧХ усилителей РА и S&A примерно одинаков.

Модели GPS подобны усилителям SWA-455, SWA-555 и отличаются только номиналами корректирующих элементов во втором каскаде. За счет увеличения емкости блокирующего конденсатора в эмиттерной цепи второго транзистора достигнуто повышенное усиление на участке частот 100...400 МГц.

В некоторых новых моделях усилителей к эмиттеру второго транзистора подключена дополнительная цепь из последовательно соединенных подст-роечного и постоянного резисторов и конденсатора (на рис. 1 показаны штриховой линией). Подстроечным резистором в этом случае можно изменять усиление в области нижних частот диапазона и, следовательно, АЧХ усилителя. К сожалению, ценность такого регулятора коррекции невелика, поскольку усилитель при поднятой антенне труднодоступен.

Проведенный анализ схемотехники и АЧХ, разумеется, не полон, так как, кроме корректирующих цепей, на АЧХ влияют взаимное расположение деталей, емкость монтажа, наличие полос-ковых линий и т. д. Тем не менее он, по мнению автора, достаточен для правильного выбора усилителя по виду АЧХ, а в ряде случаев и для самостоятельной подстройки путем подбора корректирующих элементов.

Из анализа вытекают следующие практические рекомендации. Реальный вид АЧХ усилителей SWA и РАЕ таков, что их лучше применять в основном для приема удаленных станций диапазона ДМВ, на котором усилители имеют максимальное усиление. За счет пониженного усиления в области MB такие усилители (особенно РАЕ) более устойчивы и лучше защищены от помех на этих частотах.

Для приема слабых сигналов MB предпочтение следует отдать усилителям S&A, РА и GPS, имеющим повышенное усиление на MB. Это особенно важно, учитывая, что у малогабаритных антенн ASP очень мало собственное усиление на MB диапазоне: на частоте 50 МГц оно, например, у антенны ASP-8WA не превышает 1 дБ [2].

Основные параметры новых моделей SWA, S&A, PA, GPS, РАЕ (рабочий частотный интервал f, коэффициент шума Кш и коэффициент усиления Ку), взятые из сети Интернет [2], а также фирменных каталогов, представлены в помещаемой здесь таблице.

tv-r6o-7.gif

При расхождении сведений в нее внесены худшие значения. Очевидно, что у некоторых новых моделей достигнуто некоторое снижение шума (до 1,5 дБ), однако по-прежнему встречаются и довольно "шумящие" усилители с Кш, равным 3...3.9 дБ (SWA-31, SWA-32, S&A-110, S&A-120, РА-10), которые применять не рекомендуется.

Фирмам-производителям пока не удалось добиться существенного улучшения шумовых характеристик у большинства усилителей. Лучшие прежние модели SWA-7, SWA-9 имели коэффициент Kш=1,7 дБ [1]. Он и остался примерно таким же у новых усилителей или снижен незначительно, за исключением моделей SWA-47(AST), SWA-49(AST). Это объясняется прежде всего тем, что схемотехника и применяемые транзисторы не изменились: во входных каскадах используют те же СВЧ транзисторы Т67, V3, 415 с предельной частотой 7,5 ГГц и коэффициентом шума до 3 дБ [2] и лишь изредка - менее "шумящий" BFR-91A.

Следует отметить влияние на характеристики усилителей не только типа первого транзистора, но и режима работы. От его коллекторного тока зависят уровень собственных шумов, коэффициент усиления и значение активной составляющей входной проводимости, влияющей на степень согласования по входу.

В большинстве антенных усилителей транзистор VT1 работает при коллекторном токе IК=8...12 мА. Это позволяет получить довольно высокий коэффициент усиления и хорошее согласование с входным трансформатором Т1, но не оптимально для обеспечения малого уровня собственных шумов. Хотя зависимости Kш=f(lк) используемых микрочипов неизвестны, но, как правило, для биполярных кремниевых транзисторов СВЧ минимальный уровень шума наблюдается при коллекторном токе 2...5 мА [3]. Следовательно, существует вероятность того, что при уменьшении коллекторного тока транзистора VT1 можно снизить уровень шума при сохранении хорошего согласования на входе. Косвенно это подтверждается тем, что у усилителей РАЕ (только у них) ток первого транзистора уменьшен до 4...5 мА, за счет чего при таких же транзисторах достигнуто существенное уменьшение уровня шума: по информации из сети Интернет коэффициент Кш у этих усилителей достигает 0.8...1 дБ.

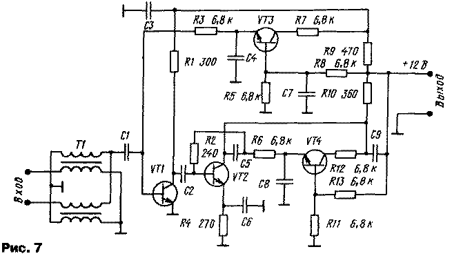
Как отмечено в [1], многие антенные усилители SWA с большим коэффициентом усиления склонны к самовозбуждению. Это объясняется тем, что обеспечить устойчивость двухкас-кадного апериодического усилителя ВЧ, собранного по схеме ОЭ-ОЭ, в полосе частот до 900 МГц довольно сложно. Казалось бы, дальнейшее увеличение числа каскадов не имеет смысла, поскольку добиться устойчивости в этом случае практически невозможно. Тем не менее на рынке появились усилители, собранные на четырех транзисторах. Заинтересовавшись этим фактом, автор приобрел усилитель SWA-2000/4T. Его принципиальная схема, составленная по печатной плате, представлена на рис. 7.

tv-r6o-8.gif

Анализ схемотехники этого усилителя показал, что он собран по обычной схеме на двух транзисторах VT1 и VT2, включенных с ОЭ. Входной сигнал поступает на базу транзистора VT1, усиливается в двухкаскадном тракте и снимается с коллектора транзистора VT2, поступая через переходный конденсатор С9 в коаксиальный кабель. Дополнительные же транзисторы VT3 и VT4 входят в активные цепи, задающие напряжение смещения на базах транзисторов VT1 и VT2. Так как транзисторы VT3, VT4 не усиливают полезный сигнал, для этой цели используют низкочастотные и дешевые чипы 3F.

Очевидно, что при таком построении характеристики усилителя SWA-2000/4T не могут сколь-нибудь существенно превосходить параметры двухкаскадных усилителей с аналогичной коррекцией (SWA-7, SWA-9, SWA-555 и др.), что и подтвердили сравнительные испытания.

Резюмируя, приходим к следующим выводам. Во-первых, многие из новых усилителей повторяют схемотехнику и соответственно характеристики старых моделей. При этом солидный номер новой разработки вовсе не свидетельствует о более высоком ее качестве. Например, усилитель SWA-555 по параметрам и схемотехнике представляет собой тот же усилитель SWA-9. Это же касается и усилителей, собранных на четырех транзисторах.

Во-вторых, среди новых усилителей встречаются модели с действительно улучшенными характеристиками, что предполагает и возможность повышения качества приема. По шумовым параметрам лучшими можно признать усилители SWA-47 (AST), SWA-49 (AST), а также, судя по сведениям в Интернет, усилители типа РАЕ.

В-третьих, замена антенного усилителя приведет к положительному эффекту только в случае применения новой модели с меньшим уровнем шума, расчетным значением коэффициента усиления и подходящей АЧХ.

В заключение скажем, что модели антенных усилителей фирмы-производители разрабатывают довольно быстро и не исключено, что к моменту выхода в свет журнала с этой статьей, наверно, появятся и новые, усовершенствованные усилители. В любом случае критерии определения их качества и рекомендации по выбору, рассмотренные здесь и в [1], не изменяются.

ЛИТЕРАТУРА

1. Пахомов А. Антенные усилители SWA. - Радио, 1999, № 1,с. 10-12.
2. Нестеренко И. И., Жужевич А. В. Выбери антенну сам. - М.: Солон, 1998.
3. Полупроводниковые приборы. Транзисторы малой мощности. Справочник (А. А. Зайцев, А. И. Миркин, В. В. Мокряков и др.). Под общей ред. А. В. Голомедова. - М.: Радио и связь, 1989.


Радио 7/2000, с.6-8.