ЧМ приемник на диапазон 430МГц


А. Михельсон (UA6AFL), г. Краснодар
Развитие любительской радиосвязи на УКВ с применением узкополосной ЧМ сдерживается, как отмечалось в [1], в первую очередь отсутствием простых конструкций УКВ ЧМ приемников, передатчиков и трансиверов.

Описываемый приемник благодаря применению в нем детектора с фазовой автоподстройкой частоты (ФАПЧ) [2] сравнительно прост. Аппарат работает в полосе 430...440 МГц. Его чувствительность при соотношении сигнал/шум 10 дБ равна 0,1 мкВ.

Приемник построен на супергетеродинной схеме с одним преобразованием частоты (рис. 1). Гетеродин состоит из генератора G1 с кварцевой стабилизацией частоты, вырабатывающего колебания частотой 45 МГц, утроителей частоты U3, U4, усилителя А4 и полосовых фильтров Z5, Z6.

pr430_1
Pиc.1. Блок-схема приемника.

Колебания частотой 405 МГц с гетеродина подаются на смеситель Ш. Сюда же через входной фильтр Z1 поступают сигналы станций. Преобразованный смесителем U1 спектр промежуточных частот лежит в интервале 25...35 МГц. Полосу пропускания тракта ПЧ (с усилителями A1, A2) определяют фильтры Z2-Z4. Традиционное построение приемника предполагает далее применение второго преобразователя частоты, перестраиваемого второго гетеродина и узкополосного усилителя ПЧ с ЧМ детектором - фактически необходим дополнительный ЧМ приемник. В данном аппарате в качестве узкополосного ЧМ приемника использован приемник прямого преобразования с ФАПЧ U2, выполненный на одном транзисторе [3] и обладающий хорошей чувствительностью и избирательностью.

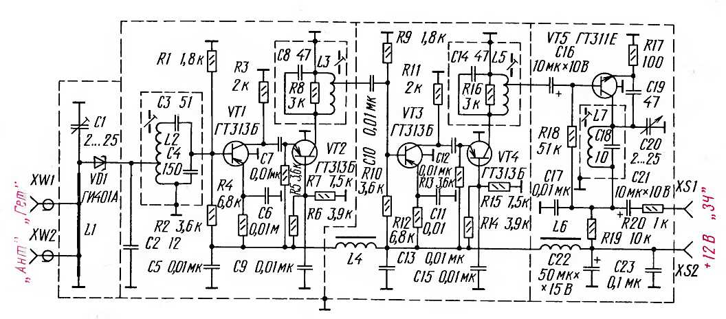
Принципиальная схема сигнального тракта приведена на рис. 2. Смеситель выполнен на туннельном обращенном диоде VD1. Усилитель ПЧ содержит два однотипных каскада усиления, построенных по каскодной схеме на транзисторах VT1, VT2 и VT3, VT4 соответственно. На транзисторе VT5 собран синхронный фазовый детектор, преобразующий промежуточную частоту в звуковую. Преобразование происходит на второй гармонике генерируемых колебаний, так как контур L7C18C20 перестраивается конденсатором С20 в интервале 12,5...17,5 МГц. Избирательность обеспечивается действием ФАПЧ: при приближении частоты гетеродина к половинному значению частоты сигнала принимаемой станции происходит захват этой частоты и синхронное детектирование ЧМ [З]. При этом выходное напряжение 3Ч независимо от уровня входных ЧМ сигналов, что эквивалентно действию АРУ, а также подавляется амплитудная модуляция и импульсные помехи. Полосу 3Ч (примерно 3 кГц) определяет фильтр нижних частот (ФНЧ) R19C17. На выходе приемника можно применить RC или LC ФНЧ более высокого порядка, что дополнительно улучшит соотношение сигнал/шум.

pr430_2
Pиc.2ю=. Схема сигнального тракта.

Применение всего одного транзистора VT5 вместо многокаскадного ЧМ приемника резко снизило общий уровень шумов тракта. Определяющим здесь является то, что база этого транзистора по 3Ч через конденсатор С16 большой емкости (10 мкФ) соединена с общим проводом. Экспериментально установлено, что емкость этого конденсатора определяет работоспособность системы ФАПЧ. Для работы как гетеродина, так и смесителя достаточно, чтобы емкость была всего 10 000 пф. Однако при этом система ФАПЧ практически не работает и резко возрастает уровень 3Ч шумов транзистора VT5.

Выходной звуковой сигнал с уровнем несколько десятков милливольт может быть подан на простой усилитель 3Ч.

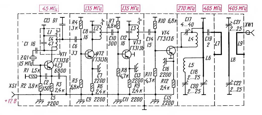
Принципиальная схема гетеродина приемника изображена на рис. 3. Гетеродин выполнен по традиционной схеме умножения частоты задающего генератора, который собран на транзисторе VT1 и работает на частоте 45 МГц - третьей механической гармонике кварцевого резистора ZQ1. Каскад на транзисторе VT2 - утроитель частоты. Его нагрузка - контур L2C8, настроенный на частоту 135 МГц. Каскад на транзисторе VT3 - усилительный. Контур L3C12 выделяет сигнал частотой 135 МГц. Второй утроитель частоты собран на транзисторе VT4. Его нагрузка - контур на элементах L4-L6, С17, С 18, С20 - выделяет сигнал частотой 405 МГц и подавляет побочные продукты умножения частоты. 4ерез цепь связи C19L7 сигнал подается на контур L8C21C22 дополнительно улучшающий фильтрацию спектра выходного сигнала, 4ерез петлю связи L9 колебания частотой 405 МГц поступают на выходной разъем XW1 и далее на смеситель.

pr430_3
Pиc.3. Схема гетеродина.

Конструктивно приемник собран в двух корпусах, изготовленных из посеребренной латуни (меди) и разделенных на секции перегородками. Сигнальный блок выполнен объемно-печатным монтажом на плате. В гетеродине применен объемный монтаж на опорных штырях, изолированных от корпуса фтороплас-товыми втулками. Опорными элементами для цепей питания служат блокировочные конденсаторы С5, С7, С9, С 11, С 13, С15, С16.

Расположение основных элементов в блоках показано на рис. 4. Выводы элементов должны быть как можно короче, катушки L4, L5 и линии L6, L8 в блоке гетеродина припаивают непосредственно к выводам конденсаторов С17, CIS, C20-C22. Чтобы уменьшить размеры СВЧ колебательных систем, во входной цепи сигнального тракта и выходных цепях гетеродина применены спиральные резонаторы, имеющие длину во много раз меньше, чем полосковые линии [4].

pr430_4
Pиc.4. Расположение основных элементов в блоках.

Линия L1 в радиочастотном блоке изготовлена из посеребренной медной полосы шириной 4 и толщиной 1 мм, свернутой в спираль диаметром 6,5 и шагом 2,5 мм. Число витков в спирали - 5, отводы сделаны от 1-го и 4-го витков. Линия L8 блока гетеродина выполнена аналогично, но без отводов. Петли связи L7, L9 сделаны в виде скоб из отрезков посеребренного медного провода диаметром 0,8 и длиной 30 мм (рис. 4). Резонатор L6 представляет собой посеребренную полосу размерами 48Х4Х1 мм. Отводы расположены на растоянии 6,5+9,5+16 мм (считая от конца, соединенного с корпусом).

Катушки L2, L3, L5, L7 в сигнальном блоке намотаны виток к витку проводом ПЭВ-2 0,5; L2 содержит 5+4 витка, L3, L5 - по 6+4, L7 - 12. В гетеродине катушки L2 и L3 имеют 2+1,5 витка, L4 и L5 - по 3 витка. L2 и L3 выполнены с шагом 2 мм посеребренным проводом диаметром 0,8 мм, L4, L5 - с шагом 4 мм посеребренным проводом диаметром 1,2 мм. Эти катушки намотаны на полистироловых каркасах диаметром 6,5 мм от трактов УПЧИ унифицированных телевизоров. Дроссели L4, L6 - ДМ-0,1. Конденсатор С20 сигнального блока изготовлен из подстроечного с воздушным диэлектриком и удлиненной осью; размещен непосредственно около контура L7C18.

Постоянные резисторы - МЛТ. Подстроечные конденсаторы - КПВМ, опорные - КО-2 или любые, подходящие по габаритам, емкостью 1000...6800 пф, остальные - КМ, КД. Конденсаторы С16, С22 в сигнальном блоке - К53-1 или К50-6.

Вместо диода ГИ401А можно применить ГИ401Б, АИ402А с любым буквенным индексом, вместо транзисторов ГТ313Б - КТ3128А, КТ3127А, КТ328Б. Транзистор ГТ31 IE (VT5 в сигнальном блоке) заменим на ГТ311И, КТ306Б, КТ312Б, КТ316А.

Приемник начинают налаживать с сигнального блока. К выходному разъему XW1 присоединяют усилитель 3Ч. Затем подключают источник питания и убеждаются в работе каскада на транзисторе VT5, для чего прикасаются отверткой к эмиттеру транзистора. При исправном транзисторе должен прослушиваться фон переменного тока. Далее к коллектору транзистора VT4 подключают антенну или генератор стандартных сигналов (ГСС) и перестройкой контура C20C18L7 добиваются прием! радиолюбительских станций ил" несущей частоты ГСС в диапазоне 28...30 МГц. При настройке на несущую должен наблюдаться захват и удержание частоты. При необходимости подбирают конденсаторы С18 и С19, Добиваясь устойчивого приема [З]. После этого антенну или ГСС подключают к базе транзистора VT3, а затем к точке соединения элементов VD1 и С2 и проверяют работоспособность тракта ПЧ. Контуры L2C3C4, L3C8R8, L5C14R16 настраивают так, чтобы полоса пропускания тракта ПЧ составляла 25...35 МГц,

Настройку блока гетеродина начинают с кварцевого генератора - должна быть устойчивая генерация на третьей механической гармонике кварцевого резонатора. В остальных каскадах контуры настраивают на частоты, указанные на рис. 3. Затем подключают выход блока гетеродина к смесителю сигнального блока и, подавая на антенный вход с ГСС несущую частоту в диапазоне 430... 440 МГц, перестройкой контура L7C20C18 добиваются приема сигнала. После этого уменьшают уровень сигнала на входе приемника до срыва удержания частоты и, подстраивая контуры L1C1 в сигнальном блоке и L6C20, L8C21C22 в гетеродине, получают надежный захват и удержание частоты сигнала. Эти операции повторяют до тех пор, пока не будет достигнуто минимальное значение входного сигнала, еще обеспечивающее удержание частоты. На этом настройку приемника можно считать законченной.

ЛИТЕРАТУРА:

1. Поляков В. Радиосвязь с ФМ. - Радио, 1986, № 1, с. 24-26.
2. Поляков В. Т. Радиовещательные ЧМ приемники с фазовой автоподстройкой.- М.: Радио и связь, 1983.
3. Захаров А. УKB ЧМ приемники с ФАПЧ.- Радио, 1985, № 12, с. 28-30.
4. Жеребцов И. Введение в технику дециметровых и сантиметровых волн.- Л.: Энергия, 1976.

(Радио 11/89)


[ На главную ] [ Радиоприемники ]